TOP
|
特許
|
意匠
|
商標
特許ウォッチ
Twitter
他の特許を見る
公開番号
2025150396
公報種別
公開特許公報(A)
公開日
2025-10-09
出願番号
2024051247
出願日
2024-03-27
発明の名称
医療機器の管理装置およびその制御方法
出願人
フクダ電子株式会社
代理人
弁理士法人大塚国際特許事務所
主分類
G16H
40/40 20180101AFI20251002BHJP(特定の用途分野に特に適合した情報通信技術)
要約
【課題】管理対象の医療機器に関する管理者へのメッセージ送信に関するこのような従来技術の課題の少なくとも1つを改善することが可能な医療機器の管理装置およびその制御方法を提供すること。
【解決手段】管理装置は、医療機器について、管理者に通知すべき事象が検知されたか否かを判定する。管理装置は、医療機器に関して管理者に通知すべき事象が検知された場合、管理者に第1の通知を送信し、第1の通知を送信した後、管理者が医療機器の情報を確認したことが検出されない場合に、管理者に第2の通知を送信する。また、第2の通知を送信するタイミングが、管理者が管理装置へアクセスした時刻の頻度に基づく。
【選択図】図5A
特許請求の範囲
【請求項1】
医療機器の管理装置であって、
前記医療機器について、管理者に通知すべき事象が検知されたか否かを判定する判定手段と、
前記管理者に対する、前記管理装置による通知の送信を制御する制御手段と、を有し、
前記制御手段は、
前記医療機器に関して前記管理者に通知すべき事象が検知された場合、前記管理者に第1の通知を送信し、
前記第1の通知を送信した後、前記管理者が前記医療機器の情報を確認したことが検出されない場合に、前記管理者に第2の通知を送信する、
ように前記管理装置を制御し、
前記第2の通知を送信するタイミングが、前記管理者が前記管理装置へアクセスした時刻の頻度に基づく、ことを特徴とする管理装置。
続きを表示(約 1,000 文字)
【請求項2】
前記第2の通知が、前記医療機器の情報の確認を前記管理者に促す通知であることを特徴とする請求項1に記載の管理装置。
【請求項3】
前記第2の通知が前記第1の通知と同じ通知であることを特徴とする請求項1に記載の管理装置。
【請求項4】
前記医療機器および前記管理装置と通信可能な中継装置から情報を取得する取得手段をさらに有し、
前記判定手段は、取得された前記情報に基づいて、あるいは直近に前記情報が取得されてから所定期間が経過したいことに基づいて、前記判定を行う、ことを特徴とする請求項1に記載の管理装置。
【請求項5】
前記医療機器が自動体外式除細動器(AED)であり、
前記情報には、前記AEDおよび前記AEDのパッドに関する情報と、前記AEDで実行されたセルフテスト結果に関する情報と、前記中継装置に関する情報との少なくとも1つが含まれることを特徴とする請求項4に記載の管理装置。
【請求項6】
前記情報を取得するタイミングは前記医療機器に応じて異なり、前記第1の通知が送信されるタイミングは前記情報を取得したタイミングによって異なることを特徴とする請求項4に記載の管理装置。
【請求項7】
前記管理者に通知すべき事象のそれぞれは重要度を有し、
前記制御手段は、前記医療機器に関して複数の前記事象が検知された場合、前記重要度が最も高い1つの事象に関して前記第1の通知を前記管理者に送信し、他の事象に関しては前記第2の通知を送信しないように前記管理装置を制御することを特徴とする請求項1に記載の管理装置。
【請求項8】
前記制御手段は、前記医療機器に関する情報を提示する画面を提示したことにより、前記管理者が前記医療機器の情報を確認したと判定することを特徴とする請求項1に記載の管理装置。
【請求項9】
前記制御手段は、前記管理者が前記管理装置にアクセスした時刻の頻度を時間帯ごとに求め、前記頻度が最も高い時間帯に前記第2の通知を送信するように前記管理装置を制御することを特徴とする請求項1に記載の管理装置。
【請求項10】
前記制御手段が、前記頻度が最も高い時間帯が複数存在する場合、最も新しい時刻を含む時間帯に前記第2の通知を送信するように前記管理装置を制御することを特徴とする請求項9に記載の管理装置。
(【請求項11】以降は省略されています)
発明の詳細な説明
【技術分野】
【0001】
本発明は、医療機器の管理装置およびその制御方法に関する。
続きを表示(約 1,600 文字)
【背景技術】
【0002】
遠隔地に設置された医療機器の状態を管理するため、医療機器が定期的に実行するセルフテストの結果や機器情報を通信装置又は中継ユニットを通じて取得する保守センタが知られている(特許文献1)。
【先行技術文献】
【特許文献】
【0003】
特開2011-175566号公報
【発明の概要】
【発明が解決しようとする課題】
【0004】
特許文献1に記載された保守センタは、中継ユニットから受信したAEDのセルフテスト結果が異常を示す場合、直ちにそのAEDの管理者にメッセージを送信する。しかし、AEDがセルフテストを実施する時刻は個々のAEDで異なり得る。そのため、深夜にセルフテストを実施するAEDに関するメッセージは深夜に送信されうる。例えば管理者の就寝中に送信されたメッセージは、管理者が気付かなかったり、メッセージに基づく対応を忘れてしまう恐れがある。
【0005】
また、管理者へのメッセージ送信が必要な事象が複数検知された場合、1つのメッセージに複数の事象についてまとめて記述すると、一部の事象が見落とされる恐れがある。一方で、事象ごとにメッセージを送信すると、管理者が煩雑に感じるほか、重要度の低い事象に関するメッセージに重要度が高い事象に関するメッセージが埋もれてしまい、見過ごされる恐れがある。
【0006】
本発明はその一態様において、管理対象の医療機器に関する管理者へのメッセージ送信に関するこのような従来技術の課題の少なくとも1つを改善することが可能な医療機器の管理装置およびその制御方法を提供する。
【課題を解決するための手段】
【0007】
本発明はその一態様において、医療機器の管理装置であって、医療機器について、管理者に通知すべき事象が検知されたか否かを判定する判定手段と、管理者に対する、管理装置による通知の送信を制御する制御手段と、を有し、制御手段は、医療機器に関して管理者に通知すべき事象が検知された場合、管理者に第1の通知を送信し、第1の通知を送信した後、管理者が医療機器の情報を確認したことが検出されない場合に、管理者に第2の通知を送信する、ように管理装置を制御し、第2の通知を送信するタイミングが、管理者が管理装置へアクセスした時刻の頻度に基づく、ことを特徴とする管理装置を提供する。
【発明の効果】
【0008】
本発明の一態様によれば、管理対象の医療機器に関する管理者へのメッセージ送信に関する従来技術の課題の少なくとも1つを改善することが可能な医療機器の管理装置およびその制御方法を提供できる。
【図面の簡単な説明】
【0009】
実施形態に係る医療機器の管理システムの模式図である。
監視対象の医療機器の一例としてのAEDの機能構成例を示すブロック図である。
実施形態に係る通信装置の機能構成例を示すブロック図である。
実施形態に係る管理装置の機能構成例を示すブロック図である。
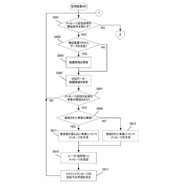
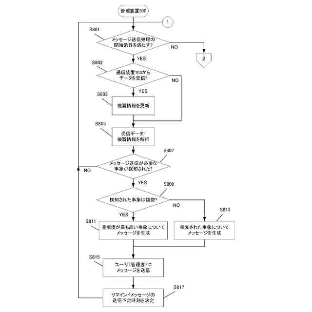
実施形態に係る管理装置の動作に関するフローチャートである。
実施形態に係る管理装置の動作に関するフローチャートである。
実施形態に係る管理装置が生成するメッセージの例を示す図である。
【発明を実施するための形態】
【0010】
以下、添付図面を参照して実施形態を詳しく説明する。なお、以下の実施形態は特許請求の範囲に係る発明を限定するものではなく、また実施形態で説明されている特徴の組み合わせの全てが発明に必須のものとは限らない。実施形態で説明されている複数の特徴のうち二つ以上の特徴は任意に組み合わされてもよい。また、同一若しくは同様の構成には同一の参照番号を付し、重複した説明は省略する。
(【0011】以降は省略されています)
この特許をJ-PlatPat(特許庁公式サイト)で参照する
関連特許
フクダ電子株式会社
除細動パッド
1日前
フクダ電子株式会社
医療機器及びいびき検出方法
1日前
個人
医療のAI化
1か月前
個人
支援システム
4か月前
個人
管理装置
4か月前
個人
対話システム
4か月前
個人
通知ぬいぐるみAIシステム
1か月前
個人
情報システムおよび方法
6か月前
株式会社タカゾノ
薬剤秤量装置
4か月前
エムスリー株式会社
媒体
7か月前
株式会社タカゾノ
薬剤秤量装置
2か月前
株式会社タカゾノ
薬剤秤量装置
2か月前
株式会社タカゾノ
薬剤秤量装置
2か月前
株式会社タカゾノ
薬剤秤量装置
2か月前
株式会社タカゾノ
薬剤秤量装置
2か月前
株式会社リコー
投薬管理システム
1か月前
TOTO株式会社
健康管理システム
2日前
株式会社M-INT
情報処理システム
5か月前
個人
診療の管理装置及び診療システム
2か月前
ゾーン株式会社
コンピュータシステム
5か月前
医療法人社団梅華会
医療の支援装置
8か月前
株式会社サンクスネット
情報提供システム
4か月前
大王製紙株式会社
作業管理システム
6か月前
株式会社CureApp
プログラム
3か月前
富士電機株式会社
食事管理システム
7か月前
株式会社 137
健康観察管理システム
4か月前
株式会社ミラボ
情報処理装置、及びプログラム
2か月前
歯っぴー株式会社
口内状態の画像診断方法
1か月前
合同会社フォース
オンライン診療システム
6か月前
株式会社タカゾノ
薬剤秤量装置及び調剤システム
4か月前
大和ハウス工業株式会社
服薬推定システム
2日前
株式会社JVCケンウッド
表示装置及び表示方法
8か月前
西川株式会社
サービス出力システム
4か月前
株式会社SECRET MEDICINE
管理装置
1か月前
株式会社サンクスネット
健康医療情報管理システム
2か月前
株式会社エフアンドエフ
在宅健康チェックシステム
5か月前
続きを見る
他の特許を見る