TOP
|
特許
|
意匠
|
商標
特許ウォッチ
Twitter
他の特許を見る
公開番号
2025154499
公報種別
公開特許公報(A)
公開日
2025-10-10
出願番号
2024057542
出願日
2024-03-29
発明の名称
除細動パッド
出願人
フクダ電子株式会社
代理人
弁理士法人鷲田国際特許事務所
主分類
A61N
1/04 20060101AFI20251002BHJP(医学または獣医学;衛生学)
要約
【課題】包装体内に収容された状態で通電検査を行うことができ、かつ、除細動実施時に生じるゴミの少ない、除細動パッドを提供すること。
【解決手段】本開示の除細動パッドは、第1及び第2の電極パッドと、表面及び裏面に剥離面が形成されており、表面に第1の電極パッドが貼着されるとともに裏面に第2の電極パッドが貼着される、板状部材と、板状部材に設けられ、板状部材に貼着された第1の電極パッドの導電性ゲルと第2の電極パッドの導電性ゲルとを電気的に接続する導電部材と、を備える。
【選択図】図1
特許請求の範囲
【請求項1】
第1及び第2の電極パッドと、
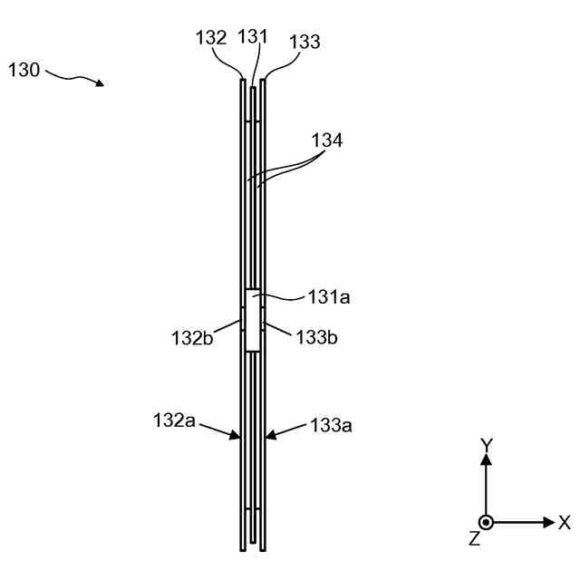
表面及び裏面に剥離面が形成されており、前記表面に前記第1の電極パッドが貼着されるとともに前記裏面に前記第2の電極パッドが貼着される、板状部材と、
前記板状部材に設けられ、前記板状部材に貼着された前記第1の電極パッドの導電性ゲルと前記第2の電極パッドの導電性ゲルとを電気的に接続する導電部材と、
を備える、除細動パッド。
続きを表示(約 620 文字)
【請求項2】
前記板状部材は、
板状の基材と、
前記基材の前記表面側に固着され、露出面が剥離処理されて前記剥離面とされた第1の剥離板と、
前記基材の前記裏面側に固着され、露出面が剥離処理されて前記剥離面とされた第2の剥離板と、
前記第1の剥離板に形成された第1の開口と、
前記第2の剥離板に形成された第2の開口と、
を備え、
前記導電部材は、前記第1の開口の位置における前記第1の電極パッドの導電性ゲルと、前記第2の開口の位置における前記第2の電極パッドの導電性ゲル、とを電気的に接続する、
請求項1に記載の除細動パッド。
【請求項3】
前記導電部材は、少なくとも前記第1の開口及び前記第2の開口を前記基材側から塞ぐように、前記基材の表面を巻回する帯状の部材である、
請求項2に記載の除細動パッド。
【請求項4】
前記導通部材は、導電性カーボンを含む、
請求項1又は2に記載の除細動パッド。
【請求項5】
前記導電部材の抵抗値は、人体の抵抗値の範囲外とされている、
請求項1に記載の除細動パッド。
【請求項6】
前記第1の開口及び前記第2の開口は、それぞれ、前記第1の剥離板及び前記第2の剥離板の面方向におけるほぼ中心位置に形成されている、
請求項2に記載の除細動パッド。
発明の詳細な説明
【技術分野】
【0001】
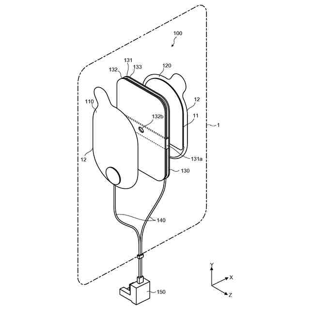
本開示は、体外式除細動を行う際に用いられる除細動パッドに関する。
続きを表示(約 1,600 文字)
【背景技術】
【0002】
従来、心室細動やその他の特定の不整脈(心室頻脈、心房細動、心房粗動及び上室頻拍)が生じている患者に対して電気ショックを与えることにより、心臓の働きを戻す装置として、自動体外式除細動器(AED;Automated External Defibrillator)などの体外式除細動器が広く用いられている。
【0003】
体外式除細動器は、患者の胸部に貼着された一対の電極パッドを介して、患者に電気ショックを与える。また、AEDは、電極パッドを介して取得した患者の心電図に基づいて自動的に患者に電気ショックを与えることもできる。
【0004】
一対の電極パッドを構成する各電極パッドは、シート状の基材、基材上に形成された電極層、電極層に接するように形成された導電性ゲル、及び除細動器と電極層とを接続するリード線などを有する。これにより、除細動器からの除細動電圧がリード線及び電極層を介して導電性ゲルに印加される。この結果、患者の胸部に貼着された導電性ゲルから患者に除細動電圧が印加される。
【0005】
また、使用前の除細動パッドに対して定期的に導通確認を行うことが主流となっている。導通確認により、除細動パッドの断線や乾燥を認識することができる。この導通確認は、例えば1日に1回の頻度で行われる。導通確認は、例えば、除細動器によって除細動パッドに微弱電流を流し、除細動器によってそのときのインピーダンスを測定することで実施し得る。また、導通確認は、例えば、除細動器によってインピーダンス測定用の信号をパッドの通電部に出力することで、パッド間のインピーダンスを測定することでも実施し得る。このような導通確認を行うことにより、実際の除細動を行う際に除細動パッドに不具合があって除細動を行うことができない、といった重大事象を回避できる。
【0006】
ここで、体外式除細動に用いられる除細動パッドの保管方法としては、大きく分けて2つの方法がある。第1の保管方法は、アルミ袋などの包装体に収容された状態で出荷された除細動パッドを、包装体から取り出して体外式除細動器(特にAED)に設けられたケースに収容した状態で保管する方法である。第2の保管方法は、アルミ袋などの包装体に収容した状態で保管する方法である。第2の方法で保管する除細動パッドは、例えば特許文献1に記載されている。
【0007】
上記第1の保管方法では、一対の電極パッドの一部同士がケース内において電気的に接続された状態とされており、これにより、上記定期的な導通確認が可能となっている。上記第2の保管方法では、一対の電極パッドの一部同士が包装体内においてシート状の接続部材によって電気的に接続された状態とされており、これにより、電極パッドを包装体から取り出すこと無しに、上記定期的な導通確認が可能となっている。
【先行技術文献】
【特許文献】
【0008】
特開2016-106914号公報
【発明の概要】
【発明が解決しようとする課題】
【0009】
ところで、上記第1の保管方法は電極パッドを包装体から取り出して保管するので、電極パッドの導電性ゲルの乾燥を防止する点において、上記第2の保管方法よりも劣る欠点がある。
【0010】
一方で、上記第2の保管方法(特許文献1に記載された構成)においては、一対の電極パッドのそれぞれに貼着された合計2枚の剥離シートと、一対の電極パッド同士を電気的に接続するシート状の接続部材を有する。よって、実際の除細動を行う際には、これらを電極パッドから剥す必要があり、その結果、少なくとも一対の電極パッドの2枚分の剥離シートがゴミとして生じる欠点がある。
(【0011】以降は省略されています)
この特許をJ-PlatPat(特許庁公式サイト)で参照する
関連特許
フクダ電子株式会社
医療機器
1日前
フクダ電子株式会社
医療機器
1日前
フクダ電子株式会社
除細動パッド
1日前
フクダ電子株式会社
呼吸支援装置
1日前
フクダ電子株式会社
血圧測定装置
1日前
フクダ電子株式会社
医療機器及びいびき検出方法
1日前
フクダ電子株式会社
医療機器及びいびき検出方法
1日前
フクダ電子株式会社
医療機器およびその制御方法
1日前
個人
健康器具
7か月前
個人
鼾防止用具
7か月前
個人
短下肢装具
2か月前
個人
洗井間専家。
6か月前
個人
脈波測定方法
7か月前
個人
前腕誘導装置
2か月前
個人
脈波測定方法
7か月前
個人
嚥下鍛錬装置
3か月前
個人
白内障治療法
7か月前
個人
胸骨圧迫補助具
1か月前
個人
汚れ防止シート
12日前
個人
歯の修復用材料
3か月前
個人
矯正椅子
4か月前
個人
アイマスク装置
1か月前
個人
ホバーアイロン
6か月前
個人
バッグ式オムツ
3か月前
個人
歯の保護用シール
4か月前
個人
陣痛緩和具
3か月前
個人
車椅子持ち上げ器
7か月前
個人
湿布連続貼り機。
1か月前
個人
哺乳瓶冷まし容器
2か月前
個人
口内洗浄具
7か月前
個人
シャンプー
5か月前
三生医薬株式会社
錠剤
6か月前
個人
エア誘導コルセット
1か月前
個人
性行為補助具
2か月前
株式会社結心
手袋
7か月前
個人
治療用酸化防御装置
1か月前
続きを見る
他の特許を見る