TOP
|
特許
|
意匠
|
商標
特許ウォッチ
Twitter
他の特許を見る
公開番号
2025153883
公報種別
公開特許公報(A)
公開日
2025-10-10
出願番号
2024056577
出願日
2024-03-29
発明の名称
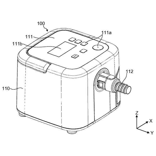
医療機器
出願人
フクダ電子株式会社
代理人
弁理士法人鷲田国際特許事務所
主分類
A61M
16/00 20060101AFI20251002BHJP(医学または獣医学;衛生学)
要約
【課題】良好な放熱を行うことができる医療機器を提供すること。
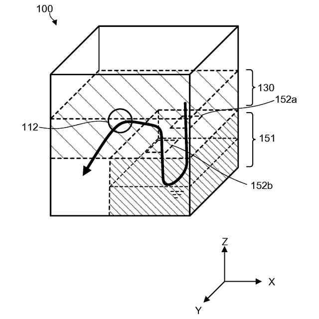
【解決手段】本開示の医療機器は、患者の気道に送り込む空気流を生成する第1の送風機と、空気流の流路が形成された流路ケースと、流路ケースよりも上方に設けられた回路基板と、流路ケースよりも下方に設けられたAC/DCアダプターと、流路ケースよりも下方に設けられ、AC/DCアダプターを冷却する第2の送風機と、第1の送風機、流路ケース、AC/DCアダプター及び第2の送風機を収容する収容ケースと、流路ケースにより隔てられた収容ケースの上部空間と下部空間とを連通する少なくとも2つの開口と、を有する。
【選択図】図7
特許請求の範囲
【請求項1】
患者の気道に送り込む空気流を生成する第1の送風機と、
前記空気流の流路が形成された流路ケースと、
前記流路ケースよりも上方に設けられた回路基板と、
前記流路ケースよりも下方に設けられたAC/DCアダプターと、
前記流路ケースよりも下方に設けられ、前記AC/DCアダプターを冷却する第2の送風機と、
前記第1の送風機、前記流路ケース、前記AC/DCアダプター及び前記第2の送風機を収容する収容ケースと、
前記流路ケースにより隔てられた前記収容ケースの上部空間と下部空間とを連通する少なくとも2つの開口と、
を有する、医療機器。
続きを表示(約 760 文字)
【請求項2】
前記少なくとも2つの開口は、前記収容ケースに、又は、前記収容ケースに沿って形成されている、
請求項1に記載の医療機器。
【請求項3】
前記第2の送風機は、前記AC/DCアダプターに対向する位置に配置されており、
前記少なくとも2つの開口のうち第1の開口は、前記第2の送風機により発生する風に関して前記AC/DCアダプターよりも下流側に形成されている、
請求項1又は2に記載の医療機器。
【請求項4】
前記少なくとも2つの開口のうち第1及び第2の開口は、前記収容ケースのうち、前記回路基板を間に挟んで互いに向かい合う2つの側面の近傍に形成されている、
請求項1に記載の医療機器。
【請求項5】
前記AC/DCアダプターを通過した前記第2の送風機の風が前記少なくとも2つの開口うちの第1の開口を介して前記流路ケースの下方側から上方側に通り抜けるとともに、前記第1の開口及び前記回路基板を通過した前記第2の送風機の風が前記少なくとも2つの開口のうちの第2の開口を介して前記流路ケースの上方側から下方側に通り抜けることで、前記第2の送風機の風が、前記第1の開口及び前記第2の開口を介して、前記流路ケースの前記下部空間と前記上部空間を循環する、
請求項1に記載の医療機器。
【請求項6】
少なくとも長手方向の両端が開口され、前記AC/DCアダプターを囲う金属製のシールド部材を、さらに有し、
開口された前記シールド部材の長手方向の一端側には前記第2の送風機が配置され、開口された他端側に対応する位置には前記2つの開口のうち第1の開口が形成されている、
請求項1又は2に記載の医療機器。
発明の詳細な説明
【技術分野】
【0001】
本開示の技術は、医療機器に関し、例えば睡眠時無呼吸症候群治療装置などの医療機器に関する。
続きを表示(約 1,200 文字)
【背景技術】
【0002】
睡眠時無呼吸症候群(SAS;Sleep Apnea Syndrome)は、睡眠中に呼吸が止まった状態(無呼吸)または呼吸が弱くなった状態(低呼吸)が断続的に繰り返される病気である。睡眠時無呼吸症候群の患者は、十分に睡眠がとれず、日中の眠気、集中力低下、居眠り運転での重大事故などを起こしやすくなる。睡眠時無呼吸症候群の患者のほとんどは、閉塞型睡眠時無呼吸(OSA;Obstructive Sleep Apnea)の症状を有している。閉塞型睡眠時無呼吸は、睡眠中の吸気時に筋緊張が低下し上気道が狭くなることで起こる。
【0003】
このような閉塞型睡眠時無呼吸症の患者に対して、持続的気道陽圧(CPAP;Continuous Positive Airway Pressure)療法が施されることがある。CPAP療法は、患者の気道に空気を送り続けて気道を広げることにより、寝ている間の患者の無呼吸を防ぐ治療方法である。
【0004】
従来、CPAP療法を行う装置は、睡眠時無呼吸症候群治療装置或いはCPAP装置と呼ばれている。本明細書では、CPAP療法を行う装置をCPAP装置と呼ぶことにする。CPAP装置は、特許文献1等に記載されている。
【0005】
CPAP装置は、送風機、流量センサー及び制御部等を有し、患者の気道を広げるのに適した空気流を生成できる構成となっている。また、特許文献1にも記載されているように、CPAP装置としては、水槽を有し、患者に送る空気流を加湿することにより、患者の気道が乾燥することを防止するものもある。
【先行技術文献】
【特許文献】
【0006】
特開2023-071739号公報
【発明の概要】
【発明が解決しようとする課題】
【0007】
ところで、外部電源を用いる電子機器では、AC電源(商用電源)をDC電源に変換するAC/DCアダプター(AC/DCコンバーター或いは電源アダプターと言ってもよい)を介して電源を入力するようになっている。従来、AC/DCアダプターは、装置の外部に電源コードに付随して設けられることが多い。
【0008】
ところで、AC/DCアダプターが装置にあると邪魔であり、スペースも要求される。特に、装置の近くに患者や医療従事者がいることの多い医療機器では、AC/DCアダプターが邪魔となる可能性が高い。
【0009】
そこで、AC/DCアダプターを内蔵することが考えられるが、AC/DCコンバーターは発生する熱量が多いので放熱対策が必要となる。しかし、CPAP装置などの医療機器では、十分な放熱構造を有していない。
【0010】
本開示は、以上の点を考慮してなされたものであり、良好な放熱を行うことができる、医療機器を提供する。
【課題を解決するための手段】
(【0011】以降は省略されています)
この特許をJ-PlatPat(特許庁公式サイト)で参照する
関連特許
フクダ電子株式会社
医療機器
2日前
フクダ電子株式会社
医療機器
2日前
フクダ電子株式会社
除細動パッド
2日前
フクダ電子株式会社
呼吸支援装置
2日前
フクダ電子株式会社
血圧測定装置
2日前
フクダ電子株式会社
推定装置及び推定方法
13日前
フクダ電子株式会社
医療機器及びいびき検出方法
2日前
フクダ電子株式会社
医療機器及びいびき検出方法
2日前
フクダ電子株式会社
医療機器およびその制御方法
2日前
フクダ電子株式会社
コンタクトピン及びコネクタ
2日前
フクダ電子株式会社
コネクタ及びコネクタの組立方法
2日前
フクダ電子株式会社
管理装置、管理方法及びプログラム
3日前
フクダ電子株式会社
医療機器の管理装置およびその制御方法
3日前
個人
健康器具
7か月前
個人
短下肢装具
2か月前
個人
鼾防止用具
7か月前
個人
歯茎みが品
8か月前
個人
導電香
8か月前
個人
洗井間専家。
6か月前
個人
脈波測定方法
8か月前
個人
脈波測定方法
7か月前
個人
嚥下鍛錬装置
3か月前
個人
白内障治療法
7か月前
個人
マッサージ機
8か月前
個人
前腕誘導装置
2か月前
個人
アイマスク装置
1か月前
個人
ホバーアイロン
6か月前
個人
汚れ防止シート
13日前
個人
胸骨圧迫補助具
1か月前
個人
歯の修復用材料
3か月前
個人
バッグ式オムツ
3か月前
個人
矯正椅子
4か月前
個人
車椅子持ち上げ器
7か月前
三生医薬株式会社
錠剤
6か月前
個人
歯の保護用シール
4か月前
個人
湿布連続貼り機。
1か月前
続きを見る
他の特許を見る