TOP
|
特許
|
意匠
|
商標
特許ウォッチ
Twitter
他の特許を見る
10個以上の画像は省略されています。
公開番号
2025152597
公報種別
公開特許公報(A)
公開日
2025-10-10
出願番号
2024054565
出願日
2024-03-28
発明の名称
コネクタ及びコネクタの組立方法
出願人
フクダ電子株式会社
代理人
弁理士法人鷲田国際特許事務所
主分類
H01R
13/6592 20110101AFI20251002BHJP(基本的電気素子)
要約
【課題】シールド機能を有し、製造工数を削減して容易に組み立てることができるコネクタを実現する。
【解決手段】コードの端部の外周面に前記コードのコード側シールド部が配置され、コードの端部から導出する電線に接合する接続端子と、コードの端部を収容し、且つ、接続端子を保持するコネクタ本体と、コネクタ本体を被覆するシールド部と、を有し、シールド部は、コネクタ本体内に突出して弾性変形可能に設けられ、変形により外周面のコード側シールド部を押圧して接触する一対の押圧接触部を有する。
【選択図】図2
特許請求の範囲
【請求項1】
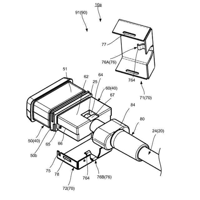
コードの端部の外周面に前記コードのコード側シールド部が配置され、前記コードの端部から導出する電線に接合する接続端子と、
前記コードの端部を収容し、且つ、前記接続端子を保持するコネクタ本体と、
前記コネクタ本体を被覆するシールド部と、
を有し、
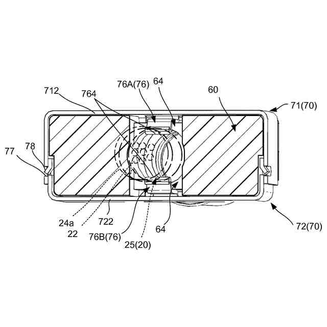
前記シールド部は、前記コネクタ本体内に突出して弾性変形可能に設けられ、変形により前記外周面の前記コード側シールド部を押圧して接触する一対の押圧接触部を有する、
コネクタ。
続きを表示(約 1,000 文字)
【請求項2】
前記一対の押圧接触部は、前記コネクタ本体内に、対向するように突出し、前記コード側シールド部を挟み接触するように設けられている、
請求項1記載のコネクタ。
【請求項3】
前記コネクタ本体は、前記シールド部内に配置され、前記接続端子と前記電線との接合部分及び前記コードの端部を埋設する絶縁部を有し、
前記絶縁部は、前記コード側シールド部を前記絶縁部の外に露出させる開口部を有し、
前記押圧接触部は、前記開口部を介して前記コード側シールド部に当接する、
請求項1記載のコネクタ。
【請求項4】
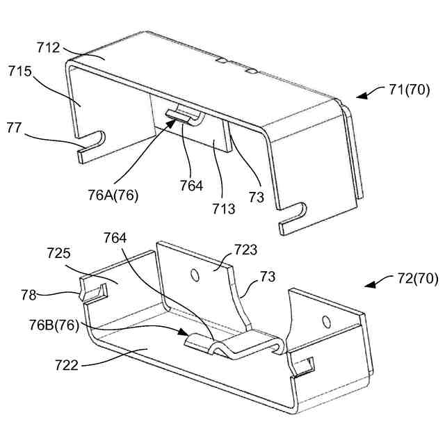
前記シールド部は、対向方向で組み合う第1シールド及び第2シールドの分割体からなり、
前記一対の押圧接触部は、前記第1シールド及び前記第2シールドの夫々に、互いに組み合う方向に突設され、前記第1シールド及び前記第2シールドが組み合わされた状態で前記コード側シールド部を挟持する、
請求項2記載のコネクタ。
【請求項5】
第1シールド及び第2シールドは、夫々組み合った際に互いに係合して、前記一対の押圧接触部が前記コード側シールド部を押圧した状態を保持する係合部及び被係合部を有する、
請求項1記載のコネクタ。
【請求項6】
コードの端部の外周面にコード側のコード側シールド部が配置され、前記コードの端部で導出する芯線と接続端子とを接合部で接合する接合工程と、
ハウジングに前記接続端子を、前記接合部を外部に露出させた状態で固定する固定工程と、
前記接合部及び前記コードの端部を被覆するように樹脂でインサート成形することにより、前記ハウジングに一体に接続して、前記接合部及び前記コードの端部を内蔵し、前記コードの端部の前記コード側シールド部が、開口部を介して外方に露出するようなモールド部を形成する成形工程と、
前記接合部を囲むように前記モールド部をシールド部で被覆するシールド工程と、
を有する組み立て方法であって、
前記シールド工程は、前記シールド部を構成する分割体であって、夫々に前記モールド部側に弾性変形可能に突出する押圧接触部を有する第1シールド及び第2シールドを、前記モールド部を被覆して、夫々の前記押圧接触部を、前記開口部を介して、前記コード側シールド部に接触させるものである、
コネクタの組立方法。
発明の詳細な説明
【技術分野】
【0001】
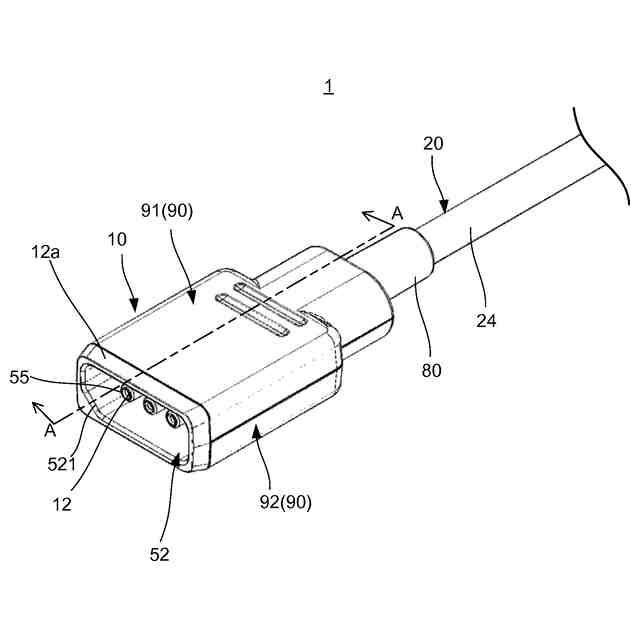
本発明は、コードの端末に取り付けられるコネクタ及びコネクタの組立方法に関する。
続きを表示(約 1,800 文字)
【背景技術】
【0002】
従来、ケーブル端末に取り付けられるコネクタとしては、ケーブル端末の芯線にコネクタ端子が接続されてコネクタハウジング内に配置され、コネクタハウジングに、芯線とコネクタ端子との接続部分を囲むようにシールド部材を設けた構成が知られている。このシールド部材には、ケーブル端末のシールド線が接続される。
【0003】
シールド部材は、例えば、コネクタハウジングの外周に銅箔テープを巻くことで、芯線とコネクタ端子との接続部分を囲むように形成した筒状の銅箔テープ製のシールドシェルが知られている。また、シールド部材としては、特許文献1に示すように、板金をケース状に加工して接続部分を囲む金属シェルとした構成が知られている。
【0004】
特許文献1のシールド部材は、金属シェルに、金属シェルに挿入されるケーブルの延在方向に沿って金属シェルの外方に突設される突出片部を有する。突出片部は、コネクタ内部に挿入されたケーブル端部の外周面で露出するシールド線に、巻き付けた状態にしてカシメて固定する。これにより、シールド部材は金属シェルとケーブルのシールド線とを接続している。
【先行技術文献】
【特許文献】
【0005】
特開2006-286229号公報
【発明の概要】
【発明が解決しようとする課題】
【0006】
ところで、従来のコネクタでは、銅箔テープでシールドシェルを構成する場合等、シェル部分とケーブルのシールド線とを半田付けで接続することが必要となり、その作業には手間がかかる。特に、手作業で接続する場合、熟練の技が必要となり一層手間がかかる。
【0007】
これに対して特許文献1に示す従来のシールド構造では、シェルとケーブルのシールド線との接続は金属シェルの突出片部をケーブルのシールド線にカシメることにより行うため、半田付けによる接続よりも接続は容易であるものの、カシメの作業時間がかかる。このように、特許文献1は、一対のシェル自体の嵌合とともに、突出片部でケーブルをカシメる作業を要するので、より施工工数を減らして、容易に安定したコネクタを組立てる構造が望まれている。
【0008】
本発明はかかる点に鑑みてなされたものであり、容易に組み立てることができるコネクタ及びコネクタの組立方法を提供することを目的とする。
【課題を解決するための手段】
【0009】
本発明のコネクタの一つの態様は、
コードの端部の外周面に前記コードのコード側シールド部が配置され、前記コードの端部から導出する電線に接合する接続端子と、
前記コードの端部を収容し、且つ、前記接続端子を保持するコネクタ本体と、
前記コネクタ本体を被覆するシールド部と、
を有し、
前記シールド部は、前記コネクタ本体内に突出して弾性変形可能に設けられ、変形により前記外周面の前記コード側シールド部を押圧して接触する一対の押圧接触部を有する構成を採る。
【0010】
本発明のコネクタの組立方法の一つの態様は、
コードの端部の外周面にコード側のコード側シールド部が配置され、前記コードの端部で導出する芯線と接続端子とを接合部で接合する接合工程と、
ハウジングに前記接続端子を、前記接合部を外部に露出させた状態で固定する固定工程と、
前記接合部及び前記コードの端部を被覆するように樹脂でインサート成形することにより、前記ハウジングに一体に接続して、前記接合部及び前記コードの端部を内蔵し、前記コードの端部の前記コード側シールド部が、開口部を介して外方に露出するようなモールド部を形成する成形工程と、
前記接合部を囲むように前記モールド部をシールド部で被覆するシールド工程と、
を有する組み立て方法であって、
前記シールド工程は、前記シールド部を構成する分割体であって、夫々に前記モールド部側に弾性変形可能に突出する押圧接触部を有する第1シールド及び第2シールドを、前記モールド部を被覆して、夫々の前記押圧接触部を、前記開口部を介して、前記コード側シールド部に接触させるようにした。
【発明の効果】
(【0011】以降は省略されています)
この特許をJ-PlatPat(特許庁公式サイト)で参照する
関連特許
フクダ電子株式会社
医療機器
6日前
フクダ電子株式会社
医療機器
6日前
フクダ電子株式会社
呼吸支援装置
2日前
フクダ電子株式会社
除細動パッド
6日前
フクダ電子株式会社
呼吸支援装置
6日前
フクダ電子株式会社
血圧測定装置
6日前
フクダ電子株式会社
推定装置及び推定方法
17日前
フクダ電子株式会社
医療機器及びいびき検出方法
6日前
フクダ電子株式会社
医療機器及びいびき検出方法
6日前
フクダ電子株式会社
医療機器およびその制御方法
6日前
フクダ電子株式会社
コンタクトピン及びコネクタ
6日前
フクダ電子株式会社
コネクタ及びコネクタの組立方法
6日前
フクダ電子株式会社
管理装置、管理方法及びプログラム
7日前
フクダ電子株式会社
医療機器の管理装置およびその制御方法
7日前
日本発條株式会社
積層体
17日前
個人
フレキシブル電気化学素子
6日前
株式会社ユーシン
操作装置
6日前
ローム株式会社
半導体装置
8日前
ローム株式会社
半導体装置
15日前
ローム株式会社
半導体装置
13日前
ローム株式会社
半導体装置
15日前
ローム株式会社
半導体装置
15日前
個人
防雪防塵カバー
17日前
日新イオン機器株式会社
イオン源
2日前
株式会社GSユアサ
蓄電設備
6日前
株式会社GSユアサ
蓄電設備
6日前
株式会社GSユアサ
蓄電装置
13日前
株式会社ホロン
冷陰極電子源
13日前
個人
半導体パッケージ用ガラス基板
16日前
太陽誘電株式会社
コイル部品
6日前
株式会社GSユアサ
蓄電装置
17日前
オムロン株式会社
電磁継電器
7日前
太陽誘電株式会社
全固体電池
13日前
ノリタケ株式会社
熱伝導シート
6日前
日本特殊陶業株式会社
保持装置
13日前
トヨタ自動車株式会社
二次電池
17日前
続きを見る
他の特許を見る