TOP
|
特許
|
意匠
|
商標
特許ウォッチ
Twitter
他の特許を見る
公開番号
2025150316
公報種別
公開特許公報(A)
公開日
2025-10-09
出願番号
2024051132
出願日
2024-03-27
発明の名称
車両の制御装置
出願人
三菱自動車工業株式会社
代理人
個人
,
弁理士法人真田特許事務所
主分類
B60L
7/14 20060101AFI20251002BHJP(車両一般)
要約
【課題】回生制動力の低下抑制と、ブレーキ装置のフェードの発生抑制と、ブレーキ装置の過冷却による摩擦制動力の低下抑制と、を図る。
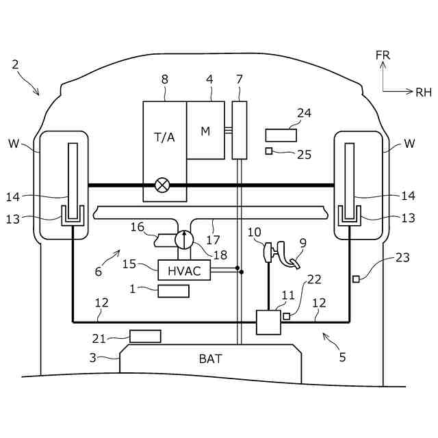
【解決手段】回生発電により車輪Wに回生制動力を付与するモータ装置4と、車輪Wに摩擦制動力を付与するブレーキ装置5と、回生発電で生じた電力を充電するバッテリ3と、ブレーキ装置5を冷却する冷却装置6と、が設けられた車両2の制御装置1は、バッテリ3の受け入れ可能な電力の上限値Pが所定の第一判定閾値Pth以下であるか否かの第一判定を行う第一判定部と、ブレーキ装置5の温度に関係する可変値Qが所定の第二判定閾値Qth以上であるか否かの第二判定を行う第二判定部と、第一判定及び第二判定の双方が成立する場合に、回生発電で生じた電力で冷却装置6を駆動させてブレーキ装置5を冷却する冷却制御を実施する制御部と、を備える。
【選択図】図1
特許請求の範囲
【請求項1】
回生発電により車輪に回生制動力を付与するモータ装置と、前記車輪に摩擦制動力を付与するブレーキ装置と、前記回生発電で生じた電力を充電するバッテリと、が設けられた車両の制御装置であって、
前記車両には、前記ブレーキ装置を冷却する冷却装置が設けられ、
前記バッテリの受け入れ可能な電力の上限値が所定の第一判定閾値以下であるか否かの第一判定を行う第一判定部と、
前記ブレーキ装置の温度に関係する可変値が所定の第二判定閾値以上であるか否かの第二判定を行う第二判定部と、
前記第一判定及び前記第二判定の双方が成立する場合に、前記回生発電で生じた電力で前記冷却装置を駆動させて前記ブレーキ装置を冷却する冷却制御を実施する制御部と、を備える
ことを特徴とする、車両の制御装置。
続きを表示(約 550 文字)
【請求項2】
前記可変値は、前記ブレーキ装置のフルードの油圧が所定の第三判定閾値以上である状態の継続時間である
ことを特徴とする、請求項1に記載の車両の制御装置。
【請求項3】
前記車両には、前記車輪に前記摩擦制動力を付与することで昇温する前記ブレーキ装置の要素の温度を検知する温度センサが設けられ、
前記可変値が、前記要素の温度である
ことを特徴とする、請求項1に記載の車両の制御装置。
【請求項4】
前記制御部は、前記冷却制御の開始後に前記第二判定が非成立となった場合には、当該非成立となった時点から所定時間が経過するまで、前記冷却制御を継続する
ことを特徴とする、請求項1~3のいずれか一項に記載の車両の制御装置。
【請求項5】
前記制御部が、前記冷却制御において、前記ブレーキ装置を断続的に冷却する
ことを特徴とする、請求項1~3のいずれか一項に記載の車両の制御装置。
【請求項6】
前記制御部は、前記車両の走行時における、天候と季節と時間帯との少なくとも一つに基づいて、前記ブレーキ装置の冷却の断続比を設定する
ことを特徴とする、請求項5に記載の車両の制御装置。
発明の詳細な説明
【技術分野】
【0001】
本件は、モータ装置とブレーキ装置とバッテリとを具備する車両の制御装置に関する。
続きを表示(約 1,900 文字)
【背景技術】
【0002】
従来、車載のモータ装置の回生発電に際し、車載のバッテリと電気的に接続される補機を駆動させて、回生発電で生じる回生電力を消費させることで、モータ装置から車輪に付与される回生制動力を確保する技術が知られている。例えば、特許文献1には、バッテリの充電率が所定充電率以上である場合に、冷却装置を駆動させて、機械式のブレーキ装置を冷却する制御装置が開示されている。特許文献1によれば、バッテリの充電率が所定充電率以上である場合に冷却装置を駆動させることで回生制動力を確保できるとともに、冷却装置によってブレーキ装置を冷却することでブレーキ装置のフェードの発生を防止できるとされている。
【先行技術文献】
【特許文献】
【0003】
特開2012-076636号公報
【発明の概要】
【発明が解決しようとする課題】
【0004】
機械式のブレーキ装置は、パッドとロータとの摩擦面の発熱量が増大すると、フェードが発生して、ブレーキの効きが悪くなる。一方で、ブレーキ装置は、その温度が低すぎる場合にも、パッドとロータとの摩擦抵抗が低下して、制動力(摩擦制動力)が低下する可能性がある。特許文献1に開示のような制御装置では、冷却装置によるブレーキ装置の冷却に際して、バッテリの充電状態のみが考慮される。このため、ブレーキ装置の過冷却による摩擦制動力の低下を抑制する点で改善の余地がある。
【0005】
本件の車両の制御装置は、上記のような課題に鑑み創案されたものであり、回生制動力の低下抑制と、ブレーキ装置のフェードの発生抑制と、ブレーキ装置の過冷却による摩擦制動力の低下抑制と、を図ることを目的の一つとする。なお、この目的に限らず、後述する発明を実施するための形態に示す各構成により導かれる作用効果であって、従来の技術によっては得られない作用効果を奏することも本件の他の目的である。
【課題を解決するための手段】
【0006】
開示の車両の制御装置は、以下に開示する態様(適用例)として実現でき、上記の課題の少なくとも一部を解決する。態様2以降の各態様は、いずれもが付加的に適宜選択されうる態様であって、いずれもが省略可能な態様である。態様2以降の各態様は、いずれもが本件にとって必要不可欠な態様や構成を開示するものではない。
【0007】
態様1.開示する車両の制御装置は、回生発電により車輪に回生制動力を付与するモータ装置と、前記車輪に摩擦制動力を付与するブレーキ装置と、前記回生発電で生じた電力を充電するバッテリと、が設けられた車両の制御装置である。前記車両には、前記ブレーキ装置を冷却する冷却装置が設けられる。前記制御装置は、前記バッテリの受け入れ可能な電力の上限値が所定の第一判定閾値以下であるか否かの第一判定を行う第一判定部と、前記ブレーキ装置の温度に関係する可変値が所定の第二判定閾値以上であるか否かの第二判定を行う第二判定部と、前記第一判定及び前記第二判定の双方が成立する場合に、前記回生発電で生じた電力で前記冷却装置を駆動させて前記ブレーキ装置を冷却する冷却制御を実施する制御部と、を備える。
【0008】
態様2.上記の態様1を含む態様において、前記可変値は、前記ブレーキ装置のフルードの油圧が所定の第三判定閾値以上である状態の継続時間であることが好ましい。
態様3.上記の態様1を含む態様において、前記車両には、前記車輪に前記摩擦制動力を付与することで昇温する前記ブレーキ装置の要素の温度を検知する温度センサが設けられることが好ましい。この場合、前記可変値が、前記要素の温度であることが好ましい。
【0009】
態様4.上記の態様1を含む態様において、前記制御部は、前記冷却制御の開始後に前記第二判定が非成立となった場合には、当該非成立となった時点から所定時間が経過するまで、前記冷却制御を継続することが好ましい。
【0010】
態様5.上記の態様1を含む態様において、前記制御部が、前記冷却制御において、前記ブレーキ装置を断続的に冷却することが好ましい。
態様6.上記の態様5を含む態様において、前記制御部は、前記車両の走行時における、天候と季節と時間帯との少なくとも一つに基づいて、前記ブレーキ装置の冷却の断続比を設定することが好ましい。
【発明の効果】
(【0011】以降は省略されています)
この特許をJ-PlatPat(特許庁公式サイト)で参照する
関連特許
個人
前輪キャスター
1か月前
個人
上部一体型自動車
12日前
個人
タイヤ脱落防止構造
1か月前
日本精機株式会社
表示装置
1か月前
個人
マスタシリンダ
19日前
株式会社ニフコ
照明装置
1か月前
日本精機株式会社
車載表示装置
27日前
日本精機株式会社
画像投映装置
8日前
株式会社ニフコ
収納装置
1か月前
日本精機株式会社
車室演出装置
1か月前
日本精機株式会社
車両用投射装置
13日前
日本精機株式会社
車両用表示装置
8日前
株式会社SUBARU
車両
6日前
日本精機株式会社
車両用投影装置
26日前
井関農機株式会社
作業車両
26日前
エムケー精工株式会社
車両処理装置
16日前
ダイハツ工業株式会社
変速機
1か月前
個人
段差通過を容易にする車輪構造
1か月前
ダイハツ工業株式会社
変速機
1か月前
スズキ株式会社
運転支援装置
1か月前
ダイハツ工業株式会社
変速機
1か月前
ダイハツ工業株式会社
変速機
1か月前
個人
自動車の非常ブレーキアシスト
1か月前
日産自動車株式会社
伝動部材
13日前
日本化薬株式会社
ガス発生器
8日前
日本化薬株式会社
ガス発生器
1か月前
日本化薬株式会社
ガス発生器
28日前
日本化薬株式会社
ガス発生器
6日前
エムケー精工株式会社
車両処理装置
1か月前
帝人株式会社
衝撃吸収構造体
1か月前
トヨタ自動車株式会社
制御装置
7日前
株式会社SUBARU
車体構造
21日前
豊田合成株式会社
乗員保護装置
1か月前
トヨタ自動車株式会社
電動車両
1か月前
トヨタ自動車株式会社
制御装置
1か月前
トヨタ自動車株式会社
収容装置
2か月前
続きを見る
他の特許を見る