TOP
|
特許
|
意匠
|
商標
特許ウォッチ
Twitter
他の特許を見る
公開番号
2025149936
公報種別
公開特許公報(A)
公開日
2025-10-08
出願番号
2025047658
出願日
2025-03-24
発明の名称
半導体装置、電力変換装置、及び空気調和装置
出願人
ダイキン工業株式会社
代理人
弁理士法人前田特許事務所
主分類
H02M
7/48 20070101AFI20251001BHJP(電力の発電,変換,配電)
要約
【課題】装置サイズの大型化を抑制しつつ、スイッチング時のリンギングを抑制させる。
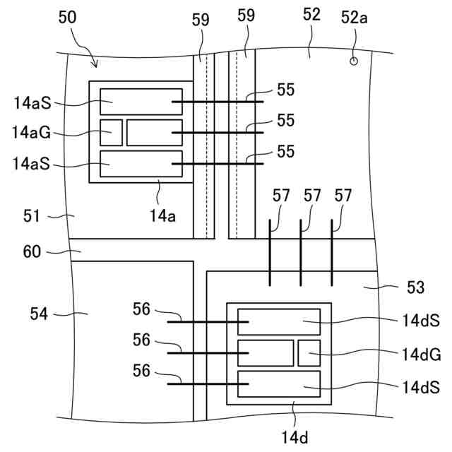
【解決手段】半導体装置(50)は、半導体素子(14a,14b,14c,14d,14e,14f)と、半導体素子(14a,14b,14c,14d,14e,14f)の第1電極と電気的に接続された第1導体パターン(51)と、第1導体パターン(51)と間隔を隔てて隣接配置された第2導体パターン(52)と、半導体素子(14a,14b,14c,14d,14e,14f)の第2電極と第2導体パターン(52)とを電気的に接続する導電体(55)と、を備える。半導体装置(50)は、第1導体パターン(51)と第2導体パターン(52)とが対向する間、または第1導体パターン(51)と第1導電体(55)とが対向する間に、封止材(58)よりも比誘電率が低い抵抗体(59)が配置されている。
【選択図】図4
特許請求の範囲
【請求項1】
半導体素子(14a,14b,14c,14d,14e,14f,214a,214d)と、
前記半導体素子(14a,14b,14c,14d,14e,14f,214a,214d)の第1電極と電気的に接続された第1導体パターン(51,251)と、
前記第1導体パターン(51,251)と間隔を隔てて隣接配置された第2導体パターン(52,252)と、
前記半導体素子(14a,14b,14c,14d,14e,14f,214a,214d)の第2電極と前記第2導体パターン(52,252)とを電気的に接続しかつ前記第1導体パターン(51,251)と対向する導電体(55,255)と、
前記半導体素子(14a,14b,14c,14d,14e,14f,214a,214d)、前記第1導体パターン(51,251)、前記第2導体パターン(52,252)、および前記導電体(55,255)を覆う封止材(58)とを備え、
前記半導体素子(14a,14b,14c,14d,14e,14f,214a,214d)がユニポーラトランジスタである場合は、前記第1電極はドレイン電極およびソース電極の一方であり、前記第2電極はドレイン電極およびソース電極の他方であり、前記半導体素子(14a,14b,14c,14d,14e,14f,214a,214d)がバイポーラトランジスタである場合は、前記第1電極はコレクタ電極およびエミッタ電極の一方であり、前記第2電極はコレクタ電極およびエミッタ電極の他方であり、
前記第1導体パターン(51,251)と前記第2導体パターン(52,252)とが対向する間または前記第1導体パターン(51,251)と前記導電体(55,255)とが対向する間に、前記封止材(58)よりも比誘電率が低い抵抗体(59,259)が配置されている半導体装置。
続きを表示(約 960 文字)
【請求項2】
請求項1に記載の半導体装置において、
前記抵抗体(59,259)は、前記第1導体パターン(51,251)の表面、前記第2導体パターン(52,252)の表面、または前記導電体(55,255)の表面と接触して配置されている半導体装置。
【請求項3】
請求項2に記載の半導体装置において、
前記抵抗体(59,259)は、薄膜形状である半導体装置。
【請求項4】
請求項1に記載の半導体装置において、
前記第1導体パターン(51,251)と前記第2導体パターン(52,252)との間に前記抵抗体(59,259)が配置された場合の、前記第1導体パターン(51,251)と前記第2導体パターン(52,252)との間における、前記抵抗体(59,259)に対向する前記第1導体パターン(51,251)の部分の面積もしくは前記抵抗体(59,259)に対向する前記第2導体パターン(52,252)の部分の面積、または、前記第1導体パターン(51,251)と前記導電体(55,255)との間に前記抵抗体(59,259)が配置された場合の、前記第1導体パターン(51,251)と前記導電体(55,255)との間における、前記抵抗体(59,259)に対向する前記第1導体パターン(51,251)の部分の面積もしくは前記抵抗体(59,259)に対向する前記導電体(55,255)の部分の面積、をS[mm
2
]とし、前記抵抗体(59,259)の抵抗率をρ[Ω・m]としたときに、
ρ/S ≧ 0.01
の式を満たす半導体装置。
【請求項5】
請求項1に記載の半導体装置において、
前記抵抗体(59,259)は、ポリシリコンである半導体装置。
【請求項6】
請求項2に記載の半導体装置において、
前記抵抗体(59,259)の熱伝導率は、前記封止材(58)の熱伝導率よりも高い半導体装置。
【請求項7】
請求項1~6のいずれか1つに記載の半導体装置(50,250)を備えた電力変換装置。
【請求項8】
請求項7に記載の電力変換装置(10)を備えた空気調和装置。
発明の詳細な説明
【技術分野】
【0001】
本開示は、半導体装置、電力変換装置、及び空気調和装置に関する。
続きを表示(約 2,000 文字)
【背景技術】
【0002】
従来から、スイッチング時に発生するリンギングを抑制する構造を備えた半導体装置が知られている。特許文献1に開示された半導体装置は、スナバ回路を用いることでリンギングを抑制している。
【0003】
特許文献1に開示された半導体装置では、スナバ回路を含むスナバ基板は、正極側電力用半導体素子が実装される正極導体パターンと、負極側電力用半導体素子の負極側電極が接続される負極導体パターンと、負極側電力用半導体素子が実装されかつ正極側電力用半導体素子の負極側電極が接続される交流電極パターンとの少なくともいずれか1つ上に重なるように配置される。
【先行技術文献】
【特許文献】
【0004】
特許6513303号公報
【発明の概要】
【発明が解決しようとする課題】
【0005】
しかしながら、特許文献1のようにスナバ回路を有する半導体装置は、スナバ回路を構成する抵抗体とコンデンサとを配置するためのスペースが必要である。スナバ回路を有する半導体装置は、スペースを確保するために、基板の平面方向または面直方向へのサイズの大型化が避けられない。
【0006】
本開示の目的は、装置サイズの大型化を抑制しつつ、スイッチング時のリンギングを抑制させる。
【課題を解決するための手段】
【0007】
第1の態様は、半導体装置を対象とする。半導体素子(14a,14b,14c,14d,14e,14f,214a,214d)と、前記半導体素子(14a,14b,14c,14d,14e,14f,214a,214d)の第1電極と電気的に接続された第1導体パターン(51,251)と、前記第1導体パターン(51,251)と間隔を隔てて隣接配置された第2導体パターン(52,252)と、前記半導体素子(14a,14b,14c,14d,14e,14f,214a,214d)の第2電極と前記第2導体パターン(52,252)とを電気的に接続しかつ前記第1導体パターン(51,251)と対向する導電体(55,255)と、前記半導体素子(14a,14b,14c,14d,14e,14f,214a,214d)、前記第1導体パターン(51,251)、前記第2導体パターン(52,252)、および前記導電体(55,255)を覆う封止材(58)とを備え、前記半導体素子(14a,14b,14c,14d,14e,14f,214a,214d)がユニポーラトランジスタである場合は、前記第1電極はドレイン電極およびソース電極の一方であり、前記第2電極はドレイン電極およびソース電極の他方であり、前記半導体素子(14a,14b,14c,14d,14e,14f,214a,214d)がバイポーラトランジスタである場合は、前記第1電極はコレクタ電極およびエミッタ電極の一方であり、前記第2電極はコレクタ電極およびエミッタ電極の他方であり、前記第1導体パターン(51,251)と前記第2導体パターン(52,252)とが対向する間または前記第1導体パターン(51,251)と前記導電体(55,255)とが対向する間に、前記封止材(58)よりも比誘電率が低い抵抗体(59,259)が配置されている。
【0008】
第1の態様では、抵抗体(59,259)は、第1導体パターン(51,251)と第2導体パターン(52,252)とが対向する間などの、空きスペースに配置されるため、抵抗体(59,259)を配置するためのスペースは別途必要がない。また、抵抗体(59,259)に起因する抵抗により、リンギングのエネルギーが熱エネルギーとして消費されるため、スイッチング時のリンギングが抑制される。したがって、半導体装置(50,250)は、装置の大型化を抑制しつつ、スイッチング時のリンギングを抑制できる。
【0009】
第2の態様は、第1の態様において、前記抵抗体(59,259)は、前記第1導体パターン(51,251)の表面、前記第2導体パターン(52,252)の表面、または前記導電体(55,255)の表面と接触して配置されている。
【0010】
第2の態様では、第1導体パターン(51,251)と第2導体パターン(52,252)との間の距離、または第1導体パターン(51,251)と導電体(55,255)の間の距離を狭くしたとしても、抵抗体(59,259)を容易に配置できる。半導体装置(50,250)は、第1導体パターン(51,251)、第2導体パターン(52,252)、および導電体(55,255)をコンパクトに配置できるため、装置の大型化を抑制しつつ、スイッチング時のリンギングを抑制できる。
(【0011】以降は省略されています)
この特許をJ-PlatPat(特許庁公式サイト)で参照する
関連特許
ダイキン工業株式会社
撥剤
1日前
ダイキン工業株式会社
冷凍装置
1日前
ダイキン工業株式会社
空気調和装置
1日前
ダイキン工業株式会社
空気調和装置
1日前
ダイキン工業株式会社
電力変換装置
1日前
ダイキン工業株式会社
冷媒充填方法
1日前
ダイキン工業株式会社
電力変換装置及び冷凍装置
1日前
ダイキン工業株式会社
空調機のための保守システム
1日前
ダイキン工業株式会社
ノイズ抑制回路、空気調和機
1日前
ダイキン工業株式会社
電力変換システム、空気調和機
1日前
ダイキン工業株式会社
電力変換システム、空気調和機
1日前
ダイキン工業株式会社
紫外線照射装置および空気調和機
1日前
ダイキン工業株式会社
磁気ユニット、圧縮機及び冷凍装置
1日前
ダイキン工業株式会社
冷凍装置、および臭気成分の供給方法
1日前
ダイキン工業株式会社
樹脂組成物、成形体、及び、相溶化剤
1日前
ダイキン工業株式会社
紫外線照射ユニット、及び空気調和装置
1日前
ダイキン工業株式会社
ロータ、回転電機、圧縮機、および、冷凍装置
1日前
ダイキン工業株式会社
正極合剤用結着剤、正極合剤、正極および二次電池
1日前
ダイキン工業株式会社
監視装置、監視システム、監視方法、監視プログラム
1日前
ダイキン工業株式会社
冷媒放出ユニット、冷凍サイクル装置及び冷媒放出方法
1日前
ダイキン工業株式会社
冷媒放出ユニット、冷凍サイクル装置、および冷媒放出方法
1日前
ダイキン工業株式会社
リフレクタ、紫外線照射ユニット、空気調和装置及びリフレクタの製造方法
1日前
株式会社アイシン
ロータ
1日前
株式会社FUJI
制御盤
12日前
オムロン株式会社
電源回路
16日前
日本精機株式会社
サージ保護回路
4日前
西部電機株式会社
充電装置
4日前
オムロン株式会社
電源回路
16日前
オムロン株式会社
電源回路
16日前
西部電機株式会社
充電装置
4日前
トヨタ自動車株式会社
固定子
2日前
トヨタ自動車株式会社
回転子
8日前
ミサワホーム株式会社
居住設備
12日前
個人
連続ガウス加速器形磁力増幅装置
4日前
東京応化工業株式会社
発電装置
16日前
トヨタ自動車株式会社
製造装置
2日前
続きを見る
他の特許を見る