TOP
|
特許
|
意匠
|
商標
特許ウォッチ
Twitter
他の特許を見る
公開番号
2025149414
公報種別
公開特許公報(A)
公開日
2025-10-08
出願番号
2024050057
出願日
2024-03-26
発明の名称
両回転式スクロール型圧縮機
出願人
株式会社豊田自動織機
代理人
弁理士法人ぱてな
主分類
F04C
18/02 20060101AFI20251001BHJP(液体用容積形機械;液体または圧縮性流体用ポンプ)
要約
【課題】耐久性に優れた両回転式スクロール型圧縮機を提供する。
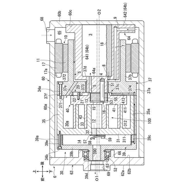
【解決手段】本発明の圧縮機は、ハウジング6、駆動機構10、駆動スクロール30、従動スクロール40、従動機構20及び吐出室14を備えている。駆動スクロール30及び従動スクロール40は圧縮室12を形成している。吐出室14には、圧縮室12で圧縮された冷媒が吐出される。ハウジング6内には突出体64が設けられている。駆動スクロール30はカバー体37を有しており、このカバー体37は、軸支部51を介して突出体64に回転可能に支持されている。カバー体37には、吐出室14と連通し、吐出室14の潤滑油18を突出体64に向けて流通させる還流通路37cが形成されている。突出体64には、接続通路5が形成されている。接続通路5は、軸支部51よりも突出体64の径方向の内側に位置しており、還流通路37cと連通している。
【選択図】図1
特許請求の範囲
【請求項1】
ハウジング、駆動機構、駆動スクロール、従動スクロール、従動機構及び吐出室を備え、
前記ハウジングは、前記駆動スクロール及び前記従動スクロールが収容されるスクロール室を有し、
前記駆動スクロールは、前記駆動機構によって駆動軸心周りに回転駆動され、
前記従動スクロールは、前記駆動スクロールに対して偏心しつつ従動軸心周りで前記駆動スクロール及び前記従動機構によって回転従動され、
前記駆動スクロール及び前記従動スクロールは、前記回転駆動及び前記回転従動によって冷媒を圧縮する圧縮室を形成し、
前記吐出室には、前記圧縮室で圧縮された冷媒が吐出される両回転式スクロール型圧縮機であって、
前記ハウジング内には、前記駆動スクロール及び前記従動スクロールに向かって前記駆動軸心方向で前記スクロール室内に突出する突出体が設けられ、
前記駆動スクロールは、軸支部を介して前記突出体に回転可能に支持されるカバー体を有し、
前記カバー体には、前記吐出室と連通し、前記吐出室の潤滑油を前記突出体に向けて流通させる還流通路が形成され、
前記突出体には、前記軸支部よりも前記突出体の径方向の内側に位置し、前記還流通路と連通される接続通路が形成され、
前記ハウジング内には、前記駆動機構の径方向の内側に位置し、前記接続通路と連通されるとともに前記潤滑油が流通可能な潤滑油通路が形成されていることを特徴とする両回転式スクロール型圧縮機。
続きを表示(約 390 文字)
【請求項2】
前記従動スクロールは、前記軸支部よりも前記径方向の内側で前記突出体に支持される従動軸部を有し、
前記従動軸部には、前記還流通路と前記潤滑油通路とに連通し、前記潤滑油が流通可能な軸部通路が形成されている請求項1記載の両回転式スクロール型圧縮機。
【請求項3】
前記従動軸部は、前記接続通路に挿通されている請求項2記載の両回転式スクロール型圧縮機。
【請求項4】
前記突出体は、前記軸支部を介して前記カバー体が支持されるとともに、前記接続通路が形成される第1径部と、
前記第1径部よりも大径をなし、前記潤滑油通路が形成される第2径部とを有している請求項1又は2記載の両回転式スクロール型圧縮機。
【請求項5】
前記潤滑油通路は前記潤滑油を内部に貯留可能である請求項1又は2記載の両回転式スクロール型圧縮機。
発明の詳細な説明
【技術分野】
【0001】
本発明は両回転式スクロール型圧縮機に関する。
続きを表示(約 1,500 文字)
【背景技術】
【0002】
特許文献1に従来の両回転式スクロール型圧縮機(以下、単に圧縮機という。)が開示されている。この圧縮機は、ハウジング、駆動機構、駆動スクロール、従動スクロール、従動機構及び吐出室を備えている。ハウジングは、駆動機構、駆動スクロール及び従動スクロールが収容されるスクロール室を有している。スクロール室には、ハウジングの外部から冷媒が吸入される。
【0003】
駆動機構は、ステータとロータとを有している。ステータはスクロール室内に固定されている。駆動スクロールはカバー体を有している。このカバー体は筒状をなす延在部を有している。延在部の外周面にはロータが固定されている。従動スクロールは、駆動スクロールに対して偏心しつつ従動軸心周りで駆動スクロール及び従動機構によって回転従動可能となっている。これらの駆動スクロール及び従動スクロールは、回転駆動及び回転従動によって冷媒を圧縮する圧縮室を形成している。吐出室は従動スクロールに形成されており、圧縮室と連通している。
【0004】
また、この圧縮機では、ハウジングに突出体が設けられている。突出体は、駆動スクロール及び従動スクロールに向かって駆動軸心方向でスクロール室内に突出している。そして、突出体は延在部の内部に進入している。また、延在部の内周面と突出体の外周面との間には軸支部が設けられている。こうして、駆動スクロールは、軸支部を介して突出体に回転可能に支持されている。
【0005】
突出体の内部には、駆動軸心方向に延びる吐出通路が形成されている。吐出通路は駆動軸心方向の一方で吐出室と連通しており、駆動軸心方向の他方でハウジングの外部と連通している。
【0006】
この圧縮機では、駆動機構においてロータが回転することにより、駆動スクロールがロータと一体で駆動軸心周りに回転する。これにより、従動スクロールが駆動スクロール及び従動機構によって従動軸心周りで回転従動される。こうして、回転駆動する駆動スクロールと回転従動する従動スクロールとによって圧縮室の容積が変化する。このため、この圧縮機では、圧縮室内に冷媒が吸入されつつ圧縮される。そして、圧縮室で圧縮された冷媒は吐出室に吐出され、吐出室から吐出通路を流通することによって、ハウジングの外部、すなわち圧縮機の外部に吐出される。
【先行技術文献】
【特許文献】
【0007】
特開平2-227575号公報
【発明の概要】
【発明が解決しようとする課題】
【0008】
この種の圧縮機では、駆動スクロールを好適に回転させるために、軸支部に対して十分な潤滑が求められる。ここで、圧縮室内に吸入される冷媒には潤滑油が含まれており、この潤滑油は圧縮室で圧縮された冷媒とともに、圧縮室から吐出室に吐出される。そこで、このような潤滑油を軸支部の潤滑に用いることが考えられる。
【0009】
しかし、上記従来の圧縮機では、吐出室に吐出された潤滑油の大部分は、冷媒とともに吐出通路を流通することで圧縮機の外部に吐出されてしまう。このため、この圧縮機では、吐出室に吐出された潤滑油を軸支部の潤滑に十分に用いることができない。このため、このような圧縮機では軸支部の潤滑不足による耐久性の低下が懸念される。
【0010】
本発明は、上記従来の実情に鑑みてなされたものであって、耐久性に優れた両回転式スクロール型圧縮機を提供することを解決すべき課題としている。
【課題を解決するための手段】
(【0011】以降は省略されています)
この特許をJ-PlatPat(特許庁公式サイト)で参照する
関連特許
個人
海流製造装置。
25日前
株式会社スギノマシン
圧縮機
3日前
株式会社ツインバード
送風装置
23日前
株式会社ツインバード
送風装置
23日前
カヤバ株式会社
電動ポンプ
2か月前
株式会社不二越
蓄圧装置
2か月前
ビッグボーン株式会社
送風装置
1か月前
株式会社ノーリツ
ロータリ圧縮機
1か月前
株式会社酉島製作所
ポンプ
3か月前
株式会社ノーリツ
ロータリー圧縮機
3か月前
サンデン株式会社
スクロール圧縮機
9日前
株式会社不二越
ベーンポンプ
2か月前
サンデン株式会社
スクロール圧縮機
9日前
サンデン株式会社
スクロール圧縮機
9日前
樫山工業株式会社
真空ポンプ
4日前
小倉クラッチ株式会社
ルーツブロア
2か月前
株式会社坂製作所
スクロール圧縮機
3か月前
株式会社島津製作所
真空ポンプ
1か月前
株式会社豊田自動織機
流体機械
1か月前
株式会社チロル
送風機、送風機付衣服
1か月前
株式会社アイシン
ポンプケース
16日前
株式会社島津製作所
真空ポンプ
23日前
エドワーズ株式会社
真空ポンプ
17日前
NTN株式会社
電動オイルポンプ
10日前
株式会社豊田自動織機
電動圧縮機
1か月前
株式会社豊田自動織機
電動圧縮機
2か月前
株式会社豊田自動織機
電動圧縮機
2か月前
株式会社豊田自動織機
遠心圧縮機
4か月前
株式会社豊田自動織機
電動圧縮機
3か月前
株式会社豊田自動織機
電動圧縮機
1か月前
株式会社豊田自動織機
電動圧縮機
1か月前
株式会社豊田自動織機
電動圧縮機
2か月前
株式会社ナノバブル研究所
気液駆動装置
17日前
株式会社豊田自動織機
電動圧縮機
1か月前
株式会社豊田自動織機
電動圧縮機
1か月前
已久工業股ふん有限公司
空気圧縮機構造
2か月前
続きを見る
他の特許を見る