TOP
|
特許
|
意匠
|
商標
特許ウォッチ
Twitter
他の特許を見る
10個以上の画像は省略されています。
公開番号
2025149226
公報種別
公開特許公報(A)
公開日
2025-10-08
出願番号
2024049732
出願日
2024-03-26
発明の名称
吊下作業方法
出願人
三機工業株式会社
代理人
弁理士法人山田特許事務所
主分類
F16L
3/00 20060101AFI20251001BHJP(機械要素または単位;機械または装置の効果的機能を生じ維持するための一般的手段)
要約
【課題】構造物に対し対象物を簡便且つ好適に設置し得る吊下作業方法を提供する。
【解決手段】構造物に対し取付具を打設する第一の工程(ステップS1)と、対象物(ダクト)に索状の吊具を取り付ける第二の工程(ステップS2)と、取付具に索状の吊具を通す第三の工程(ステップS3)と、索状の吊具を引っ張って対象物を持ち上げる第四の工程(ステップS4)とを実行する。第四の工程の後、対象物を持ち上げた状態で、索状の吊具の自由端部から離れた位置において索状の吊具の動きが制限されることにより、対象物が吊り下げられる。
【選択図】図13
特許請求の範囲
【請求項1】
構造物に対し取付具を打設する第一の工程と、
対象物に索状の吊具を取り付ける第二の工程と、
前記取付具に前記索状の吊具を通す第三の工程と、
前記索状の吊具の自由端部を引っ張って前記対象物を持ち上げる第四の工程と
を実行し、
前記第四の工程の後、前記対象物を持ち上げた状態で、前記索状の吊具のうち前記自由端部から離れた位置において前記索状の吊具の動きが制限されることにより、前記対象物が吊り下げられること
を特徴とする吊下作業方法。
続きを表示(約 460 文字)
【請求項2】
前記第四の工程においては、
前記索状の吊具の軸方向に関する動作を一方向にのみ許容する動作制限機能を備えた部材により、前記対象物が自重によって降下しようとする動きを制限すること
を特徴とする請求項1に記載の吊下作業方法。
【請求項3】
前記第三の工程において、
前記索状の吊具に、動作制限機能を備えた前記部材を取り付けること
を特徴とする請求項2に記載の吊下作業方法。
【請求項4】
動作制限機能を備えた前記部材は、前記索状の吊具を通す孔を2個備えると共に、前記各孔にそれぞれ動作制限機能を備えた調節具であり、
前記第三の工程においては、前記索状の吊具を前記調節具に備えた2個の前記孔に通して環状部を形成し、該環状部の一部を前記取付具に通すようにすること
を特徴とする請求項3に記載の吊下作業方法。
【請求項5】
前記対象物はダクトであること
を特徴とする請求項1に記載の吊下作業方法。
発明の詳細な説明
【技術分野】
【0001】
本発明は、空調設備等に使用するダクト等の対象物を天井等の構造物に対し吊り下げる作業を行うための方法に関する。
続きを表示(約 1,500 文字)
【背景技術】
【0002】
ビル等の建築物には、空調や換気、排気等を目的としてダクトが設けられる場合がある。このようなダクトとしては、フレキシブルダクトと称される管体(フレキダクト、フレキ管、可撓管等とも)がしばしば用いられる。柔軟性を有して屈曲が可能なフレキシブルダクトはレイアウト性に優れ、設置場所の状況や必要なダクトの分岐構造等に容易に対応でき、便利である。
【0003】
フレキシブルダクトは、例えばワイヤ等の吊具を用い、天井等の構造物から吊り下げる形で設置される。こうしたフレキシブルダクトの設置にあたっては、例えば、昇降台車や高所作業車、あるいは脚立等を用いて作業員が天井付近の高さまで昇りつつ、吊具を取り付けたダクトをその付近まで持ち上げる。前記吊具には、天井に固定するためのプレートが取り付けられており、作業員は、前記プレートを天井における目的の位置に配置し、下から鋲打機(釘打機、ネイルガン等とも)を用いて留具(鋲)を打ち込む。こうして、天井に固定されたプレートから、ワイヤ等の吊具を介して吊り下げられる形でダクトが設置される。
【0004】
尚、この種のダクトの取付け構造やその作業に関連する技術を開示する先行技術文献としては、例えば、下記の特許文献1、2等がある。
【先行技術文献】
【特許文献】
【0005】
特開2006-29749号公報
特開2006-125504号公報
【発明の概要】
【発明が解決しようとする課題】
【0006】
上述の如きダクトの設置作業は、例えば一人の作業員がダクトを抱えつつ昇降台車で天井付近の高さまで昇ってその高さにダクトを支持し、別の作業員がその付近に昇降台車で昇り、前記ダクトに取り付けられた吊具のプレートに対し鋲打ちを行う、といった形で行われる。こういった作業においては、鋲打ちを行う箇所1箇所~数箇所ごとに作業員が昇降し、また、その度にダクト等の重量物を持ち上げる必要があり、非常に煩雑で多大な労力を要する。そこで、このような吊り下げの作業をより簡便に行えるような技術の開発が望まれていた。
【0007】
本発明は、斯かる実情に鑑み、構造物に対し対象物を簡便且つ好適に設置し得る吊下作業方法を提供しようとするものである。
【課題を解決するための手段】
【0008】
本発明は、構造物に対し取付具を打設する第一の工程と、対象物に索状の吊具を取り付ける第二の工程と、前記取付具に前記索状の吊具を通す第三の工程と、前記索状の吊具の自由端部を引っ張って前記対象物を持ち上げる第四の工程とを実行し、前記第四の工程の後、前記対象物を持ち上げた状態で、前記索状の吊具のうち前記自由端部から離れた位置において前記索状の吊具の動きが制限されることにより、前記対象物が吊り下げられることを特徴とする吊下作業方法にかかるものである。
【0009】
本発明の吊下作業方法において、前記第一の工程では、前記取付具を前記構造物に打ち付ける打設装置と、前記取付具を前記打設装置に対して保持する打設補助具を用いて前記取付具を打設するようにしてもよい。
【0010】
本発明の吊下作業方法において、前記第四の工程では、前記索状の吊具の軸方向に関する動作を一方向にのみ許容する動作制限機能を備えた部材により、前記対象物が自重によって降下しようとする動きを制限するようにしてもよい。
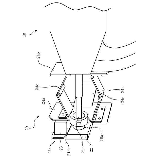
(【0011】以降は省略されています)
この特許をJ-PlatPat(特許庁公式サイト)で参照する
関連特許
三機工業株式会社
ろ過装置
1か月前
三機工業株式会社
吊下作業方法
2日前
三機工業株式会社
吊下作業方法
2日前
三機工業株式会社
空調システム
9日前
三機工業株式会社
空調システム
11日前
三機工業株式会社
散水式の浄化装置及び浄化方法
1か月前
三機工業株式会社
動作装置の位置確認機構および装置
8日前
三機工業株式会社
ダクトの吊下作業方法およびシステム
1か月前
三機工業株式会社
クレーン運転システム及びごみ処理方法
3日前
三機工業株式会社
クレーン運転システム及びごみ処理方法
3日前
三機アクアテック株式会社
汚泥かき寄せ装置
3日前
三機工業株式会社
施工管理装置、施工管理方法、及び施工管理プログラム
2日前
三機工業株式会社
壁吸い込みフィルタユニットのパンチングフェースおよび戸袋の構造
1日前
三機工業株式会社
ログデータ分析用のサーバ装置、プログラム、データ分析システム、及びデータ分析方法
9日前
個人
鍋虫ねじ
1か月前
個人
紛体用仕切弁
1か月前
個人
ホース保持具
5か月前
個人
回転伝達機構
2か月前
個人
トーションバー
6か月前
個人
差動歯車用歯形
3か月前
個人
ジョイント
21日前
個人
給排気装置
3日前
個人
ナット
22日前
個人
ボルトナットセット
6か月前
個人
地震の揺れ回避装置
2か月前
株式会社不二工機
電磁弁
3か月前
株式会社不二工機
電磁弁
4か月前
個人
吐出量監視装置
1か月前
個人
ベルトテンショナ
7か月前
株式会社三協丸筒
枠体
6か月前
カヤバ株式会社
緩衝器
7か月前
カヤバ株式会社
緩衝器
3か月前
カヤバ株式会社
緩衝器
3か月前
カヤバ株式会社
ダンパ
3か月前
柿沼金属精機株式会社
分岐管
1か月前
カヤバ株式会社
ダンパ
3か月前
続きを見る
他の特許を見る