TOP
|
特許
|
意匠
|
商標
特許ウォッチ
Twitter
他の特許を見る
公開番号
2025148845
公報種別
公開特許公報(A)
公開日
2025-10-08
出願番号
2024049170
出願日
2024-03-26
発明の名称
タイヤの成形装置およびタイヤの製造方法
出願人
横浜ゴム株式会社
代理人
清流国際弁理士法人
,
個人
,
個人
主分類
B29D
30/14 20060101AFI20251001BHJP(プラスチックの加工;可塑状態の物質の加工一般)
要約
【課題】コンパクトな構成にしつつ、ドラム体の外周面に積層された未加硫ゴム部材の表面に応じて押圧ローラを迅速に旋回させて、積層された未加硫ゴム部材を過不足なく圧着接合できるタイヤの成形装置およびタイヤの製造方法を提供する。
【解決手段】ドラム幅方向中央部から、押圧ローラ8A、8Bを、スライド機構4A、4Bによってドラム幅方向一方側、他方側へ移動させ、予め設定されたタイヤ外形の成形形状データに基づいて、制御部13により、各スライド機構4A、4B、各電動シリンダ11A、11Bおよび各前後進機構7A、7Bを制御して、各押圧ローラ8A、8Bの位置および旋回向きを変化させて、各押圧ローラ8A、8Bによって未加硫ゴム部材Rの対向する表面に対して垂直方向に所定の押圧力を付与してグリーンタイヤGを成形する。
【選択図】図6
特許請求の範囲
【請求項1】
ドラム体と、前記ドラム体の外周面に対置される一対の押圧ローラと、一対のスライド機構と、制御部とを備えて、前記制御部が、一方の前記スライド機構を制御することにより一方の前記押圧ローラがドラム幅方向中央部からドラム幅方向一方側を移動し、他方の前記スライド機構を制御することにより他方の前記押圧ローラがドラム幅方向中央部からドラム幅方向他方側を移動して、ドラム軸を中心にして回転している前記ドラム体の外周面に積層されている未加硫ゴム部材の表面が一対の前記押圧ローラによって押圧される構成にしたタイヤの成形装置において、
一方の前記押圧ローラを旋回可能に支持する旋回軸を有する旋回支持部および一方の前記押圧ローラを前記旋回軸を中心して旋回させるロッドを有する電動シリンダを備えた一方側旋回ユニットと、
他方の前記押圧ローラを旋回可能に支持する旋回軸を有する旋回支持部および他方の前記押圧ローラを前記旋回軸を中心にして旋回させるロッドを有する電動シリンダを備えた他方側旋回ユニットと、
前記一方側旋回ユニットを前記ドラム体の前記外周面に対して近接離反させる一方側前後進機構と、
前記他方側旋回ユニットを前記ドラム体の前記外周面に対して近接離反させる他方側前後進機構と、を有して、
前記制御部が、予め設定されたタイヤ外形の成形形状データに基づいて、それぞれの前記スライド機構、それぞれの前記電動シリンダおよびそれぞれの前記前後進機構を制御することにより、それぞれの前記押圧ローラが前記未加硫ゴム部材の対向する表面に対して垂直方向に所定の押圧力を付与するように構成にしたタイヤの成形装置。
続きを表示(約 900 文字)
【請求項2】
前記一方側前後進機構および前記他方側前後進機構のそれぞれが、エアシリンダである請求項1に記載のタイヤの成形装置。
【請求項3】
前記ドラム体が、製造されるタイヤの内面と同じ形状の外面を有する剛性コアである請求項1または2に記載のタイヤの成形装置。
【請求項4】
ドラム体の外周面に積層された未加硫ゴム部材を、前記ドラム体をドラム軸を中心にして回転させながら、前記ドラム体の外周面に対置された一対の押圧ローラのうちの一方の前記押圧ローラを一方のスライド機構によりドラム幅方向中央部からドラム幅方向一方側を移動させ、他方の前記押圧ローラを他方のスライド機構によりドラム幅方向中央部からドラム幅方向他方側を移動させて、それぞれの前記押圧ローラによって前記未加硫ゴム部材の表面を押圧して、積層された前記未加硫ゴム部材どうしを圧着接合してグリーンタイヤを成形し、このグリーンタイヤを加硫するタイヤの製造方法において、
一方の前記押圧ローラを旋回可能に支持する旋回軸を有する旋回支持部と、前記旋回軸を中心にして一方の前記押圧ローラを旋回させるロッドを有する電動シリンダと、により一方側旋回ユニットを構成し、
他方の前記押圧ローラを旋回可能に支持する旋回軸を有する旋回支持部と、前記旋回軸を中心にして他方の前記押圧ローラを旋回させるロッドを有する電動シリンダと、により他方側旋回ユニットを構成し、
一方側前後進機構により、前記一方側旋回ユニットを前記ドラム体の前記外周面に対して近接離反移動可能にし、他方側前後進機構により、前記他方側旋回ユニットを前記ドラム体の前記外周面に対して近接離反移動可能にして、
予め設定されたタイヤ外形の成形形状データに基づいて、制御部により、それぞれの前記スライド機構、それぞれの前記電動シリンダおよびそれぞれの前記前後進機構を制御して、それぞれの前記押圧ローラが前記未加硫ゴム部材の対向する表面に対して垂直方向に所定の押圧力を付与するようにして前記グリーンタイヤを成形するタイヤの製造方法。
発明の詳細な説明
【技術分野】
【0001】
本発明は、タイヤの成形装置およびタイヤの製造方法に関し、さらに詳しくは、コンパクトな構成にしつつ、ドラム体の外周面に積層された未加硫ゴム部材の表面を過不足なく押圧するように押圧ローラを未加硫ゴム部材の表面に応じて迅速に旋回させて、積層された未加硫ゴム部材どうしを圧着接合できるタイヤの成形装置およびタイヤの製造方法に関するものである。
続きを表示(約 3,500 文字)
【背景技術】
【0002】
タイヤを製造する際には、ドラム体の外周面に積層された未加硫ゴム部材の表面を押圧ローラによって押圧することで、積層された未加硫ゴム部材どうしを圧着接合している。未加硫ゴム部材は変形し易いため、その表面に対して略垂直方向の押圧力を付与しなければ、未加硫ゴム部材には不要な引張力などが作用して不要な変形が生じる。特に、タイヤのショルダ部に相当する領域などでは、未加硫ゴム部材の表面の起伏が大きいため不要な変形が生じ易く、製造されるタイヤの品質に影響が生じる。
【0003】
そこで、押圧ローラと未加硫ゴム部材の表面との接触点を中心にして押圧ローラを旋回させることにより、未加硫ゴム部材の表面に対して略垂直な方向の押圧力を付与するステッチャーが提案されている(特許文献1参照)。この提案されているステッチャーでは、上記の接触点を中心にして、押圧ローラとこの押圧ローラを進退させるステッチシリンダとが一体的に旋回される構成になっている。そのため、この旋回動作には相応に広いスペースが必要になり、ステッチャーのコンパクト化には不利になる。また、押圧ローラとステッチシリンダとが一体的に旋回するので、旋回動作のレスポンス性(応答性)を向上させるには限界があり、未加硫ゴム部材の様々な表面に応じて、迅速に押圧ローラを大きく旋回させたり、急激に押圧ローラの向きを変えて旋回させるには不利になる。これに伴い、タイヤの生産性を向上させるには不利になる。それ故、コンパクトな構成にしつつ、未加硫ゴム部材の表面を過不足なく押圧するように押圧ローラを未加硫ゴム部材の表面に応じて迅速に旋回させて、積層された未加硫ゴム部材どうしを圧着接合するには改善の余地がある。
【先行技術文献】
【特許文献】
【0004】
特開2023-106085号公報
【発明の概要】
【発明が解決しようとする課題】
【0005】
本発明の目的は、コンパクトな構成にしつつ、ドラム体の外周面に積層された未加硫ゴム部材の表面を過不足なく押圧するように押圧ローラを未加硫ゴム部材の表面に応じて迅速に旋回させて、積層された未加硫ゴム部材どうしを圧着接合できるタイヤの成形装置およびタイヤの製造方法を提供することにある。
【課題を解決するための手段】
【0006】
上記目的を達成するため本発明のタイヤの成形装置は、ドラム体と、前記ドラム体の外周面に対置される一対の押圧ローラと、一対のスライド機構と、制御部とを備えて、前記制御部が、一方の前記スライド機構を制御することにより一方の前記押圧ローラがドラム幅方向中央部からドラム幅方向一方側を移動し、他方の前記スライド機構を制御することにより他方の前記押圧ローラがドラム幅方向中央部からドラム幅方向他方側を移動して、ドラム軸を中心にして回転している前記ドラム体の外周面に積層されている未加硫ゴム部材の表面が一対の前記押圧ローラによって押圧される構成にしたタイヤの成形装置において、一方の前記押圧ローラを旋回可能に支持する旋回軸を有する旋回支持部および一方の前記押圧ローラを前記旋回軸を中心して旋回させるロッドを有する電動シリンダを備えた一方側旋回ユニットと、他方の前記押圧ローラを旋回可能に支持する旋回軸を有する旋回支持部および他方の前記押圧ローラを前記旋回軸を中心にして旋回させるロッドを有する電動シリンダを備えた他方側旋回ユニットと、前記一方側旋回ユニットを前記ドラム体の前記外周面に対して近接離反させる一方側前後進機構と、前記他方側旋回ユニットを前記ドラム体の前記外周面に対して近接離反させる他方側前後進機構と、を有して、前記制御部が、予め設定されたタイヤ外形の成形形状データに基づいて、それぞれの前記スライド機構、それぞれの前記電動シリンダおよびそれぞれの前記前後進機構を制御することにより、それぞれの前記押圧ローラが前記未加硫ゴム部材の対向する表面に対して垂直方向に所定の押圧力を付与するように構成にしたことを特徴とする。
【0007】
本発明のタイヤの製造方法は、ドラム体の外周面に積層された未加硫ゴム部材を、前記ドラム体をドラム軸を中心にして回転させながら、前記ドラム体の外周面に対置された一対の押圧ローラのうちの一方の前記押圧ローラを一方のスライド機構によりドラム幅方向中央部からドラム幅方向一方側を移動させ、他方の前記押圧ローラを他方のスライド機構によりドラム幅方向中央部からドラム幅方向他方側を移動させて、それぞれの前記押圧ローラによって前記未加硫ゴム部材の表面を押圧して、積層された前記未加硫ゴム部材どうしを圧着接合してグリーンタイヤを成形し、このグリーンタイヤを加硫するタイヤの製造方法において、一方の前記押圧ローラを旋回可能に支持する旋回軸を有する旋回支持部と、前記旋回軸を中心にして一方の前記押圧ローラを旋回させるロッドを有する電動シリンダと、により一方側旋回ユニットを構成し、他方の前記押圧ローラを旋回可能に支持する旋回軸を有する旋回支持部と、前記旋回軸を中心にして他方の前記押圧ローラを旋回させるロッドを有する電動シリンダと、により他方側旋回ユニットを構成し、一方側前後進機構により、前記一方側旋回ユニットを前記ドラム体の前記外周面に対して近接離反移動可能にし、他方側前後進機構により、前記他方側旋回ユニットを前記ドラム体の前記外周面に対して近接離反移動可能にして、予め設定されたタイヤ外形の成形形状データに基づいて、制御部により、それぞれの前記スライド機構、それぞれの前記電動シリンダおよびそれぞれの前記前後進機構を制御して、それぞれの前記押圧ローラが前記未加硫ゴム部材の対向する表面に対して垂直方向に所定の押圧力を付与するようにして前記グリーンタイヤを成形することを特徴とする。
【発明の効果】
【0008】
本発明によれば、それぞれの前記電動シリンダの前記ロッドの進退によって、それぞれの前記旋回軸を中心にして、支持されているそれぞれの前記押圧ローラを旋回させるので、それぞれの前記押圧ローラをより小さなスペースで旋回させることができる。これに伴い、それぞれの前記押圧ローラの旋回動作に必要な構成をコンパクトにするには有利になる。この構成により、それぞれの前記押圧ローラをレスポンスよく旋回させるにも有利になる。
【0009】
そして、予め設定されたタイヤ外形の成形形状データに基づいて、制御部により、それぞれの前記スライド機構、それぞれの前記電動シリンダおよびそれぞれの前記前後進機構を制御することで、それぞれの前記押圧ローラの位置および旋回向きを変化させて、前記未加硫ゴム部材の対向する表面に対して垂直方向に所定の押圧力を付与できる。その結果、前記未加硫ゴム部材の表面を過不足なく押圧するように前記押圧ローラを前記未加硫ゴム部材の表面に応じて迅速に旋回させて、積層された前記未加硫ゴム部材どうしを圧着接合するには有利になる。このように圧着接合された未加硫ゴム部材を用いてグリーンタイヤを成形することで、タイヤの品質および生産性を向上させるには有利になる。
【図面の簡単な説明】
【0010】
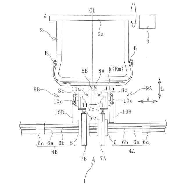
本発明のタイヤの成形装置を、ドラム体および未加硫ゴム部材を横断面にして平面視で例示する説明図である。
図1のタイヤの成形装置を側面視で例示する説明図である。
図1の一部拡大図である。
図1の押圧ローラをドラム体に近接移動させて、未加硫ゴム部材のドラム幅方向中央部の表面を押圧している状態を例示する説明図である。
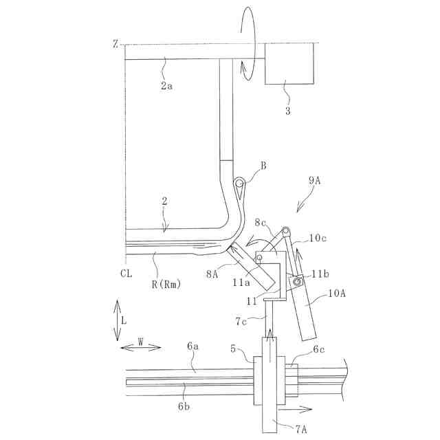
図4の押圧ローラをドラム幅方向一方側に移動させている状態を、ドラム体の右半分側を拡大して例示する説明図である。
図5の押圧ローラをドラム幅方向一方側に移動させつつ旋回させている状態を例示する説明図である。
成形されたグリーンタイヤの上半分を断面視で例示する説明図である。
図1のドラム体にセンターローラを近接移動させて、未加硫ゴム部材のドラム幅方向中央部の表面を押圧している状態を例示する説明図である。
【発明を実施するための形態】
(【0011】以降は省略されています)
この特許をJ-PlatPat(特許庁公式サイト)で参照する
関連特許
横浜ゴム株式会社
タイヤ
2か月前
横浜ゴム株式会社
タイヤ
1か月前
横浜ゴム株式会社
タイヤ
28日前
横浜ゴム株式会社
タイヤ
28日前
横浜ゴム株式会社
タイヤ
2か月前
横浜ゴム株式会社
タイヤ
1か月前
横浜ゴム株式会社
タイヤ
1か月前
横浜ゴム株式会社
タイヤ
2か月前
横浜ゴム株式会社
タイヤ
2か月前
横浜ゴム株式会社
タイヤ
1か月前
横浜ゴム株式会社
タイヤ
1か月前
横浜ゴム株式会社
タイヤ
1か月前
横浜ゴム株式会社
タイヤ
27日前
横浜ゴム株式会社
タイヤ
1か月前
横浜ゴム株式会社
タイヤ
1か月前
横浜ゴム株式会社
タイヤ
1か月前
横浜ゴム株式会社
タイヤ
1か月前
横浜ゴム株式会社
タイヤ
1か月前
横浜ゴム株式会社
タイヤ
1か月前
横浜ゴム株式会社
タイヤ
1か月前
横浜ゴム株式会社
タイヤ
1か月前
横浜ゴム株式会社
タイヤ
1か月前
横浜ゴム株式会社
タイヤ
1か月前
横浜ゴム株式会社
タイヤ
27日前
横浜ゴム株式会社
タイヤ
2か月前
横浜ゴム株式会社
タイヤ
2か月前
横浜ゴム株式会社
タイヤ
8日前
横浜ゴム株式会社
タイヤ
14日前
横浜ゴム株式会社
タイヤ
13日前
横浜ゴム株式会社
タイヤ
14日前
横浜ゴム株式会社
タイヤ
8日前
横浜ゴム株式会社
タイヤ
2か月前
横浜ゴム株式会社
タイヤ
8日前
横浜ゴム株式会社
タイヤ
22日前
横浜ゴム株式会社
タイヤ
2か月前
横浜ゴム株式会社
タイヤ
2か月前
続きを見る
他の特許を見る