TOP
|
特許
|
意匠
|
商標
特許ウォッチ
Twitter
他の特許を見る
公開番号
2025148511
公報種別
公開特許公報(A)
公開日
2025-10-07
出願番号
2025118709,2021108663
出願日
2025-07-15,2021-06-30
発明の名称
位置情報システム
出願人
ニッタン株式会社
代理人
個人
,
個人
主分類
G08B
25/00 20060101AFI20250930BHJP(信号)
要約
【課題】通常時はプライバシーを保護しつつ非常時にはすべての携帯端末の情報を表示できる位置情報システムを提供する。
【解決手段】発信器又は/及び受信器と近距離通信を行う携帯端末または携帯型の発信器の位置を把握する機能を有するサーバを備えた位置情報システムにおいて、前記サーバは、プライバシー保護領域を設定する領域設定手段と、携帯端末又は携帯型の発信器の位置を把握してプライバシー保護領域内にあるか否かを判定する領域判定手段と、携帯端末または携帯型の発信器の位置情報及び当該現在位置を含むエリアの地図情報と領域判定手段による判定結果情報を送信する情報送信手段とを備え、通常時に携帯端末又は携帯型の発信器がプライバシー保護領域内にあると判定された場合には個人情報を閲覧不能にする一方、非常時に携帯端末又は携帯型の発信器の位置がプライバシー保護領域内にあると判定された場合には個人情報を閲覧可能にした。
【選択図】図5
特許請求の範囲
【請求項1】
受信した発信器又は受信器の固有情報に基づいて、前記発信器または/および前記受信器と近距離通信を行う携帯端末または携帯型の発信器の位置を把握する機能を有するサーバを備えた位置情報システムであって、
前記サーバは、
管理エリア内の所定エリアの任意の領域にプライバシー保護領域を設定する領域設定手段と、
前記発信器又は受信器の固有情報に基づいて前記発信器または/および前記受信器と近距離通信を行う前記携帯端末または携帯型の発信器の位置を把握し、把握した位置が前記プライバシー保護領域内であるか否かを判定する領域判定手段と、
把握した前記携帯端末または携帯型の発信器の位置および当該位置を含む管理エリアの地図情報と前記領域判定手段による判定結果情報を送信する情報送信手段と、
を備え、
通常時に前記携帯端末または携帯型の発信器の位置が前記プライバシー保護領域内であると判定された場合には当該携帯端末または携帯型の発信器の保有者の個人情報を閲覧不能にする一方、
非常時に前記携帯端末または携帯型の発信器の位置が前記プライバシー保護領域内であると判定された場合には当該携帯端末または携帯型の発信器の保有者の個人情報を閲覧可能にすることを特徴とする位置情報システム。
続きを表示(約 1,300 文字)
【請求項2】
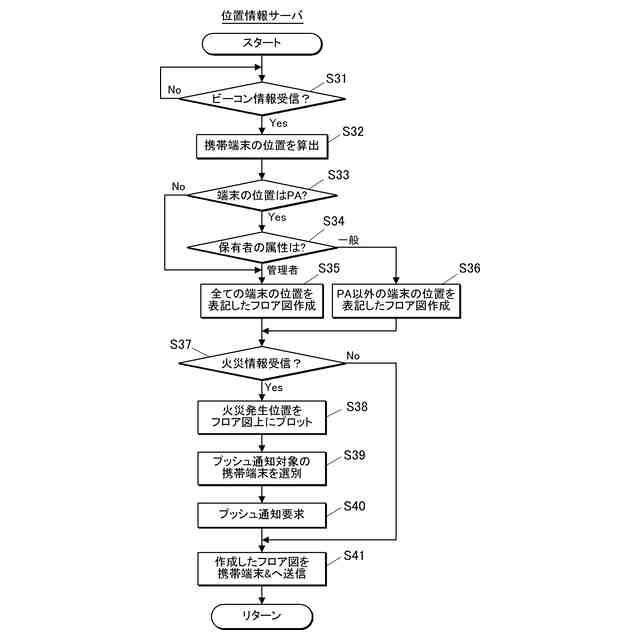
所定エリアに設置された火災感知器からの火災検出信号を受信可能な装置より送信された火災の発生場所情報を含む火災情報に基づいて、前記火災の発生位置を判定する火災監視装置をさらに備え、
前記非常時は、前記サーバが前記火災監視装置からの火災情報を受信した場合であることを特徴とする請求項1に記載の位置情報システム。
【請求項3】
前記サーバは、利用者の属性を判定する属性判定手段を備え、判定した属性に応じて前記プライバシー保護領域内にいることが把握された携帯端末または携帯型の発信器の保有者の個人情報を閲覧不能または閲覧可能にする情報を生成することを特徴とする請求項1または2に記載の位置情報システム。
【請求項4】
前記情報送信手段は、
通常時に前記領域判定手段により前記携帯端末または携帯型の発信器の位置が前記プライバシー保護領域内であると判定された場合には当該携帯端末または携帯型の発信器の保有者を示すアイコンを生成せず、
非常時に前記領域判定手段により前記携帯端末または携帯型の発信器の位置が前記プライバシー保護領域内であると判定された場合には当該携帯端末または携帯型の発信器の保有者を示すアイコンを生成し、前記地図情報と共に送信可能であることを特徴とする請求項1~3のいずれかに記載の位置情報システム。
【請求項5】
前記領域判定手段は、前記携帯端末または携帯型の発信器の位置が前記プライバシー保護領域内であるか否かを判定する際に、同一状態が一定時間以上継続したことを条件とするヒステリシス判定を行うことを特徴とする請求項1~4のいずれかに記載の位置情報システム。
【請求項6】
前記領域設定手段は、前記所定エリア内に前記プライバシー保護領域を複数設定可能であり、
前記サーバは、複数の前記プライバシー保護領域内にいる携帯端末または携帯型の発信器の保有者の存在情報をまとめて表示する画像を生成する一括表示画像作成手段を備えていることを特徴とする請求項1~5のいずれかに記載の位置情報システム。
【請求項7】
前記サーバは、前記プライバシー保護領域内にいる携帯端末または携帯型の発信器の保有者が当該領域に滞在している時間を計時する滞在時間計時手段を備え、
前記一括表示画像作成手段は、前記プライバシー保護領域内にいる携帯端末または携帯型の発信器の保有者を示すアイコンと共に滞在時間を表示する情報を作成することを特徴とする請求項6に記載の位置情報システム。
【請求項8】
前記所定エリアは、複数のフロアを備えた建造物の内部空間であり、
前記サーバは、前記建造物の複数のフロアを階層的に表した全体画像を作成する全体画像作成手段を備え、
前記全体画像作成手段は、前記一括表示画像作成手段が作成した画像にリンクされた矩形画像を仮想フロアとして付加した前記全体画像を作成することを特徴とする請求項7に記載の位置情報システム。
【請求項9】
前記サーバは、前記携帯端末または携帯型の発信器の位置をプライバシー保護領域の情報と共に記録することを特徴とする請求項1~8のいずれかに記載の位置情報システム。
発明の詳細な説明
【技術分野】
【0001】
本発明は、監視エリアとなるビル等の施設内における管理対象の携帯端末等の位置を報知可能な位置情報システムに関し、特に通常時と火災等の非常時における携帯端末等の位置を異なる態様で表示する位置情報システムに関する。
続きを表示(約 2,900 文字)
【背景技術】
【0002】
従来、ビル等の施設内に、無線通信用中継装置または機器固有の識別情報を位置検出用の情報として無線により発信するビーコン等の発信器を設置して、その信号を受信した携帯端末の位置を判定して地図上に表示する位置探索システムや位置情報システムがある(例えば特許文献1、2参照)。また、施設内の各所に設置された火災感知器からの信号に基づいて火災の発生を検知する火災検知システムと上記位置情報システムとを融合して、火災検知情報に基づいて携帯端末の位置を示す地図上に火災の位置等の情報を表示するようにした発明が提案されている(例えば特許文献3参照)。
【先行技術文献】
【特許文献】
【0003】
特開2004-357216号公報
特開2016-206016号公報
特開2020-201699号公報
【発明の概要】
【発明が解決しようとする課題】
【0004】
特許文献1には、ユーザ(携帯端末の保有者)がトイレ等のプライベート領域に居る場合には、ディスプレイ上への表示処理を中止することで、ユーザのプライバシーを保護することが記載されている。
しかしながら、火災が発生した場合には、人命優先の観点から施設内に居る人員の屋外への避難が求められるが、位置情報システムにおいてプライバシー保護のためにディスプレイ上への表示が禁止されていると、正確な避難状況を把握することができず、避難誘導や救助の遅れが発生するおそれがあるという課題がある。
【0005】
また、施設内に設置された無線通信用中継装置やビーコンからの無線信号(電波)に基づいて端末位置を把握する位置情報やシステムにおいては、動作環境の影響により各端末が受信する電波強度に揺らぎが生じることが知られており、その揺らぎによって端末の位置にズレが生じる。その結果、プライベート領域に端末が移動することで位置表示がされなくなった後、端末の実際の位置は変わらないのに電波強度の揺らぎによりプライベート領域以外に居ると判定されてディスプレイ上に表示されてしまうという状況が発生するおそれがあるという課題がある。
【0006】
本発明は上記のような課題に着目してなされたものでその目的とするところは、通常時はプライバシーを保護しつつ火災等の非常時にはすべての携帯端末の保有者または人物の情報を表示させることができる位置情報システムを提供することにある。
本発明の他の目的は、プライバシーを保護したい領域に携帯端末が移動することで情報が表示されなくなった後に、携帯端末の位置は変わらないのに電波強度の揺らぎにより誤って携帯端末の保有者の情報が表示されてしまうのを防止することができる位置情報システムを提供することにある。
本発明のさらに他の目的は、システムの利用者(ユーザ)の属性(権限、資格等)に応じてそれぞれに適した位置情報を表示させることが可能な位置情報システムを提供することにある。
【課題を解決するための手段】
【0007】
上記課題を解決するために、この発明は、
受信した発信器又は受信器の固有情報に基づいて、前記発信器または/および前記受信器と近距離通信を行う携帯端末または携帯型の発信器の位置を把握する機能を有するサーバを備えた位置情報システムであって、
前記サーバは、
管理エリア内の所定エリアの任意の領域にプライバシー保護領域を設定する領域設定手段と、
前記発信器又は受信器の固有情報に基づいて前記発信器または/および前記受信器と近距離通信を行う前記携帯端末または携帯型の発信器の位置を把握し、把握した位置が前記プライバシー保護領域内であるか否かを判定する領域判定手段と、
把握した前記携帯端末または携帯型の発信器の位置および当該位置を含む管理エリアの地図情報と前記領域判定手段による判定結果情報を送信する情報送信手段と、
を備え、
通常時に前記携帯端末または携帯型の発信器の位置が前記プライバシー保護領域内であると判定された場合には当該携帯端末または携帯型の発信器の保有者の個人情報を閲覧不能にする一方、
非常時に前記携帯端末または携帯型の発信器の位置が前記プライバシー保護領域内であると判定された場合には当該携帯端末または携帯型の発信器の保有者の個人情報を閲覧可能にするように構成したものである。
【0008】
上記のような構成を有する位置情報システムによれば、通常時に携帯端末及び携帯型の発信器の位置がプライバシー保護領域内であると判定された場合には当該携帯端末の保有者または携帯型の発信器の保有者の個人情報が閲覧不能にされ、非常時に携帯端末及び携帯型の発信器の位置がプライバシー保護領域内であると判定された場合には当該携帯端末及び携帯型の発信器の保有者の個人情報が閲覧可能にされるため、プライバシーを保護しつつ非常時にはすべての携帯端末及び携帯型の発信器の保有者の情報を表示させることができる。これによって、例えば建物の管理者や防災担当者等が監視対象エリア内の避難状況を正確に把握することができ、避難誘導や救助の遅れが発生するのを回避することができる。
【0009】
ここで、望ましくは、所定エリアに設置された火災感知器からの火災検出信号を受信可能な装置より送信された火災の発生場所情報を含む火災情報に基づいて、前記火災の発生位置を判定する火災監視装置をさらに備え、
前記非常時は、前記サーバが前記火災監視装置からの火災情報を受信した場合であるように構成する。
かかる構成によれば、火災監視システムを利用してサーバに火災の発生を報知するシステムを構築することができるとともに、火災が発生した際に監視対象エリア内の避難状況を正確に把握することができる。
【0010】
また、望ましくは、前記サーバは、利用者(ユーザ)の属性を判定する属性判定手段を備え、判定した属性に応じて前記プライバシー保護領域内に居ることが把握された携帯端末または携帯型の発信器の保有者の個人情報を閲覧不能または閲覧可能にする情報を生成するように構成する。
ここで、「利用者(ユーザ)」とは、例えば予めシステムに属性と合わせて登録された利用者を指す。
かかる構成によれば、システムの利用者の属性(権限、資格等)に応じて、プライバシー保護領域内に居る携帯端末または携帯型の発信器の保有者の個人情報を閲覧不能または閲覧可能にさせることができ、それによってプライバシーを保護しつつ非常時には建物の管理者や防災担当者等特定の者に対してのみ個人情報を閲覧させることができるため、適切な避難誘導や救助を実行することができる。
(【0011】以降は省略されています)
この特許をJ-PlatPat(特許庁公式サイト)で参照する
関連特許
日本精機株式会社
警報システム
1か月前
個人
自動電動車椅子
28日前
株式会社SUBARU
車両
7日前
スズキ株式会社
運転支援装置
1か月前
エムケー精工株式会社
車両誘導装置
1か月前
個人
磁気路上での車両の路線離脱防御
17日前
ニッタン株式会社
検知器
1か月前
ニッタン株式会社
検知器
1か月前
株式会社国際電気
防災システム
1か月前
ニッタン株式会社
発信機
2か月前
ニッタン株式会社
検知器
1か月前
ニッタン株式会社
検知器
14日前
トヨタ自動車株式会社
車両
2か月前
株式会社小糸製作所
移動体検出装置
1か月前
大阪瓦斯株式会社
音声出力システム
13日前
トヨタ自動車株式会社
サーバ
21日前
日本信号株式会社
異常走行検出装置
21日前
株式会社SUBARU
運転支援装置
15日前
三菱自動車工業株式会社
制御システム
13日前
株式会社CCT
通信装置及び表示方法
14日前
株式会社デンソー
運航管理装置
6日前
日本精機株式会社
報知装置及び報知システム
27日前
株式会社小糸製作所
車両検出システム
1か月前
株式会社 ミックウェア
車内環境制御システム
2日前
株式会社SUBARU
事故情報収集装置
7日前
能美防災株式会社
火災感知器
1か月前
ヨシモトポール株式会社
接近報知システム
1か月前
株式会社SUBARU
車室内異常検知装置
7日前
本田技研工業株式会社
物体検出装置
1か月前
ホーチキ株式会社
火災検出システム
9日前
能美防災株式会社
非常伝達装置
1か月前
本田技研工業株式会社
情報提供装置
2か月前
本田技研工業株式会社
情報提供装置
2か月前
株式会社関電工
車両運行通知システム
2日前
シャープ株式会社
駐車制御装置
20日前
能美防災株式会社
火災感知器及び火災報知システム
6日前
続きを見る
他の特許を見る