TOP
|
特許
|
意匠
|
商標
特許ウォッチ
Twitter
他の特許を見る
10個以上の画像は省略されています。
公開番号
2025148276
公報種別
公開特許公報(A)
公開日
2025-10-07
出願番号
2025038935
出願日
2025-03-12
発明の名称
表示部材を保持する歯車セットを備え、防振装置を備えた電気機械式時計ムーブメント
出願人
ウーテーアー・エス・アー・マニファクチュール・オロロジェール・スイス
代理人
個人
,
個人
,
個人
主分類
G04B
35/00 20060101AFI20250930BHJP(時計)
要約
【課題】取り付けが容易であり、表示歯車セットの取り付けの準備段階で取り付けることができる防振/浮動防止装置を提供する。
【解決手段】電気機械式時計ムーブメント2は、表示針48を保持するよう意図された心棒36を備える表示歯車セット30と、表示歯車セット30に結合され、制動ばね10と、制動ばね10と表示歯車セット30の心棒36との間に配置されたワッシャ8とを備える制動装置とを備え、制動ばね10は、表示歯車セット30が回転駆動トルクを受けると直ちに、制動ばね10が押圧するワッシャ8を介して、表示歯車セット30に制動トルクを発生させることができ、ワッシャ8及び制動ばね10は、ワッシャ8が通常動作時に静止して回転しないままであるように配置され、ワッシャ8は、制動トルクを発生させる摩擦力をワッシャ8の側面と心棒36の回転面との間に発生させるために心棒36に向かって全体的な押圧力を加える。
【選択図】図6
特許請求の範囲
【請求項1】
電気機械式時計ムーブメント(2)であって、
電気機械モータ(54)と、
前記電気機械モータによって回転されるように配置され、表示部材(48)を保持するよう意図された心棒(36)を備える表示歯車セット(30)と、
前記表示歯車セットに結合され、制動ばね(10、10A、10B、11)と、前記制動ばねと前記表示歯車セットの心棒との間に配置された中間部品(8、68、78)とを備える制動装置(6)と
を備え、
前記制動ばねは、この表示歯車セットが回転駆動トルクを受けると直ちに、この制動ばねが押圧する前記中間部品を介して前記表示歯車セットに制動トルクを発生させることができるように配置され、
前記中間部品及び前記制動ばねは、前記中間部品が通常動作時に静止して回転しないままであるように配置され、
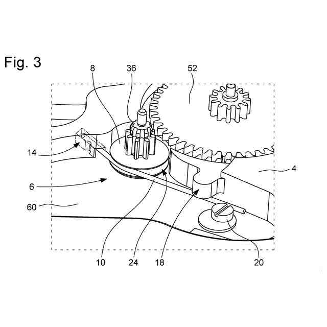
前記中間部品は、前記心棒の回転面(35)を押圧する側面(9)と、前記制動トルクを発生させる摩擦力を前記側面と前記回転面との間に発生させるために前記制動ばねが前記心棒に向かって全体的な押圧力を加える軸受面(25)とを有する、時計ムーブメント。
続きを表示(約 1,300 文字)
【請求項2】
前記中間部品(8、68、78)は、前記表示歯車セット(30)の心棒(36)に半径方向の圧力のみを加えることを特徴とする、請求項1に記載の時計ムーブメント。
【請求項3】
前記心棒は中心軸(42)を画定し、前記回転面(35)は円筒状かつ軸方向であり、前記側面(9)は軸方向であることを特徴とする、請求項1に記載の時計ムーブメント。
【請求項4】
前記制動ばね(10、10A、10B、11)は線ばね又は帯ばねであり、前記線ばね又は帯ばねの長手軸が前記ムーブメントの一般平面(50)に平行な幾何学的平面内に位置することを特徴とする、請求項1から3のいずれか一項に記載の時計ムーブメント。
【請求項5】
前記制動ばね(10、10A、10B、11)は、この制動ばねの中央部が前記中間部品(8、68、78)の前記軸受面に前記押圧力を加えるように配置され、前記中央部の両側にそれぞれ位置する前記制動ばねの両端部は、この中央部が前記軸受面に押圧力を加えるように前記時計ムーブメントの2つの遠隔部(16、20)によって応力を受けることを特徴とする、請求項4に記載の時計ムーブメント。
【請求項6】
前記制動ばね(10、10A、10B)は、前記時計ムーブメントに固定されずにこの時計ムーブメントの前記遠隔部(16、20)によって張力を受けて保持され、前記制動ばねの前記両端部は、前記遠隔部(16、20)を前記幾何学的平面においてそれぞれ2方向に押圧することを特徴とする、請求項5記載の時計ムーブメント。
【請求項7】
このムーブメントは偏心器(20)を備え、前記偏心器(20)の回転軸は前記幾何学的平面に対して垂直であり、前記偏心器(20)は、その回転軸を中心とする回転によって、前記制動ばねが前記中間部品(8、68、78)に加える前記押圧力を変化させることができるように、前記制動ばね(10、10A、10B、11)を押圧するように配置されることを特徴とする、請求項5に記載の時計ムーブメント。
【請求項8】
前記中間部品は、前記表示歯車セットの心棒(36)が通る中心開口部を有するワッシャ(8)であり、このワッシャの前記側面(9)は、その中心開口部の円筒面によって画定されることを特徴とする、請求項1から3のいずれか一項に記載の時計ムーブメント。
【請求項9】
前記ワッシャ(8)は、その周囲に、前記軸受面(25)を画定する溝(24)を有し、前記溝(24)に、前記心棒の方向に前記押圧力を加える前記制動ばね(10)の少なくとも一部が挿入されることを特徴とする、請求項8に記載の時計ムーブメント。
【請求項10】
前記中間部品(8)は、前記軸受面(25)とは正反対の当接面(26)に面して配置され、これにより前記中間部品と前記制動ばねは、前記表示歯車セット(30)を組み付ける前に、前記中間部品が前記当接面に当接した状態で、前記電気機械式時計ムーブメント内に事前に組み付けることができることを特徴とする、請求項1から3のいずれか一項に記載の時計ムーブメント。
(【請求項11】以降は省略されています)
発明の詳細な説明
【技術分野】
【0001】
本発明は、表示部材、特に針を保持する歯車セットを備え、表示部材が回転する際に振動するのを防ぎかつ表示部材が静止している時間間隔及び期間中に浮動するのも防ぐために歯車セットに作用する制動装置によって形成される防振装置(浮動防止装置とも呼ばれる)を備えた電気機械式時計ムーブメントに関する。
続きを表示(約 3,400 文字)
【背景技術】
【0002】
スイスの特許文献1は、時計用歯車セット、特にクロノグラフ用歯車セット(以下「クロノ歯車セット」とも呼ばれる)のための防振装置を開示しており、防振装置はピニオンが取り付けられた心棒を備え、ピニオンはつづみ車(以下「駆動ホイール」と呼ばれる)と噛み合ってクロノグラフ機構のための連結装置を形成する。なお、回転をガイドするピボットが取り付けられた心棒は、時計製造において「シャフト」とも呼ばれる。クロノグラフ機能の秒針のための防振装置は、前記心棒に斜めに当接する線ばねを備える摩擦装置によって形成され、前記心棒は、この目的のために円錐台状の肩部を有し、線ばねは、この肩部とその直径が肩部の最小直径に相当する円筒部とによって形成される角度で支持点を有し、この点において前記心棒に斜めの力を加え、その結果、ピニオンの歯が駆動ホイールを押圧し、前記肩部の反対側で、心棒によって画定される軸線と直交する心棒の下部環状面が、クロノグラフ歯車セットが旋回するベアリングを軸方向に押圧する。ばねは、応力がない場合に直線であるように設計される。このばねは、第1端側でムーブメントのフレームに固定され、一方、第2端側の一部が張力を受けて先に説明したように心棒を押圧する。
いくつかの理由から、この防振装置は、クロノグラフ歯車セットに加えられる摩擦力のモーメントの制御に関する問題を引き起こす。また、この摩擦力のモーメントを調整する方法がない。その後、クロノグラフ針(クロノ針)を取り外すと、ばねはこのばねに損傷を与える可能性がある軸方向の力を受ける。
【0003】
ドイツの特許文献2には、秒歯車セットに加えられる摩擦力のモーメントの制御を改善するための解決策が記載されている。この文献の教示によれば、線ばね又は帯ばねは、その第1の端部において、リベット留め技術によってプレートに固定され、このプレートは、プレートが位置する側とは反対側のバーの一方の側に配置されたねじ状スロットを有する頭部を有するリベットによって吊り下げられる。リベットは、リベット及びプレート及びばねの第1の端部が工具を用いて一定の回転を受けることを可能にする摩擦嵌めによってバーの穴に挿入される中間円筒部を有する。摩擦ばねの第2の端部は自由であり、秒歯車セットの心棒に圧力嵌め/圧入されたプラスチック製ワッシャに半径方向に当接し、このワッシャは、ばねの第2の端部が配置される横方向の溝を有する。このシステムは、時計ムーブメント内に組み付けるのが非常に困難である。まず、摩擦ばねは、その第1の端部をスロットに挿入し、次にこのスロットの両端に材料を押し付けて第1のリベット留め作業を行うことによって、プレートに固定しなければならない。次に、リベットをバーの穴に反対側から挿入した後、摩擦ばね付きのプレートをバーの内側に持ってこなければならない。次に、リベットの端部を潰し、プレートをリベットに固定するために第2のリベット留め作業を行わなければならない。2回の連続したリベット留め作業によって、摩擦ばねをプレートに、次にバーに組み付ける各段階で、摩擦ばねに損傷を与える危険性が高いことがわかる。最後に、バー、プレート及び摩擦ばねのアセンブリは、溝付きワッシャを保持する秒歯車セットの心棒のピボットを該当するバーに配置されたベアリングに挿入するのとほぼ同時に時計ムーブメント内に組み付けられる。このような組み付けは、ばねがバーに強固に接続され、張力を受けたばねの自由端を受け入れるように設計された溝付きワッシャが心棒に強固に接続されるため、ばねを溝付きワッシャの上に積み重ねないことを必要とする。したがって、ばねの第1の組立/分解位置と、ばねの自由端をワッシャの溝に入れてばねに張力を加える第2の作業位置とが存在する。一方の位置から他方の位置に移動させるために、時計職人はリベット頭部に作用する工具を使用しなければならず、これにより、メンテナンスのために取り外したときに設定されたばねの張力が失われる。その結果、秒歯車セットを組み立てるたびに、制動力のモーメントを再調整しなければならない。ここで説明した組み付け方法は、実施が困難であり、時間がかかる。
【0004】
また、この防振装置は、秒歯車セットに加えられる力のモーメントを調整して振動を防ぐという問題に対する完璧な解決策を提供しない。摩擦力は、特にプラスチックワッシャの横方向溝の形状と、この溝に挿入されてワッシャを半径方向に押圧するばねの端部の形状とによって定められるからである。このような摩擦力は、ばねと溝の寸法、それぞれの形状及びそれぞれの表面仕上げに大きく依存するため、制御及び再現が困難である。もう1つの問題は、秒歯車セットの心棒に中間部品を組み付けると、歯車セットの半径方向の振動が増大し、したがって、特にばねが半径方向の振動が少ない従来の心棒を直接圧迫する場合に、このような中間部品がない場合よりも大きな変動を引き起こすことに起因する。また、時計に振動又は衝撃が加わった場合に、ばねの第2の自由端が溝付きワッシャから外れ、一定の制動トルクを保証できなくなる可能性がある。さらに悪いことに、激しい衝撃が加わった場合に、摩擦のみで所定の位置に保持されているばね固定プレートが角度方向に移動し、制動設定を変化させる可能性がある。
【先行技術文献】
【特許文献】
【0005】
スイス特許第580301号明細書
独国実用新案出願公開第6800934号明細書
【発明の概要】
【発明が解決しようとする課題】
【0006】
本発明の目的は、表示部材を保持するよう意図された少なくとも1つの表示歯車セットが時計用モータによって回転駆動される時間間隔以外では保持トルクを受けないことによって振動/浮動の問題をも有する電気機械式ムーブメントの場合に、上記の従来技術の問題を解決することである。特に、本発明は、電気機械モータによって回転駆動される表示歯車セットのための防振/浮動防止装置であって、取り付けが容易であり、好ましい代替実施形態では、当該表示歯車セットの取り付けの準備段階で取り付けることができる防振/浮動防止装置を提案する。
【課題を解決するための手段】
【0007】
このために、本発明は、電気機械式時計ムーブメントであって、電気機械モータと、電気機械モータによって回転駆動されることができるように配置され、表示部材を保持するよう意図された心棒を備える表示歯車セットと、表示歯車セットに結合され、制動ばねと、制動ばねと表示歯車セットの心棒との間に配置された中間部品とを備える制動装置とを備える電気機械式時計ムーブメントに関する。制動ばねは、表示歯車セットが回転駆動トルクを受けると直ちに、この制動ばねが押圧する中間部品を介して、表示歯車セットに制動トルクを発生させることができるように配置される。中間部品及び制動ばねは、中間部品が通常動作時に静止して回転しないままであるように配置され、この中間部品は、前記心棒の回転面を押圧する側面と、前記制動トルクを発生させる摩擦力を側面と回転面との間に発生させるために制動ばねが心棒に向かって全体的な押圧力を加える軸受面とを有する。
【0008】
好ましい一般的な代替実施形態では、中間部品は、表示歯車セットの心棒に半径方向の圧力のみを加える。
【0009】
主要な実施形態では、制動ばねは線ばね又は帯ばねであり、線ばね又は帯ばねの長手軸がムーブメントの一般平面に平行な幾何学的平面内にある。
【0010】
主要な一実施形態では、ムーブメントは偏心器を備え、偏心器の回転軸は前記幾何学的平面に対して垂直であり、偏心器は、その回転軸を中心とする回転によって、制動ばねが中間部品に加える前記半径方向の全体的な押圧力を変化させることができるように、制動ばねを半径方向に押圧するように配置される。
【図面の簡単な説明】
(【0011】以降は省略されています)
この特許をJ-PlatPat(特許庁公式サイト)で参照する
関連特許
個人
砂時計
2か月前
個人
時刻同期システム
2か月前
株式会社ジークエスト
経過年数表示ラベル
8日前
セイコーウオッチ株式会社
時計
2か月前
セイコーウオッチ株式会社
時計
2日前
個人
ワイヤレス給電を使用した針が光るアナログ式時計
1か月前
セイコーエプソン株式会社
電子時計
2か月前
セイコーエプソン株式会社
電子時計
1か月前
セイコーエプソン株式会社
電子時計
22日前
ローム株式会社
時間測定回路
2か月前
オメガ・エス アー
交換可能なベゼルを備える計時器
1か月前
シチズン時計株式会社
時計
7日前
セイコーエプソン株式会社
文字板及び時計
22日前
日本電気株式会社
時刻維持装置および時刻維持方法
1か月前
株式会社村田製作所
光学的パターン表示物品
2か月前
日本電波株式会社
電波時計レピータ
1か月前
シチズン時計株式会社
腕時計
2か月前
セイコーエプソン株式会社
時計用部品及び時計
7日前
セイコーエプソン株式会社
電子制御式機械時計
2か月前
カシオ計算機株式会社
装飾板及び時計
2か月前
カシオ計算機株式会社
制御装置、制御方法、及びプログラム
2か月前
セイコーエプソン株式会社
機械式時計
2か月前
セイコータイムクリエーション株式会社
からくり時計
2か月前
セイコーエプソン株式会社
時計および風防部材の製造方法
2か月前
セイコーエプソン株式会社
リアルタイムクロック装置
1日前
セイコーエプソン株式会社
リアルタイムクロック装置
1日前
カシオ計算機株式会社
電子時計及び電子時計本体
2か月前
カシオ計算機株式会社
外装部品ユニット及び時計
2か月前
コマデュール ソシエテ アノニム
エナメル彫刻及び模様付け方法
1か月前
カシオ計算機株式会社
電子時計、外装部材及びバンド
2か月前
カシオ計算機株式会社
時計、表示制御方法及びプログラム
2か月前
カシオ計算機株式会社
外装部品、外装部品ユニット及び時計
2か月前
セイコーウオッチ株式会社
スイッチ機構、時計用ムーブメントおよび時計
2か月前
カシオ計算機株式会社
電子時計、針位置検出方法及びプログラム
3か月前
シチズン時計株式会社
表示車、時計用ムーブメント及び時計
2か月前
セイコーエプソン株式会社
時計用部品および時計用部品の製造方法
14日前
続きを見る
他の特許を見る