TOP
|
特許
|
意匠
|
商標
特許ウォッチ
Twitter
他の特許を見る
公開番号
2025148038
公報種別
公開特許公報(A)
公開日
2025-10-07
出願番号
2024048608
出願日
2024-03-25
発明の名称
テープ送り装置及びテーピング機
出願人
株式会社 東京ウエルズ
,
株式会社村田製作所
代理人
個人
,
個人
主分類
B65B
15/04 20060101AFI20250930BHJP(運搬;包装;貯蔵;薄板状または線条材料の取扱い)
要約
【課題】各収容部を所望位置に精度良く位置づけるようにキャリアテープを搬送するのに有利なテープ送り装置及びテーピング機を提供する。
【解決手段】ワーク用の収容部を複数有するキャリアテープを送るテープ送り装置は、補正処理を行って、キャリアテープの搬送基準量に対する搬送補正量を決めて、搬送基準量及び搬送補正量に基づいてテープ搬送量を決定する制御装置と、テープ搬送量に応じて、キャリアテープを搬送経路に沿って搬送する搬送デバイスと、搬送経路において、各収容部の位置ずれ量を取得するずれ量取得デバイスと、を備える。補正処理において、搬送補正量は、各収容部の位置ずれ量に基づいて決められ、位置ずれ量が許容範囲内にある場合(S16のY)、搬送補正量の値はゼロであり(S12)、位置ずれ量が許容範囲を超える場合(S16のN)、搬送補正量の値はゼロ以外の値である(S13)。
【選択図】図6
特許請求の範囲
【請求項1】
ワーク用の収容部を複数有するキャリアテープを送るテープ送り装置であって、
補正処理を行って、前記キャリアテープの搬送基準量に対する搬送補正量を決めて、前記搬送基準量及び前記搬送補正量に基づいてテープ搬送量を決定する制御装置と、
前記テープ搬送量に基づいて、前記キャリアテープを搬送経路に沿って搬送する搬送デバイスと、
前記搬送経路において、各収容部の位置ずれ量を取得するずれ量取得デバイスと、を備え、
前記補正処理において、前記搬送補正量は、各収容部の前記位置ずれ量に基づいて決められ、
前記位置ずれ量が許容範囲内にある場合、前記搬送補正量の値はゼロであり、
前記位置ずれ量が前記許容範囲を超える場合、前記搬送補正量の値はゼロ以外の値である、
テープ送り装置。
続きを表示(約 800 文字)
【請求項2】
前記キャリアテープは、等間隔に設けられる複数の位置基準部を有し、
前記ずれ量取得デバイスは、前記複数の位置基準部の位置と複数の収容部の位置とを比較することで、各収容部の前記位置ずれ量を取得する、
請求項1に記載のテープ送り装置。
【請求項3】
前記キャリアテープは、複数の搬送孔を有し、
前記搬送デバイスは搬送体を有し、当該搬送体が1つ以上の搬送孔に挿入されている状態で当該搬送体から前記キャリアテープに搬送力を作用させることで前記キャリアテープを搬送し、
前記ずれ量取得デバイスは、前記複数の搬送孔を前記複数の位置基準部として用いる、
請求項2に記載のテープ送り装置。
【請求項4】
前記搬送デバイスは、前記制御装置の制御下で入力される駆動信号に基づいて作動する搬送モーターを有し、
前記搬送モーターから出力される動力による前記キャリアテープの搬送量は、前記駆動信号のパルス数に基づいて定められ、
前記制御装置は、前記搬送基準量に対応する基準パルス数と、前記搬送補正量に対応する補正パルス数とに基づいて、前記駆動信号のパルス数を決定する、
請求項1に記載のテープ送り装置。
【請求項5】
前記制御装置は、前記基準パルス数及び前記補正パルス数に応じたパルスレートで前記搬送モーターが作動するように、前記補正パルス数に基づいて前記駆動信号のパルスを決定する、
請求項4に記載のテープ送り装置。
【請求項6】
ワーク用の収容部を複数有するキャリアテープを送る請求項1~5のいずれか一項に記載のテープ送り装置と、
トップテープを、前記複数の収容部を覆うように前記キャリアテープに接合するテープ接合装置と、
を備えるテーピング機。
発明の詳細な説明
【技術分野】
【0001】
本開示は、テープ送り装置及びテーピング機に関する。
続きを表示(約 1,300 文字)
【背景技術】
【0002】
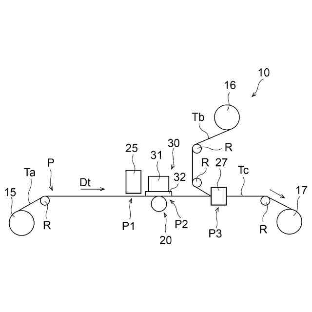
トップテープをキャリアテープに熱圧着することで、キャリアテープに設けられる多数の凹部のそれぞれに収容されているワーク(電子部品など)を、キャリアテープ及びトップテープによって封止するテーピング機が知られている(特許文献1参照)。
【先行技術文献】
【特許文献】
【0003】
特開2022-41083号公報
【発明の概要】
【発明が解決しようとする課題】
【0004】
キャリアテープに設けられる多数の凹部(収容部)の各々にワークを収容するため、凹部を所定の挿入位置に順次位置づけるようにキャリアテープが送られつつ、挿入位置に次々に位置づけられる凹部の各々にワークが挿入される。
【0005】
しかしながらキャリアテープに設けられる多数の凹部は、製造誤差などの様々な要因に起因して、必ずしもすべてがキャリアテープの所望位置に正確に形成されているとは限らず、本来の位置からずれた位置に形成されている凹部を含みうる。
【0006】
そのようなずれた位置に形成される凹部は、ワークが挿入される際に、実際には挿入位置からずれた位置に配置されることになり、ワークが適切に挿入(収容)されないことがある。また場合によっては、キャリアテープ(例えば凹部を区画するエッジ部分)及びワークが意図しない状態で互いに衝突して大きな力を受け、その結果、キャリアテープ及び/又はワークが損傷する懸念もある。
【0007】
本開示は上述の事情に鑑みてなされたものであり、各収容部を所望位置に精度良く位置づけるようにキャリアテープを搬送するのに有利なテープ送り装置及びテーピング機を提供する。
【課題を解決するための手段】
【0008】
本開示の一態様は、ワーク用の収容部を複数有するキャリアテープを送るテープ送り装置であって、補正処理を行って、キャリアテープの搬送基準量に対する搬送補正量を決めて、搬送基準量及び搬送補正量に基づいてテープ搬送量を決定する制御装置と、テープ搬送量に応じて、キャリアテープを搬送経路に沿って搬送する搬送デバイスと、搬送経路において、各収容部の位置ずれ量を取得するずれ量取得デバイスと、を備え、補正処理において、搬送補正量は、各収容部の位置ずれ量に基づいて決められ、位置ずれ量が許容範囲内にある場合、搬送補正量の値はゼロであり、位置ずれ量が許容範囲を超える場合、搬送補正量の値はゼロ以外の値である、テープ送り装置に関する。
【0009】
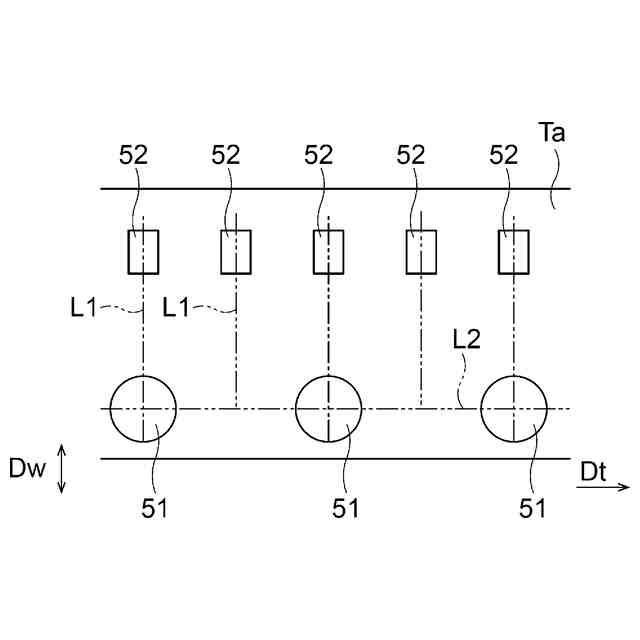
キャリアテープは、等間隔に設けられる複数の位置基準部を有してもよく、ずれ量取得デバイスは、複数の位置基準部の位置と複数の収容部の位置とを比較することで、各収容部の位置ずれ量を取得してもよい。
【0010】
キャリアテープは、複数の搬送孔を有してもよく、搬送デバイスは搬送体を有してもよく、当該搬送体が1つ以上の搬送孔に挿入されている状態で当該搬送体からキャリアテープに搬送力を作用させることでキャリアテープを搬送してもよく、ずれ量取得デバイスは、複数の搬送孔を複数の位置基準部として用いてもよい。
(【0011】以降は省略されています)
この特許をJ-PlatPat(特許庁公式サイト)で参照する
関連特許
株式会社 東京ウエルズ
ワークの姿勢補正装置
18日前
株式会社 東京ウエルズ
電子部品の電気的計測装置
18日前
株式会社 東京ウエルズ
テープ送り装置及びテーピング機
今日
株式会社 東京ウエルズ
テープ送り装置及びテーピング機
今日
株式会社 東京ウエルズ
ワーク搬送装置及びワーク搬送方法
8日前
株式会社 東京ウエルズ
部品収容システム及び部品収容方法
8日前
株式会社 東京ウエルズ
ステージユニット及び処理システム
18日前
株式会社 東京ウエルズ
ステージユニット及び処理システム
18日前
株式会社 東京ウエルズ
画像検査装置、画像検査方法及び画像検査プログラム
4日前
個人
箱
12か月前
個人
ゴミ箱
11か月前
個人
収容箱
2か月前
個人
コンベア
4か月前
個人
段ボール箱
6か月前
個人
容器
8か月前
個人
ゴミ収集器
6か月前
個人
段ボール箱
6か月前
個人
楽ちんハンド
4か月前
個人
土嚢運搬器具
7か月前
個人
バンド
1か月前
個人
角筒状構造体
4か月前
個人
パウチ補助具
11か月前
個人
宅配システム
6か月前
個人
閉塞装置
9か月前
個人
コード類収納具
7か月前
個人
お薬の締結装置
5か月前
個人
廃棄物収容容器
2か月前
個人
包装容器
18日前
個人
ゴミ処理機
8か月前
個人
把手付米袋
3か月前
個人
蓋閉止構造
3か月前
株式会社和気
包装用箱
8か月前
個人
蓋閉止構造
3か月前
株式会社コロナ
梱包材
4か月前
個人
貯蔵サイロ
6か月前
個人
積み重ね用補助具
2か月前
続きを見る
他の特許を見る