TOP
|
特許
|
意匠
|
商標
特許ウォッチ
Twitter
他の特許を見る
公開番号
2025139998
公報種別
公開特許公報(A)
公開日
2025-09-29
出願番号
2024039122
出願日
2024-03-13
発明の名称
部品収容システム及び部品収容方法
出願人
株式会社 東京ウエルズ
代理人
個人
,
個人
主分類
B65G
47/46 20060101AFI20250919BHJP(運搬;包装;貯蔵;薄板状または線条材料の取扱い)
要約
【課題】複数の電子部品をケースに精度良く収容するのに有利な部品収容システム及び部品収容方法を提供する。
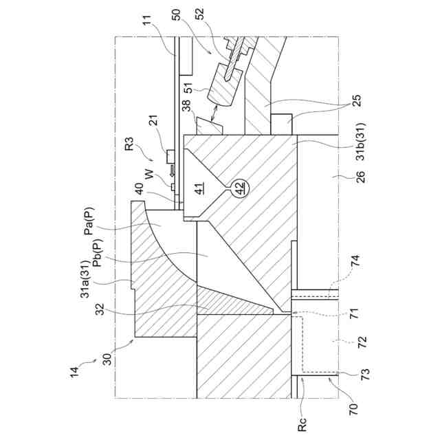
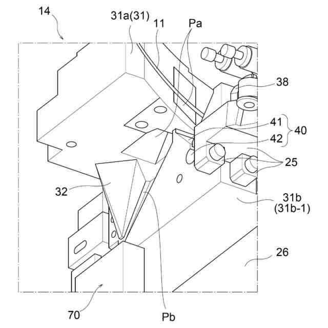
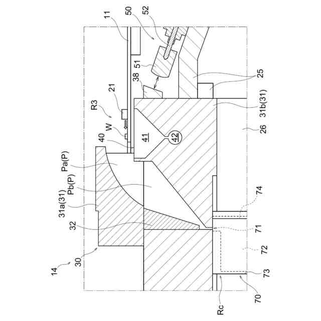
【解決手段】部品収容システム10は、電子部品Wを収容可能な収容ケース70のケース投入口71に接続される誘導路Pを区画するガイド区画部31と、誘導路Pにおいて鉛直方向に延在する誘導支柱32とを有するガイドユニット30と、回収エリアR3に位置づけられる電子部品Wを誘導路Pに向けて吹き飛ばすように、当該電子部品Wに向けてガスを噴出するガス噴出部21と、を備える。誘導路Pは、上流誘導路Paと、上流誘導路Paよりもケース投入口71側に位置する下流誘導路Pbとを含み、下流誘導路Pbは、ケース投入口71に向けて徐々に狭くなる。
【選択図】図3
特許請求の範囲
【請求項1】
電子部品を収容可能な収容ケースのケース投入口に接続される誘導路を区画するガイド区画部と、前記誘導路において鉛直方向に延在する誘導支柱とを有するガイドユニットと、
回収エリアに位置づけられる電子部品を前記誘導路に向けて吹き飛ばすように、当該電子部品に向けてガスを噴出するガス噴出部と、を備え、
前記誘導路は、上流誘導路と、前記上流誘導路よりも前記ケース投入口側に位置する下流誘導路とを含み、
前記下流誘導路は、前記ケース投入口に向けて徐々に狭くなる部品収容システム。
続きを表示(約 940 文字)
【請求項2】
前記誘導支柱は、下方に向かって細くなる、請求項1に記載の部品収容システム。
【請求項3】
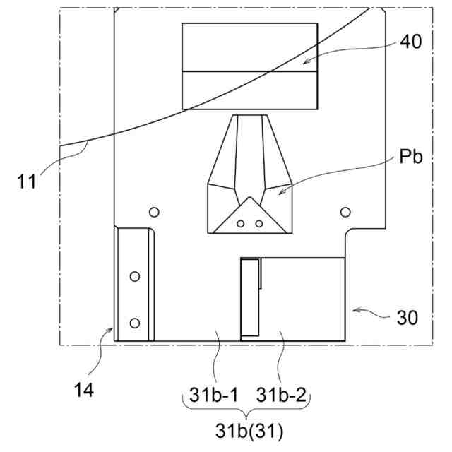
前記ガイド区画部は、前記上流誘導路を区画する上流ガイド区画部と、前記下流誘導路を区画する下流ガイド区画部と、を有し、
前記誘導支柱は、前記下流ガイド区画部から取り外し可能に、前記ガイド区画部に取り付けられている、
請求項1に記載の部品収容システム。
【請求項4】
電子部品が載せられ、当該電子部品を前記回収エリアに位置づける搬送テーブルと、
前記回収エリアにおいて前記搬送テーブルよりも下方に位置し、前記誘導路から飛翔してくる電子部品を受け入れ可能に設けられる回収部と、
を備える請求項1に記載の部品収容システム。
【請求項5】
前記ガイド区画部の少なくとも一部を振動させる振動部を備える請求項1に記載の部品収容システム。
【請求項6】
前記ガス噴出部によって前記回収エリアから前記誘導路に向けて吹き飛ばされた電子部品の数に基づいて前記ガイド区画部の少なくとも一部を振動させるように、前記振動部を制御する振動制御部を備える請求項5に記載の部品収容システム。
【請求項7】
請求項1~6のいずれか一項に記載の部品収容システムによって複数の電子部品を前記収容ケースに収容する部品収容方法であって、
搬送テーブルによって前記複数の電子部品を上流から下流に向けて搬送する工程と、
前記搬送テーブルによって処理エリアに位置づけられる電子部品に対し、処理装置が処理を行う工程と、
前記搬送テーブルによって、前記処理エリアよりも下流に位置する前記回収エリアに電子部品を位置づける工程と、
前記回収エリアに位置づけられる電子部品を前記誘導路に向けて吹き飛ばすように、当該電子部品に向けて前記ガス噴出部からガスを噴出する工程と、を含み、
前記回収エリアから前記誘導路に向けて吹き飛ばされた電子部品は、前記誘導路において前記ケース投入口に向かって進行するように前記ガイド区画部及び前記誘導支柱によって誘導される、
部品収容方法。
発明の詳細な説明
【技術分野】
【0001】
本開示は部品収容システム及び部品収容方法に関する。
続きを表示(約 1,100 文字)
【背景技術】
【0002】
多数の小型電子部品を運搬するため、複数の電子部品を個別に封止しつつ収容するテープ体(いわゆるキャリアテープ及びトップテープ)の使用の他に、複数の電子部品を共通の収容空間に収容する箱状ケースの使用が提案されている。このような箱状ケースは、バルクケースと呼ばれることもあり、コンパクトな構成で多くの電子部品を収容することが可能であるとともに、再使用も可能である。
【0003】
特許文献1は、多数の部品を自動的にケースに収容することを可能にするための部品収容装置を開示する。
【先行技術文献】
【特許文献】
【0004】
特開2022-143407号公報
【発明の概要】
【発明が解決しようとする課題】
【0005】
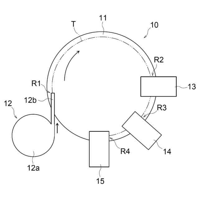
ケースを使って多数の電子部品を運搬するために、テーブル上の電子部品の検査等の処理を行った後に、電子部品をテーブル上から吹き飛ばすことでケースに回収することが考えられる。例えばテーブル上の複数の電子部品を誘導路(ガイド区画部)に向けて連続的に吹き飛ばすことで、これらの電子部品が、次々と誘導路を通ってケース(特に投入口)に向かって進行し、最終的に投入口を介してケース内に収容される。
【0006】
本開示は、複数の電子部品をケースに精度良く収容するのに有利な技術を提供することを目的とする。
【課題を解決するための手段】
【0007】
本開示の一態様は、電子部品を収容可能な収容ケースのケース投入口に接続される誘導路を区画するガイド区画部と、誘導路において鉛直方向に延在する誘導支柱とを有するガイドユニットと、回収エリアに位置づけられる電子部品を誘導路に向けて吹き飛ばすように、当該電子部品に向けてガスを噴出するガス噴出部と、を備え、誘導路は、上流誘導路と、上流誘導路よりもケース投入口側に位置する下流誘導路とを含み、下流誘導路は、ケース投入口に向けて徐々に狭くなる部品収容システムに関する。
【0008】
誘導支柱は、下方に向かって細くなってもよい。
【0009】
ガイド区画部は、上流誘導路を区画する上流ガイド区画部と、下流誘導路を区画する下流ガイド区画部と、を有し、誘導支柱は、下流ガイド区画部から取り外し可能に、ガイド区画部に取り付けられてもよい。
【0010】
部品収容システムは、電子部品が載せられ、当該電子部品を回収エリアに位置づける搬送テーブルと、回収エリアにおいて搬送テーブルよりも下方に位置し、誘導路から飛翔してくる電子部品を受け入れ可能に設けられる回収部と、を備えてもよい。
(【0011】以降は省略されています)
この特許をJ-PlatPat(特許庁公式サイト)で参照する
関連特許
株式会社 東京ウエルズ
部品収納体成形装置
今日
株式会社 東京ウエルズ
電子部品収容装置及び電子部品収容方法
1日前
個人
箱
12か月前
個人
収容箱
2か月前
個人
ゴミ箱
11か月前
個人
コンベア
4か月前
個人
段ボール箱
6か月前
個人
段ボール箱
6か月前
個人
ゴミ収集器
6か月前
個人
容器
8か月前
個人
土嚢運搬器具
7か月前
個人
パウチ補助具
11か月前
個人
楽ちんハンド
4か月前
個人
バンド
1か月前
個人
宅配システム
6か月前
個人
角筒状構造体
4か月前
個人
閉塞装置
9か月前
個人
廃棄物収容容器
2か月前
個人
コード類収納具
7か月前
個人
包装容器
20日前
個人
お薬の締結装置
5か月前
個人
貯蔵サイロ
6か月前
個人
蓋閉止構造
3か月前
個人
ゴミ処理機
8か月前
株式会社和気
包装用箱
8か月前
株式会社バンダイ
物品
1日前
個人
把手付米袋
4か月前
株式会社コロナ
梱包材
4か月前
個人
蓋閉止構造
3か月前
個人
積み重ね用補助具
2か月前
個人
袋入り即席麺
6か月前
個人
介護用コップ
1か月前
個人
輸送積荷用動吸振器
5か月前
株式会社イシダ
搬送装置
5か月前
三甲株式会社
蓋体
8か月前
個人
搬送システム
6か月前
続きを見る
他の特許を見る