TOP
|
特許
|
意匠
|
商標
特許ウォッチ
Twitter
他の特許を見る
10個以上の画像は省略されています。
公開番号
2025147877
公報種別
公開特許公報(A)
公開日
2025-10-07
出願番号
2024048365
出願日
2024-03-25
発明の名称
基板保持部材及びセラミックスサセプタ
出願人
日本特殊陶業株式会社
代理人
弁理士法人i-MIRAI
,
個人
,
個人
主分類
H01L
21/683 20060101AFI20250930BHJP(基本的電気素子)
要約
【課題】落下などにより基板保持部材に意図しない外力が加わった場合であっても、基板保持部材を構成するセラミックス材料に衝撃が直接かかることを抑制するための技術を提供する。
【解決手段】
静電チャックモジュール100は、板状のセラミックス基材110と、セラミックス基材110の下面113に接合された板状のセラミックス基台150と、セラミックス基台150の下面153に接合された樹脂製の保護部材160とを備えている。
【選択図】 図2
特許請求の範囲
【請求項1】
第1主面及び前記第1主面と上下方向に対向する第2主面を有する板状のセラミックス基材と、
前記セラミックス基材の前記第2主面に接合された第3主面、前記第3主面と前記上下方向に対向する第4主面、並びに、前記第3主面及び前記第4主面を前記上下方向に連結する側面を有し、内部に流路が形成された板状のセラミックス基台と、
前記セラミックス基台の、前記側面の一部又は前記第4主面の一部に密着して配置され、樹脂、金属、又は前記セラミックス基台を構成するセラミックスと異なるセラミックスにより形成された保護部材と、を備えることを特徴とする基板保持部材。
続きを表示(約 430 文字)
【請求項2】
前記セラミックス基台の前記側面の一部又は前記第4主面の一部と、前記保護部材との間に、接合層が配置されている請求項1に記載の基板保持部材。
【請求項3】
前記セラミックス基台の前記側面の一部又は前記第4主面の一部と、前記保護部材とは、直接接合されている請求項1に記載の基板保持部材。
【請求項4】
前記保護部材は、溶射層である請求項1に記載の基板保持部材。
【請求項5】
半導体製造用の基板保持部材が載置される上面、前記上面と上下方向に対向する下面、並びに、前記上面及び前記下面を前記上下方向に連結する側面を有し、内部に流路が形成された板状のセラミックス基台と、
前記セラミックス基台の、前記側面の一部又は前記下面の一部に密着して配置され、樹脂、金属、又は前記セラミックス基台を構成するセラミックスと異なるセラミックスにより形成された保護部材と、を備えるセラミックスサセプタ。
発明の詳細な説明
【技術分野】
【0001】
本発明は、基板保持部材及びセラミックスサセプタに関する。
続きを表示(約 2,300 文字)
【背景技術】
【0002】
特許文献1には、ウェハなどの基板を保持するウェハ載置面を有する基板保持部材の一例としての、静電チャックが開示されている。特許文献1に記載の静電チャックは、流路を形成する孔が設けられたグリーンシートを含む複数のグリーンシートを積層し、焼成することにより製造されている。
【先行技術文献】
【特許文献】
【0003】
特開2016-96336号公報
【発明の概要】
【発明が解決しようとする課題】
【0004】
特許文献1に記載の静電チャックは、多結晶セラミックス焼結体であるセラミックス誘電体基板と、セラミックス誘電体基板の内部に配置された電極とを備えている。例えば、静電チャックをハンドリングする際に、誤って落下させた場合などには、セラミックス誘電体基板に直接衝撃がかかる恐れがある。
【0005】
本発明は、かかる事情を鑑みてなされたものであり、落下などにより基板保持部材に意図しない外力が加わった場合であっても、基板保持部材を構成するセラミックス材料にかかる衝撃を緩和させるための技術を提供することを目的とする。
【課題を解決するための手段】
【0006】
本発明の態様に従えば、第1主面及び前記第1主面と上下方向に対向する第2主面を有する板状のセラミックス基材と、
前記セラミックス基材の前記第2主面に接合された第3主面、前記第3主面と前記上下方向に対向する第4主面、並びに、前記第3主面及び前記第4主面を前記上下方向に連結する側面を有し、内部に流路が形成された板状のセラミックス基台と、
前記セラミックス基台の、前記側面の一部又は前記第4主面の一部に密着して配置され、樹脂、金属、又は前記セラミックス基台を構成するセラミックスと異なるセラミックスにより形成された保護部材と、を備えることを特徴とする基板保持部材が提供される。
【発明の効果】
【0007】
上記構成によれば、セラミックス基台の、側面の一部又は第4主面の一部には、樹脂、金属、又はセラミックス基台を構成するセラミックスと異なるセラミックスにより形成された保護部材が密着している。これにより、落下などによりセラミックス基台に意図しない外力が加わった場合であっても、セラミックス基台にかかる衝撃を緩和することができる。
【図面の簡単な説明】
【0008】
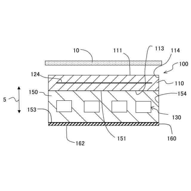
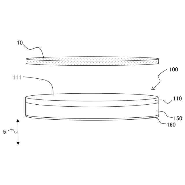
図1は、静電チャックモジュール100の斜視図である。
図2は、静電チャックモジュール100の概略説明図である。
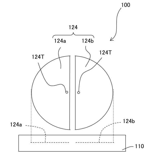
図3は、静電吸着用電極124の形状を示した概略説明図である。
(a)~(d)は、セラミックス基材110の製造方法の流れを示す図である。
(a)~(d)は、セラミックス基材110の別の製造方法の流れを示す図である。
(a)は2枚の焼成体150A、150Bのうち、一方の焼成体150Aに溝131を形成した状態を示す説明図であり、(b)は2枚の焼成体150A、150Bの両方に溝131を形成した状態を示す説明図である。
図7は、セラミックス基台150の下面153と側面154とを覆う保護部材160を説明するための概略説明図である。
図8は、セラミックス基台150の側面154を覆う保護部材160を説明するための概略説明図である。
図9は、セラミックス基台150の側面154の一部を覆う保護部材160を説明するための概略説明図である。
【発明を実施するための形態】
【0009】
<静電チャックモジュール100>
本実施形態に係る静電チャックモジュール100について、図1、2を参照しつつ説明する。本実施形態に係る静電チャックモジュール100は、シリコンウェハなどの半導体ウェハ(以下、単にウェハ10という)を吸着して保持するための基板保持部材の一例である。なお、以下の説明においては、静電チャックモジュール100が使用可能に設置された状態(図1の状態)を基準として上下方向5が定義される。図1に示されるように、本実施形態に係る静電チャックモジュール100は、セラミックス基材110と、静電吸着用電極124(図2、3参照)と、セラミックス基台150と、保護部材160とを主に備える。
【0010】
セラミックス基材110は、直径12インチ(約300mm)の円形の板状の形状を有する部材であり、上下方向5に対向する2つの主面(上面111及び下面113)を備える。セラミックス基材110の上面111及び下面113は、それぞれ、本発明の第1主面、第2主面に対応する。セラミックス基材110の上面111には、保持対象であるウェハ10が載置される。なお、図1では図面を見やすくするためにウェハ10とセラミックス基材110とを離して図示している。本実施形態において、セラミックス基材110は、セラミックス焼結体により形成されている。例えば、AlNの含有率を90%以上にすることができる。なお、セラミックス基材110は、必ずしもAlNセラミックスにより形成されていなくてもよい。例えば、Al
2
O
3
を含むセラミックス焼結体(Al
2
O
3
セラミックスと呼ぶ)により形成されていてもよい。
(【0011】以降は省略されています)
この特許をJ-PlatPat(特許庁公式サイト)で参照する
関連特許
日本特殊陶業株式会社
センサ
12日前
日本特殊陶業株式会社
圧電素子
12日前
日本特殊陶業株式会社
保持装置
15日前
日本特殊陶業株式会社
加熱装置
19日前
日本特殊陶業株式会社
化学センサ
今日
日本特殊陶業株式会社
無鉛圧電磁器組成物
12日前
日本特殊陶業株式会社
アンモニアの合成装置
8日前
日本特殊陶業株式会社
アンモニアの合成装置
8日前
日本特殊陶業株式会社
アンモニアの合成システム
8日前
日本特殊陶業株式会社
インターカレーションのための溶液、インターカレーション方法、電極の製造方法、電極および電気化学素子
8日前
日本特殊陶業株式会社
電気化学セル、固体酸化物形電解セル、セルスタック、ホットモジュール、およびガス製造装置
12日前
APB株式会社
蓄電セル
12日前
東ソー株式会社
絶縁電線
14日前
個人
フレキシブル電気化学素子
26日前
マクセル株式会社
電源装置
6日前
日新イオン機器株式会社
イオン源
22日前
ローム株式会社
半導体装置
1か月前
ローム株式会社
半導体装置
28日前
株式会社ユーシン
操作装置
26日前
ローム株式会社
半導体装置
13日前
株式会社東芝
端子台
6日前
オムロン株式会社
電磁継電器
27日前
株式会社GSユアサ
蓄電設備
26日前
太陽誘電株式会社
全固体電池
1か月前
株式会社GSユアサ
蓄電設備
26日前
株式会社GSユアサ
蓄電装置
7日前
太陽誘電株式会社
コイル部品
26日前
株式会社GSユアサ
蓄電装置
7日前
株式会社GSユアサ
蓄電装置
1か月前
株式会社ホロン
冷陰極電子源
20日前
北道電設株式会社
配電具カバー
12日前
TDK株式会社
電子部品
1か月前
サクサ株式会社
電池の固定構造
26日前
トヨタ自動車株式会社
バッテリ
27日前
日本特殊陶業株式会社
保持装置
1か月前
日本特殊陶業株式会社
保持装置
1か月前
続きを見る
他の特許を見る