TOP
|
特許
|
意匠
|
商標
特許ウォッチ
Twitter
他の特許を見る
10個以上の画像は省略されています。
公開番号
2025147864
公報種別
公開特許公報(A)
公開日
2025-10-07
出願番号
2024048342
出願日
2024-03-25
発明の名称
ブザーおよびそのブザーの製造方法
出願人
株式会社デンソーエレクトロニクス
代理人
弁理士法人ゆうあい特許事務所
主分類
G10K
9/122 20060101AFI20250930BHJP(楽器;音響)
要約
【課題】ブザーが発する音の音圧ばらつきを低減することが可能なブザーの製造方法を提供する。
【解決手段】ブザーの製造工程では、筐体カバー16が筐体ベース15に対して圧入により連結されることで、共鳴室14aが筐体ベース15と筐体カバー16との間に形成される。それと共に、その共鳴室14aの容積は、ブザー10の音圧が所定の許容範囲内に収まるように調整される。従って、圧電振動板の共振周波数がばらついても、共鳴室14aの大きさに応じて決まる筐体共鳴周波数をその圧電振動板の共振周波数に応じて調整することができる。そして、ブザー10の音圧は圧電振動板の共振周波数と筐体共鳴周波数との周波数差に応じて増減するので、そのブザー10の音圧のばらつきを低減することが可能である。
【選択図】図1
特許請求の範囲
【請求項1】
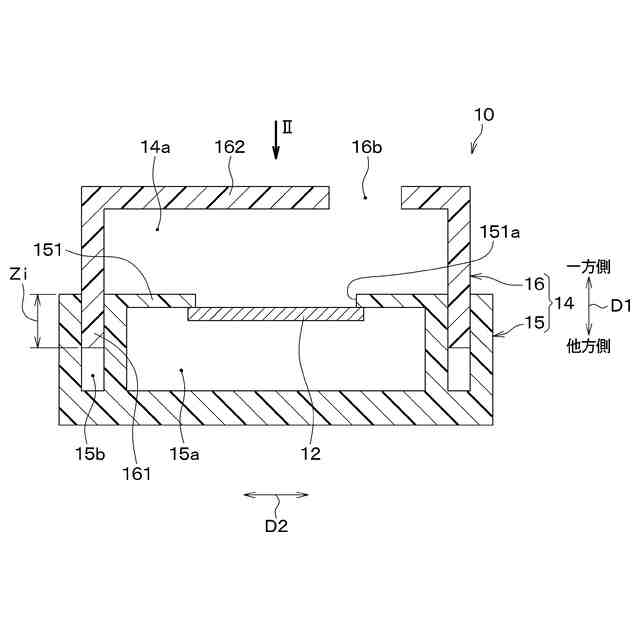
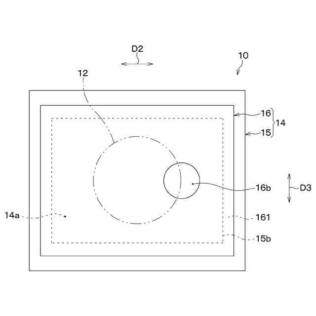
圧電振動板(12)と、前記圧電振動板が発する音を外部へ放出する放音孔(16b)と該放音孔に連結し前記圧電振動板から前記放音孔まで音を伝搬する共鳴室(14a)とが形成され前記圧電振動板を収容する筐体(14)とを備えたブザーの製造方法であって、
前記筐体に含まれる第1筐体部材(15)と、前記筐体に含まれる第2筐体部材(16)とを用意すること(S101)と、
前記第2筐体部材を前記第1筐体部材に対して圧入により連結することで前記第1筐体部材と前記第2筐体部材との間に前記共鳴室を形成すると共に、前記放音孔から放出される音の音圧が所定の許容範囲内に収まるように、前記圧入における圧入量(Zi)に応じて変化する前記共鳴室の容積(Vr)を調整すること(S102~S104、S201~S207)とを含む、ブザーの製造方法。
続きを表示(約 690 文字)
【請求項2】
前記調整すること(S102~S104)は、
前記圧電振動板の共振周波数(f0)を測定すること(S102)と、
測定した前記共振周波数に基づき、予め定められた関係(MP)から前記共鳴室の容積の目標値(Vrt)を決定すること(S103)と、
前記共鳴室の容積が、決定した前記目標値になるように、前記第2筐体部材を前記第1筐体部材に対して圧入により連結すること(S104)とを含む、請求項1に記載のブザーの製造方法。
【請求項3】
前記調整すること(S201~S207)では、前記放音孔から放出される音の前記音圧を測定しながら前記圧入量を変化させ、前記音圧が前記許容範囲内に入った場合に前記第1筐体部材に対する前記第2筐体部材の圧入を停止する、請求項1に記載のブザーの製造方法。
【請求項4】
音を発するブザーであって、
圧電振動板(12)と、
前記圧電振動板が発する音を外部へ放出する放音孔(16b)と該放音孔に連結し前記圧電振動板から前記放音孔まで音を伝搬する共鳴室(14a)とが形成され、前記圧電振動板を収容する筐体(14)とを備え、
前記筐体は、互いの間に前記共鳴室を形成する第1筐体部材(15)と第2筐体部材(16)とを有し、
前記第1筐体部材と前記第2筐体部材は、前記第2筐体部材が前記第1筐体部材に対して圧入されることより連結され、前記第1筐体部材に対する前記第2筐体部材の圧入量(Zi)に応じて前記共鳴室の容積(Vr)が変化するように構成されている、ブザー。
発明の詳細な説明
【技術分野】
【0001】
本開示は、ブザーおよびそのブザーの製造方法に関するものである。
続きを表示(約 1,700 文字)
【背景技術】
【0002】
特許文献1には、圧電ブザーが記載されている。この特許文献1の圧電ブザーは、放音孔と開口部が形成された外ケースと、圧電振動板を含む回路部品を有するブザーユニットとを備えている。そのブザーユニットは外ケースに圧入された状態で外ケースに組付けられている。そして、放音孔から放出される音の音圧を大きくするための共鳴室は、ブザーユニットが外ケースに圧入されることに伴って外ケース内に形成されている。
【先行技術文献】
【特許文献】
【0003】
特開2010-237473号公報
【発明の概要】
【発明が解決しようとする課題】
【0004】
ブザーでは圧電振動板の共振と筐体の共鳴とによって、駆動周波数での音圧が確保される。しかしながら、特許文献1の圧電ブザーでは、その製造工程において、圧電振動板の共振周波数と筐体内の共鳴室の大きさに応じて決まる共鳴周波数との何れも調整することができないので、圧電振動板に対して印加される電圧と音圧との関係を調整する手段がない。
【0005】
また、近年、例えば法規などによって、ブザーの音圧の公差範囲を狭める必要が出てきている。そのため、特許文献1の圧電ブザーでは、必要とされる音圧の公差を達成することが難しくなる可能がある。発明者らの詳細な検討の結果、以上のようなことが見出された。
【0006】
本開示は上記点に鑑みて、ブザーが発する音の音圧ばらつきを低減することが可能なブザーおよびそのブザーの製造方法を提供することを目的とする。
【課題を解決するための手段】
【0007】
上記目的を達成するため、本開示の1つの観点によるブザーの製造方法は、
圧電振動板(12)と、圧電振動板が発する音を外部へ放出する放音孔(16b)とその放音孔に連結し圧電振動板から放音孔まで音を伝搬する共鳴室(14a)とが形成され圧電振動板を収容する筐体(14)とを備えたブザーの製造方法であって、
筐体に含まれる第1筐体部材(15)と、筐体に含まれる第2筐体部材(16)とを用意すること(S101)と、
第2筐体部材を第1筐体部材に対して圧入により連結することで第1筐体部材と第2筐体部材との間に共鳴室を形成すると共に、放音孔から放出される音の音圧が所定の許容範囲内に収まるように、上記圧入における圧入量(Zi)に応じて変化する共鳴室の容積(Vr)を調整すること(S102~S104、S201~S207)とを含む。
【0008】
このようにすれば、圧電振動板の共振周波数がばらついても、筐体内の共鳴室の大きさに応じて決まる共鳴周波数すなわち筐体の共鳴周波数を圧電振動板の共振周波数に応じて調整することができる。そして、ブザーの音圧は圧電振動板の共振周波数と筐体の共鳴周波数との差に応じて増減するので、そのブザーの音圧のばらつきを低減することが可能である。
【0009】
また、本開示の別の観点によるブザーは、
音を発するブザーであって、
圧電振動板(12)と、
圧電振動板が発する音を外部へ放出する放音孔(16b)とその放音孔に連結し圧電振動板から放音孔まで音を伝搬する共鳴室(14a)とが形成され、圧電振動板を収容する筐体(14)とを備え、
筐体は、互いの間に共鳴室を形成する第1筐体部材(15)と第2筐体部材(16)とを有し、
第1筐体部材と第2筐体部材は、第2筐体部材が第1筐体部材に対して圧入されることより連結され、第1筐体部材に対する第2筐体部材の圧入量(Zi)に応じて共鳴室の容積(Vr)が変化するように構成されている。
【0010】
このようにすれば、ブザーの製造工程において、上記のように筐体の共鳴周波数を圧電振動板の共振周波数に応じて調整することができる。そして、ブザーの音圧は圧電振動板の共振周波数と筐体の共鳴周波数との差に応じて増減するので、そのブザーの音圧のばらつきを低減することが可能である。
(【0011】以降は省略されています)
この特許をJ-PlatPat(特許庁公式サイト)で参照する
関連特許
個人
木管楽器
13日前
株式会社豊田中央研究所
吸音構造体
21日前
本田技研工業株式会社
車室環境制御装置
17日前
株式会社東芝
吸音装置
19日前
積水樹脂株式会社
吸音シート
17日前
株式会社SinasSP
自動騒音低減装置
4日前
カシオ計算機株式会社
減音器具
19日前
トヨタ自動車株式会社
判定装置
6日前
日本軽金属株式会社
遮音壁
11日前
カシオ計算機株式会社
減音器具
19日前
株式会社第一興商
カラオケ装置
17日前
株式会社第一興商
カラオケ装置
21日前
株式会社第一興商
カラオケ装置
11日前
カシオ計算機株式会社
発音装置、発音方法及びプログラム
6日前
日本電気株式会社
放送用システムおよび字幕作成方法
13日前
中原大學
能動騒音除去機能を持つレンジフード
21日前
ブラザー工業株式会社
カラオケ装置及びカラオケプログラム
11日前
シャープ株式会社
電子機器および電子機器の制御方法
11日前
カシオ計算機株式会社
電子鍵盤楽器
17日前
ブラザー工業株式会社
音声録音装置、及び、音声録音用プログラム
10日前
株式会社JVCケンウッド
収音装置、収音方法、およびプログラム
6日前
大建工業株式会社
吸音体及び音環境調整構造
6日前
ブラザー工業株式会社
カラオケ用プログラム、及び、カラオケ装置
10日前
株式会社JVCケンウッド
クリッピング装置及びクリッピング方法
21日前
有限会社ツバサ
エレキギターおよび保護フィルム付きの樹脂プレート
4日前
カシオ計算機株式会社
電子楽器、電子楽器の制御方法及びプログラム
17日前
株式会社河合楽器製作所
鍵盤楽器の鍵盤装置
12日前
トヨタ自動車株式会社
運転者認知機能改善システム
17日前
株式会社河合楽器製作所
鍵盤楽器の鍵盤装置
12日前
株式会社NTTドコモ
情報処理装置及び情報処理方法
11日前
株式会社リコー
対話装置、対話システム、対話方法及びプログラム
10日前
株式会社SUBARU
乗物用遮音構造体、及び車両
3日前
株式会社東芝
吸音装置及び音響メタマテリアル
19日前
株式会社河合楽器製作所
鍵盤楽器の楽音制御方法
12日前
カシオ計算機株式会社
演奏装置、方法およびプログラム
18日前
株式会社河合楽器製作所
鍵盤楽器の楽音制御方法
12日前
続きを見る
他の特許を見る