TOP
|
特許
|
意匠
|
商標
特許ウォッチ
Twitter
他の特許を見る
10個以上の画像は省略されています。
公開番号
2025147440
公報種別
公開特許公報(A)
公開日
2025-10-07
出願番号
2024047690
出願日
2024-03-25
発明の名称
ケーブルドラム逸走防止治具
出願人
株式会社関電工
代理人
個人
主分類
B65H
75/00 20060101AFI20250930BHJP(運搬;包装;貯蔵;薄板状または線条材料の取扱い)
要約
【課題】外径の異なる複数種のケーブドラムに対して、全体構成が大型化することなく、一時的な転動規制を良好に行えるケーブルドラム逸走防止治具の提供。
【解決手段】ケーブルドラム(100)の一対のつば板の下方の載置面との間に嵌め込むように配置されてつば板の転動を規制する角材状の止め部材(2)と、止め部材(2)の一端部から立設されて一方のつば板(102A)の外側表面に沿わされる支柱部材(3)と、支柱部材に直交方向に装着され、つばいた(102A)の軸穴(103)に挿入される管状部材(5)と、支柱部材の先端側でつば板(102A)の上端部に掛止され、つば板(102A)と支柱部材(3)とを解除可能に挟持固定するロック装置(10)とを備え、管状部材(5)は支柱部材(3)に沿って摺動可能で解除可能に固定され、ロック装置(10)は解除状態にて支柱部材(3)に沿って摺動可能である。
【選択図】 図1
特許請求の範囲
【請求項1】
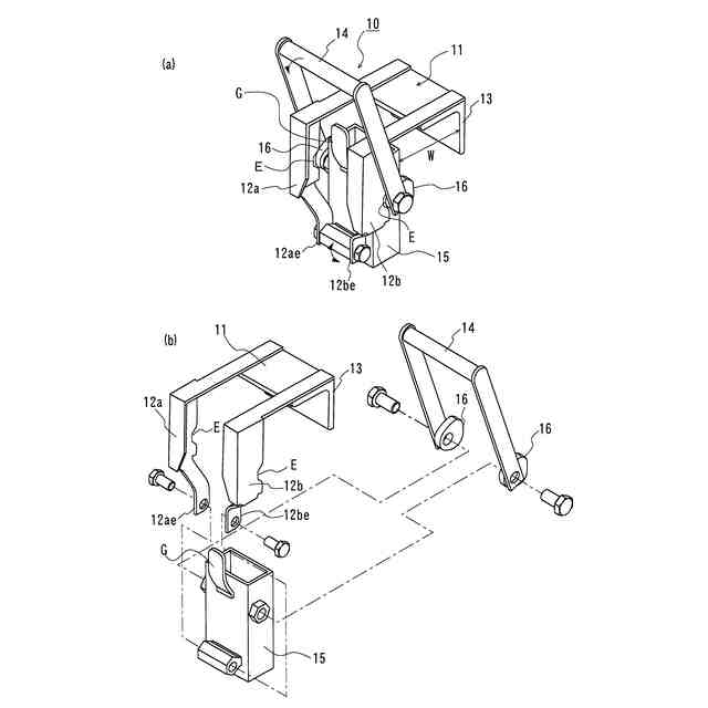
円筒状の胴部と前記胴部より大きい外径を有して前記胴部の両端に同心軸上に取り付けられた円盤状の一対のつば板とを備えたケーブルドラムに装着されるケーブルドラム逸走防止治具であって、
テールゲートリフターのプラットフォームの載置面の上で前記ケーブルドラムの前記一対のつば板の下方の前記載置面との間に嵌め込むように配置されて前記一対のつば板の転動を規制する角材状の止め部材と、
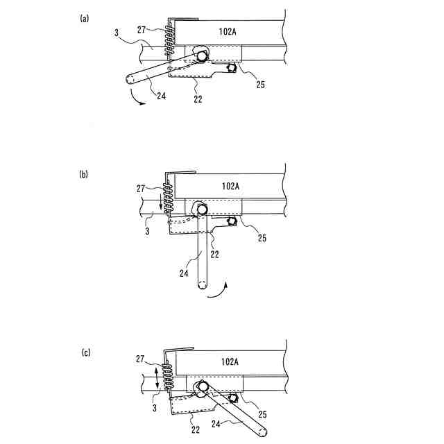
前記止め部材の一端部から立設され、一方のつば板の外側表面に沿わされる支柱部材と、
前記支柱部材に該支柱部材と直交方向に延びて装着され、前記一方のつば板の中心に形成されている軸穴に挿入される管状部材と、
前記支柱部材の先端側で、前記一方のつば板の上端部に掛止され、前記一方のつば板と前記支柱部材とを解除可能に挟持固定するロック装置と、を備え、
前記管状部材は、前記支柱部材に沿って摺動可能で任意の位置で解除可能に固定されるものであると共に、前記ロック装置は、解除状態にて前記支柱部材に沿って摺動可能であることを特徴とするケーブルドラム逸走防止治具。
続きを表示(約 1,000 文字)
【請求項2】
前記支柱部材は、前記止め部材に対して回動可能で折りたたみ可能であることを特徴とする請求項1に記載のケーブルドラム逸走防止治具。
【請求項3】
前記支柱部材は角型レール形状を有しており、
前記管状部材は、前記支柱部材に沿って摺動可能に装着されている取付け部に突設されており、
前記取付け部は、ネジ部材を介して前記支柱部材のレール溝に内側から摺動可能に掛止される係合部材と連結されており、前記ネジ部材の締め付けによって前記係合部材との間に前記レール溝の両縁部を挟み込んで前記支柱部材に固定されるものであることを特徴とする請求項1又は2に記載のケーブルドラム逸走防止治具。
【請求項4】
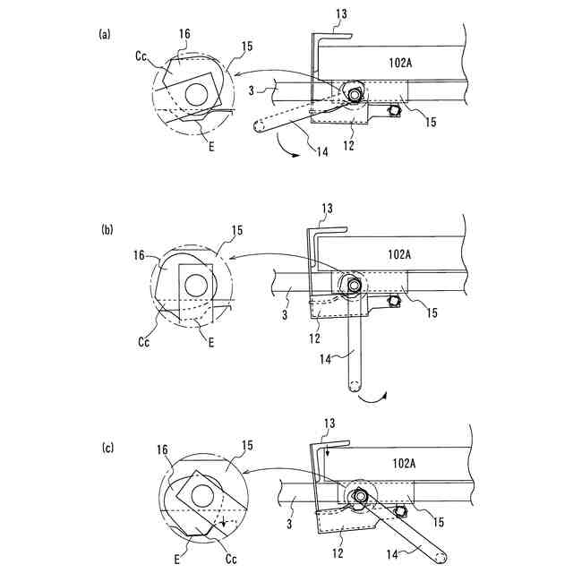
前記ロック装置は、
前記一方のつば板の上端部に嵌められて該つば板の外側表面側で下方に延びる前後一対の外側腕部と該つば板の内側表面側で下方に延びる内側板部とを有する略コの字状の挟持部材と、
前記一方のつば板の外側表面側で前記支柱部材が相対的に摺動可能に挿通される角筒部材と、
前記挟持部材を回動させて前記一方のつば板の上端部に対する締め付けロック状態と前記締め付けロック状態の解除状態との切り換えを行う略コの字状のレバー部と、を備え、
前記レバー部は、その両端部が、前記角筒部材の両側面に略三角形状の偏心カム部材を介して回動可能に取り付けられており、前記偏心カム部材は、前記レバー部の両端部に伴って回動すると共に前記外側腕部に係合する回動角度を有するものであり、
前記挟持部材は、前記外側腕部の下端部が前記角筒部材の下方に回動可能に連結されると共に、前記レバー部の回動に伴う前記偏心カム部材の回動角度の変化によって、前記外側腕部が前記角筒部材に対して近接位置と離反位置との間で変位されるものであり、
前記外側腕部の前記角筒部材に対する前記離反位置は、前記内側板部が前記一方のつば板の上端部を相対的に前記角筒部材に押し付ける方向に付勢する前記締め付けロック状態であり、前記近接位置が前記締め付けロック状態の解除状態であることを特徴とする前記請求項3に記載のケーブルドラム逸走防止治具。
【請求項5】
前記挟持部材の前記外側腕部と前記内側板部とは、互いに別体であると共に、前記挟持部材の上面領域でバネ部材を介して互いに連結されていることを特徴とする請求項4に記載のケーブルドラム逸走防止治具。
発明の詳細な説明
【技術分野】
【0001】
本発明は、例えば、電線用のケーブルドラムをトラックの荷台後部に取り付けられたテールゲートリフターによって積み下ろしする際に、テールゲートリフターのプラットフォームの載置面からケーブルドラムが転がり落ちることがないように一時的に留めるためにケーブルドラムに装着される、ケーブルドラム逸走防止治具に関するものである。
続きを表示(約 1,500 文字)
【背景技術】
【0002】
架線工事に使用されるような電線は、大きい糸巻きボビン状のケーブルドラムに巻回されて用いられる。
【0003】
例えば、図9に示すように、このようなケーブルドラム100は、円筒状の胴部101とその両端に胴部101より径の大きい円盤状の一対のつば板(102A,102B)が取り付けられて構成されており、木製のものだけでなくポリプロピレンを用いたプラスティック製のものが一般的に使用されている。大型のものでは、つば板の外径Dが1m以上のもの、更には2mを越えるものもある。
【0004】
このようなケーブルドラムは、トラックで搬送されるが、特に大型のものの積み下ろしにはクレーン車などの揚重装置が用いられる。また、人が扱える程度の大きさのケーブルドラムについては、揚重装置のない現場等への搬送に、テールゲートリフターが具備されたトラックが使用されている。
【0005】
テールゲートリフターは、荷台後部に取り付けられ、積荷が載置されるプラットフォームを昇降させる昇降装置である。即ち、プラットフォームが、その載置面を荷台面とほぼ面一となる高さ位置と地面との間で移動させるように垂直昇降式あるいはアーム回動式によって昇降駆動されるものである。
【0006】
従って、地面上にプラットフォームを下降させた状態においては、地面から載置面へ積荷を水平方向にスムーズに移動でき、プラットフォームを上昇させれば、その載置面から荷台側へ水平方向に容易に積荷を移動させることができる。これによって、大きい積荷や重い積荷を簡単に荷台に対して積み下ろしでき、作業者の負担が小さい。
【0007】
通常、人が簡単に持ち上げられない重さのケーブルドラムは、胴部の中心軸を水平方向として一対のつば板を車輪のように転がしながら移動させている。従って、テールゲートリフターのプラットフォーム上でもそのままの方向で載置されており、外力が作用すると転がりやすい状態で昇降される。このような状態で昇降されるケーブルドラムは、プラットフォームから転がり落ちて逸走する恐れがあり、これは、大きくて重いケーブルドラムほど危険である。
【0008】
一方、テールゲートリフターには、例えば、図9に示すように、プラットフォーム300の後端側の縁付近に、載置面301から出入自在に設けられたストッパー310が備えられているものがある。このストッパー310は、弾性手段によってストッパー310の収納位置と突出位置とに位置付けられるものである(例えば、特許文献1及び2を参照。)。
【0009】
但し、このようなストッパー310は、台車の車輪やコンテナのキャスター等、径の小さい車輪を対象とした突出高さの比較的小さいストッパーであり、ケーブルドラム101のつば板(102A,102B)では、簡単に乗り越えられてしまう。しかも、このストッパー310は、弾性手段の駆動装置が載置面内に組み込まれており、ストッパー310をケーブルドラム101等の大径物に対応させて大型化するのは実際的ではない。
【0010】
そこで、このようなプラットフォーム上に載置されたケーブルドラムの逸走を防止するために、特許文献3に示すような、プラットフォームに別体で一時的に置いて用いられる専用のケーブルドラム用歯止めも考えられている。これは、ケーブルドラムのつば板の接地面前後に載置される回転止め材が連結部材に垂直に設けたものである。
【先行技術文献】
【特許文献】
(【0011】以降は省略されています)
この特許をJ-PlatPat(特許庁公式サイト)で参照する
関連特許
株式会社関電工
検相器用治具
1か月前
株式会社関電工
車両運行通知システム
6日前
株式会社関電工
非接触型充電表示装置
10日前
株式会社関電工
ケーブルドラム逸走防止治具
13日前
株式会社関電工
ケーブル不具合箇所検知システム
10日前
株式会社関電工
襟首隙間確保具及び冷却空気流通方法
1か月前
株式会社関電工
オーガ式簡易掘削機における拡縮カッタ構造
10日前
株式会社関電工
プログラム、情報処理装置及び情報処理方法
12日前
株式会社関電工
プログラム、情報処理方法及び情報処理装置
1か月前
株式会社関電工
プログラム、情報処理方法及び情報処理装置
1か月前
株式会社関電工
危険通知システムに係る制御装置、及び危険通知システム
2か月前
株式会社関電工
脚立型誘導アンテナ架台及び当該架台を用いた誘導アンテナの設置方法
10日前
東京電力ホールディングス株式会社
判定装置、制御システム及び判定方法
12日前
株式会社関電工
ケーブル用ドラム架台及び当該ドラム架台を用いたケーブルドラムの運搬車両への搭載方法
10日前
個人
収容箱
3か月前
個人
コンベア
5か月前
個人
容器
9か月前
個人
段ボール箱
6か月前
個人
ゴミ収集器
6か月前
個人
段ボール箱
7か月前
個人
楽ちんハンド
4か月前
個人
角筒状構造体
5か月前
個人
バンド
1か月前
個人
土嚢運搬器具
8か月前
個人
パウチ補助具
12か月前
個人
宅配システム
6か月前
個人
お薬の締結装置
5か月前
個人
廃棄物収容容器
2か月前
個人
包装容器
1か月前
個人
コード類収納具
8か月前
個人
閉塞装置
9か月前
株式会社和気
包装用箱
8か月前
株式会社バンダイ
物品
12日前
個人
ゴミ処理機
9か月前
個人
積み重ね用補助具
2か月前
個人
蓋閉止構造
3か月前
続きを見る
他の特許を見る