TOP
|
特許
|
意匠
|
商標
特許ウォッチ
Twitter
他の特許を見る
10個以上の画像は省略されています。
公開番号
2025153796
公報種別
公開特許公報(A)
公開日
2025-10-10
出願番号
2024056432
出願日
2024-03-29
発明の名称
脚立型誘導アンテナ架台及び当該架台を用いた誘導アンテナの設置方法
出願人
株式会社関電工
,
露崎工業株式会社
代理人
個人
,
個人
主分類
E21D
9/093 20060101AFI20251002BHJP(地中もしくは岩石の削孔;採鉱)
要約
【課題】市販の脚立を用いて、不整地であっても安定して強固に設置でき、かつ、誘導アンテナを前後方向に角度調整可能、上下に高さ位置調整可能、左右方向にスライド可能な治具から成る脚立型誘導アンテナ架台。
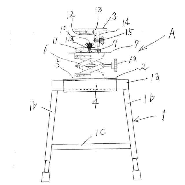
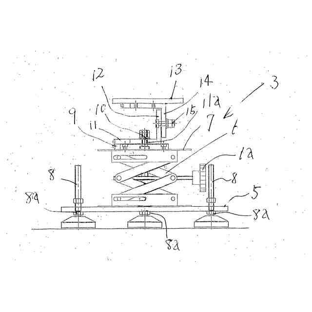
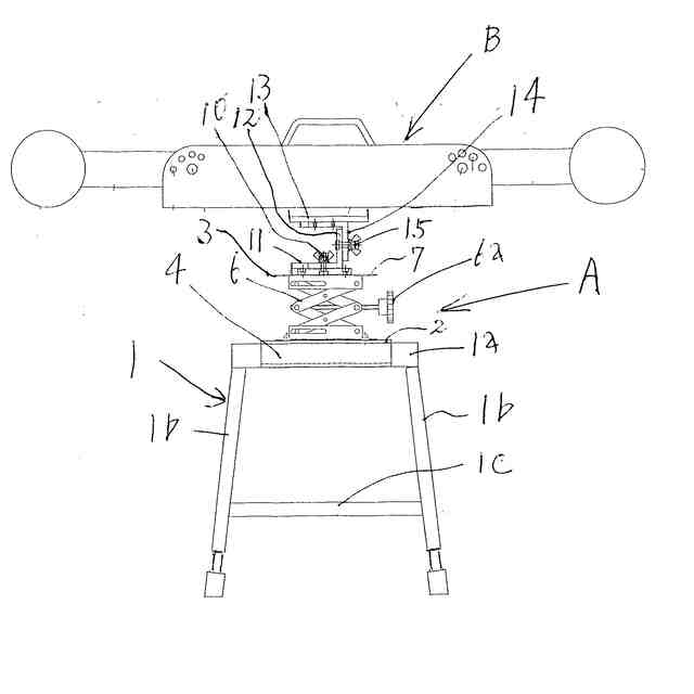
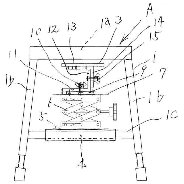
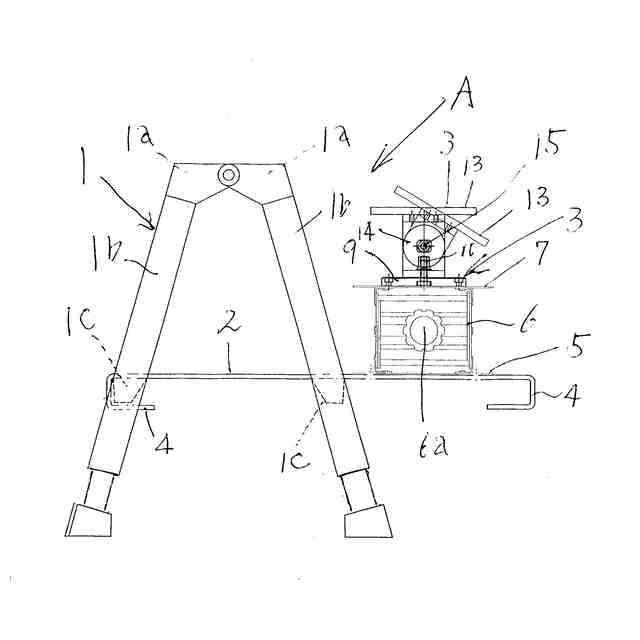
【解決手段】誘導アンテナを支持する架台において、4本の脚体1bの長さを調整できる脚立1と、当該脚立1の天板1a又はステップ1cに載せて係止するベースプレート2と当該ベースプレートに載置又は固定する可動台3とから成り、前記ベースプレート2の両端に下方に折り曲げた断面コの字型の係止端部4が設けられ、前記可動台3は、基板の上に高さが調整自在な高さ可変部を有し、当該高さ可変部の上に、水平方向に回転する水平方向調整回転部及び水平方向調整回転部の上に垂直方向調整回転部が夫々設けられ、当該垂直方向調整回転部の上に誘導アンテナBを固定する天板13が設けられている。
【選択図】図6
特許請求の範囲
【請求項1】
誘導アンテナを支持する架台において、
4本の脚体の長さを調整できる脚立と、当該脚立の天板又はステップに載せて係止するベースプレートと当該ベースプレートに載置又は固定する可動台とから成り、前記ベースプレートの両端に下方に折り曲げた断面コの字型の係止端部が設けられ、前記可動台は、基板の上に高さが調整自在な高さ可変部を有し、当該高さ可変部の上に、水平方向に回転する水平方向調整回転部及び水平方向調整回転部の上に垂直方向調整回転部が夫々設けられ、当該垂直方向調整回転部の上に誘導アンテナを固定する天板が設けられたことを特徴とする、脚立型誘導アンテナ架台。
続きを表示(約 600 文字)
【請求項2】
前記可動台の高さ可変部がテーブルリフトであり、前記水平方向調整回転部は前記テーブルリフトの上板に固定した台座の上面に突出した突出軸に水平板の孔を通して当該水平板を回転自在に載置し、前記垂直方向調整回転部は、前記水平板に設けた垂直板に、前記誘導アンテナを固定する天板から垂下した垂下板を重ね、当該重合部を貫通した水平軸で回転自在に接合し、前記天板を傾斜調整自在としたことを特徴とする、請求項1に記載の脚立型誘導アンテナ架台。
【請求項3】
前記ベースプレートの係止端部の幅が、前記脚立の天板幅及びステップの幅より小さい幅であることを特徴とする、請求項1に記載の脚立型誘導アンテナ架台。
【請求項4】
前記脚立を、推進計画線上の地面に置き、前記脚立の4本の各脚体の長さを調整して当該脚立の天板を水平に設置し、当該脚立の天板かステップのどちらかを選んで前記ベースプレートを、当該ベースプレートの一方の係止端部を一方の天板端縁又はステップに嵌めて係止し、当該ベースプレートの上に前記可動台を載置、固定し、可動台の天板に前記誘導アンテナを取り、この状態で前記可動台の高さ可変部、水平方向調整回転部及び垂直方向調整回転部により、前記誘導アンテナの高さ、水平方向及び垂直方向を調整することを特徴とする、請求項1の脚立型誘導アンテナ架台を使用した誘導アンテナの設置方法。
発明の詳細な説明
【技術分野】
【0001】
この発明は、地中への小口径管推進工法において、推進方向制御のための電磁波の受信アンテナの架台及び当該架台を用いた誘導アンテナの設置方法に関するもので、市販の脚立に係止して受信アンテナの位置の調整が容易にできる脚立型誘導アンテナ架台及び当該架台を用いた誘導アンテナの設置方法に関するものである。
続きを表示(約 1,800 文字)
【背景技術】
【0002】
小口径管推進工法における推進ヘッドの方向制御のための水平方向の位置計測は、図11及び図12に示すように、電磁誘導法の原理を利用し、推進ヘッド内の発信器の電磁波を地上の推進基線(推進計画線)上に直角に設置した誘導アンテナの左右の2つのコイルで受信して、電磁波の強弱から2つのコイルのどちらの側に発信源(推進ヘッド)があるのかを推定し、この結果に応じて推進ヘッドの推進方向を修正しながら推進する。従って、推進基線に対する誘導アンテナの向きが極めて重要になるとともに、前記推進ヘッドの進行方向が2つのコイルから外れると正しく測定できなくなる。
【0003】
この様に、小口径管推進工法においては前記誘導アンテナの設置位置が重要となっているが、これまでは地盤の安定したところに設置することとしていたこともあり、専用の架台ではなく、写真機やビデオカメラ用の三脚を転用していた。地盤形状の安定した場所に設置する場合、これまで特に大きな問題は発生しなかったが、誘導アンテナを前方下向きに倒す必要がある場合は前方に倒れないように配慮する必要があった。
【0004】
一方、無電柱化工事の電力・通信管の宅内工事では、電力需要家宅内の地盤が不安定な狭小部での工事が増加している。地盤形状が不安定で狭小な場所では、横幅約1m、自重約10kgの誘導アンテナを水平に設置するには従来の三脚では不安定であり、設置のための時間もこれまで以上に必要となった。また、上述した狭小な場所では作業スペースが十分でないこともあり、不安定な姿勢での作業となるケースが認められ、作業者の負担軽減のため誘導アンテナの設置時間の短縮が求められている。
【0005】
特許文献1のものは、誘導アンテナを三脚で支持している例を示す。
【先行技術文献】
【特許文献】
【0006】
特開2022-124922号公報
【発明の開示】
【発明が解決しようとする課題】
【0007】
この様な従来の三脚による誘導アンテナの支持では、地盤形状が水平でなく、不安定であったり、狭小な場所では誘導アンテナを設置するための作業時間や手間がよけいにかかる欠点があった。また当該誘導アンテナは地中の推進ヘッドから発信される電磁波を捉えるため当該アンテナを前傾姿勢に倒すことが多く、当該誘導アンテナを設置する箇所が前傾した傾斜地ではアンテナを前方に傾けると三脚ごと倒れる恐れがあった。
【0008】
そこでこの発明は上述の課題を解決するため、市販の脚立を用いて、不整地であっても安定して強固に設置でき、かつ、誘導アンテナを前後方向に角度調整可能、上下に高さ位置調整可能、左右方向にスライド可能な治具から成る脚立型誘導アンテナ架台及び当該架台を用いた誘導アンテナの設置方法を提供することを目的としたものである。
【課題を解決するための手段】
【0009】
請求項1の発明は、誘導アンテナを支持する架台において、4本の脚体の長さを調整できる脚立と、当該脚立の天板又はステップに載せて係止するベースプレートと当該ベースプレートに載置又は固定する可動台とから成り、前記ベースプレートの両端に下方に折り曲げた断面コの字型の係止端部が設けられ、前記可動台は、基板の上に高さが調整自在な高さ可変部を有し、当該高さ可変部の上に、水平方向に回転する水平方向調整回転部及び水平方向調整回転部の上に垂直方向調整回転部が夫々設けられ、当該垂直方向調整回転部の上に誘導アンテナを固定する天板が設けられた、脚立型誘導アンテナ架台とした。
【0010】
また、請求項2の発明は、前記可動台の高さ可変部がテーブルリフトであり、前記水平方向調整回転部は前記テーブルリフトの上板に固定した台座の上面に突出した突出軸に水平板の孔を通して当該水平板を回転自在に載置し、前記垂直方向調整回転部は、前記水平板に設けた垂直板に、前記誘導アンテナを固定する天板から垂下した垂下板を重ね、当該重合部を貫通した水平軸で回転自在に接合し、前記天板を傾斜調整自在とした、請求項1に記載の脚立型誘導アンテナ架台とした。
(【0011】以降は省略されています)
この特許をJ-PlatPat(特許庁公式サイト)で参照する
関連特許
株式会社関電工
検相器用治具
1か月前
株式会社関電工
車両運行通知システム
8日前
株式会社関電工
非接触型充電表示装置
12日前
株式会社関電工
ケーブルドラム逸走防止治具
15日前
株式会社関電工
ケーブル不具合箇所検知システム
12日前
株式会社関電工
オーガ式簡易掘削機における拡縮カッタ構造
12日前
株式会社関電工
プログラム、情報処理装置及び情報処理方法
14日前
株式会社関電工
プログラム、情報処理方法及び情報処理装置
1か月前
株式会社関電工
脚立型誘導アンテナ架台及び当該架台を用いた誘導アンテナの設置方法
12日前
東京電力ホールディングス株式会社
判定装置、制御システム及び判定方法
14日前
株式会社関電工
ケーブル用ドラム架台及び当該ドラム架台を用いたケーブルドラムの運搬車両への搭載方法
12日前
個人
掘削機
4か月前
日特建設株式会社
切断装置
今日
株式会社奥村組
地山探査方法
2か月前
株式会社奥村組
地山探査装置
2か月前
株式会社奥村組
地山探査装置
2か月前
株式会社奥村組
地山探査装置
2か月前
株式会社笠原建設
横孔形成方法
5か月前
株式会社奥村組
シールド掘進機
4か月前
株式会社奥村組
シールド掘進機
7か月前
株式会社奥村組
シールド掘進機
26日前
日特建設株式会社
ボーリング装置
6か月前
花王株式会社
岩盤の掘削方法
3か月前
岐阜工業株式会社
トンネルセントル
26日前
個人
オープンシールド機
1か月前
個人
オープンシールド機
1か月前
株式会社奥村組
泥土圧シールド掘進機
5か月前
個人
掘削機、及び、資源回収システム
5か月前
株式会社熊谷組
天井板撤去装置
5か月前
株式会社奥村組
セグメントの組立方法
1か月前
株式会社奥村組
テールシール試験装置
7か月前
日特建設株式会社
削孔方法及び削孔装置
7か月前
株式会社ケー・エフ・シー
剥落防止構造
6か月前
個人
箱形ルーフおよびその施工法
19日前
大阪瓦斯株式会社
牽引装置
5か月前
デンカ株式会社
静的破砕方法
1か月前
続きを見る
他の特許を見る