TOP
|
特許
|
意匠
|
商標
特許ウォッチ
Twitter
他の特許を見る
10個以上の画像は省略されています。
公開番号
2025169756
公報種別
公開特許公報(A)
公開日
2025-11-14
出願番号
2024074821
出願日
2024-05-02
発明の名称
地山探査装置
出願人
国土開発工業株式会社
代理人
弁理士法人片山特許事務所
主分類
E21D
9/06 20060101AFI20251107BHJP(地中もしくは岩石の削孔;採鉱)
要約
【課題】地山の状態を正確に探査する。
【解決手段】地山探査装置は、トンネル掘削機100に設置されて地山の強度を探査するための地山探査装置40であって、前記トンネル掘削機の内部に設けられた探査装置本体と、前記探査装置本体に対して出没可能であり、前記トンネル掘削機の外周部から外部に突出可能なロッドと、前記探査装置本体からの前記ロッドの押出力を調整する調整装置と、前記調整装置により調整された第1の押出力により前記ロッドを突出させた後に、前記調整装置により調整され、前記第1の押出力より大きな第2の押出力により前記ロッドを突出させる制御装置と、を備える。
【選択図】図1
特許請求の範囲
【請求項1】
トンネル掘削機に設置されて地山の強度を探査するための地山探査装置であって、
前記トンネル掘削機の内部に設けられた探査装置本体と、
前記探査装置本体に対して出没可能であり、前記トンネル掘削機の外周部から外部に突出可能なロッドと、
前記探査装置本体からの前記ロッドの押出力を調整する調整装置と、
前記調整装置により調整された第1の押出力により前記ロッドを突出させた後に、前記調整装置により調整され、前記第1の押出力より大きな第2の押出力により前記ロッドを突出させる制御装置と、を備える地山探査装置。
続きを表示(約 910 文字)
【請求項2】
前記制御装置は、前記第1の押出力を用いて前記地山の空隙量を特定し、前記第2の押出力に基づいて前記地山の安定度を特定する、請求項1に記載の地山探査装置。
【請求項3】
前記制御装置は、前記地山の安定度に基づいて裏込め充填材を前記地山の空隙に投入するタイミングを決定し、前記地山の空隙量に基づいて前記裏込め充填材の投入量を決定する、請求項2に記載の地山探査装置。
【請求項4】
前記探査装置本体と前記ロッドは、前記トンネル掘削機の前端部近傍に設けられる、請求項1に記載の地山探査装置。
【請求項5】
前記制御装置は、事前に実施した前記地山のボーリングデータに基づいて、前記第1の押出力と前記第2の押出力との少なくとも一方を調整する請求項1に記載の地山探査装置。
【請求項6】
前記トンネル掘削機の前端部と前記探査装置本体及び前記ロッドとの位置関係を変更する変更装置を備える、請求項1に記載の地山探査装置。
【請求項7】
前記ロッドには、温度センサ及び水分センサの少なくとも一方が設けられている、請求項1に記載の地山探査装置。
【請求項8】
前記探査装置本体には、レーザ距離計及び撮像装置の少なくとも一方が設けられている、請求項1に記載の地山探査装置。
【請求項9】
前記レーザ距離計及び前記撮像装置の少なくとも一方に対し、洗浄用の流体を噴射する噴射装置を備える、請求項8に記載の地山探査装置。
【請求項10】
トンネル掘削機に設置されて地山の強度を探査するための地山探査装置であって、
前記トンネル掘削機に設けられ、前記地山の空隙量及び前記地山の安定度の少なくとも一方を測定する測定装置と、
前記測定装置を前記トンネル掘削機に対して移動させる移動装置と、
前記移動装置を制御して、前記トンネル掘削機と同一速度で前記トンネル掘削機とは反対の方向に前記測定装置を移動させる制御装置と、
を備える地山探査装置。
(【請求項11】以降は省略されています)
発明の詳細な説明
【技術分野】
【0001】
本発明は、地山探査装置に関する。
続きを表示(約 2,000 文字)
【背景技術】
【0002】
シールド工法では、シールド機の進行方向前方又はシールド機直上の地山情報を取得しながらトンネルを掘削する。従来、切羽近傍の複数箇所の地山情報を取得し、それら複数の地山情報に基づいて地山の安定度を判定する探査システムが知られている(例えば、特許文献1等参照)。
【0003】
特許文献1に記載の技術によれば、シールド機の上部に設置された上部探査装置、シールド機の内部に設置された前方探査装置、及びカッタヘッドに設置された切削抵抗検出装置それぞれの測定結果に基づいて地山の安定度を判定する。また、上部探査装置は、シールド機の外殻から出没可能で、シールド機の上方に位置する地山に貫入することができ、地山への貫入圧力及び貫入量を測定するものである。
【先行技術文献】
【特許文献】
【0004】
特開2011-196068号公報
【発明の概要】
【発明が解決しようとする課題】
【0005】
しかしながら、上記特許文献1の上部探査装置は、シールド機と地山の間における空洞の有無を検出することができず、また、地山が軟弱な場合、上部探査装置のロッドが地山に貫入する際に圧力が発生せず、ロッドが停止しないことがあり、貫入圧力や貫入量を正確に計測できない可能性がある。
【0006】
そこで、本発明は、地山の状態を正確に探査することができる地山探査装置を提供することを目的とする。
【課題を解決するための手段】
【0007】
本発明の第1の地山探査装置は、トンネル掘削機に設置されて地山の強度を探査するための地山探査装置であって、前記トンネル掘削機の内部に設けられた探査装置本体と、前記探査装置本体に対して出没可能であり、前記トンネル掘削機の外周部から外部に突出可能なロッドと、前記探査装置本体からの前記ロッドの押出力を調整する調整装置と、前記調整装置により調整された第1押出力により前記ロッドを突出させた後に、前記調整装置により調整され、前記第1押出力より大きな第2の押出力により前記ロッドを突出させる制御装置と、を備える。
【0008】
本発明の第2の地山探査装置は、トンネル掘削機に設置されて地山の強度を探査するための地山探査装置であって、前記トンネル掘削機に設けられ、前記地山の空隙量及び前記地山の安定度の少なくとも一方を測定する測定装置と、前記測定装置を前記トンネル掘削機に対して移動させる移動装置と、前記移動装置を制御して、前記トンネル掘削機と同一速度で前記トンネル掘削機とは反対の方向に前記測定装置を移動させる制御装置と、を備える。
【発明の効果】
【0009】
本発明の地山探査装置によれば、地山の状態を正確に探査することができる。
【図面の簡単な説明】
【0010】
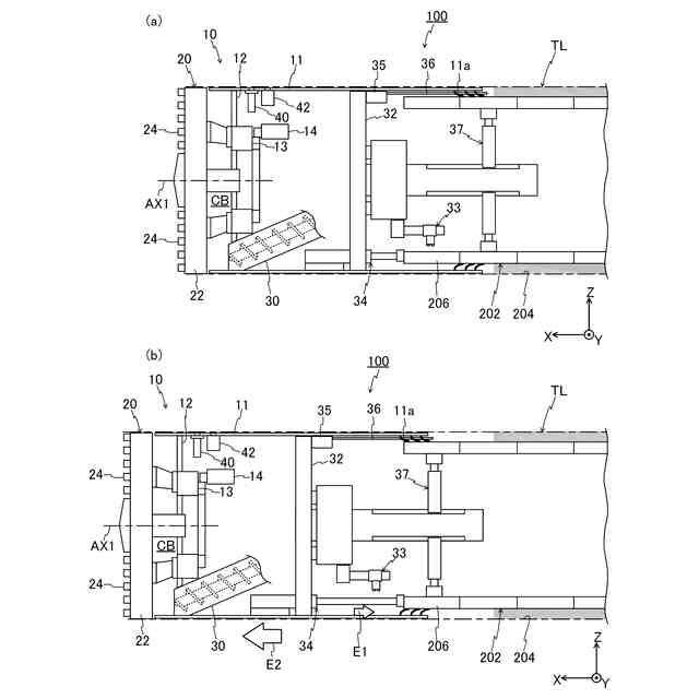
図1は、第1の実施形態に係るトンネル掘削機の概略構成を示す断面図である。
図2は、カッタヘッドを+X方向から見た状態を示す図である。
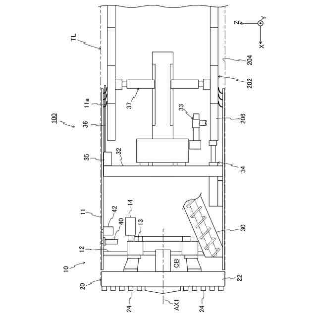
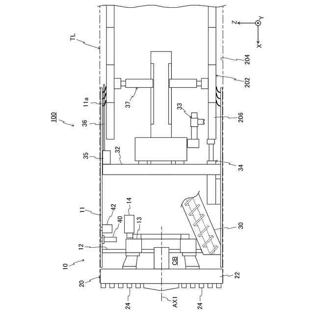
図3(a)、図3(b)は、地山探査装置及びその近傍を拡大して、一部断面して示す図である。
図4は、第1の実施形態に係るトンネル掘削機の制御系を示すブロック図である。
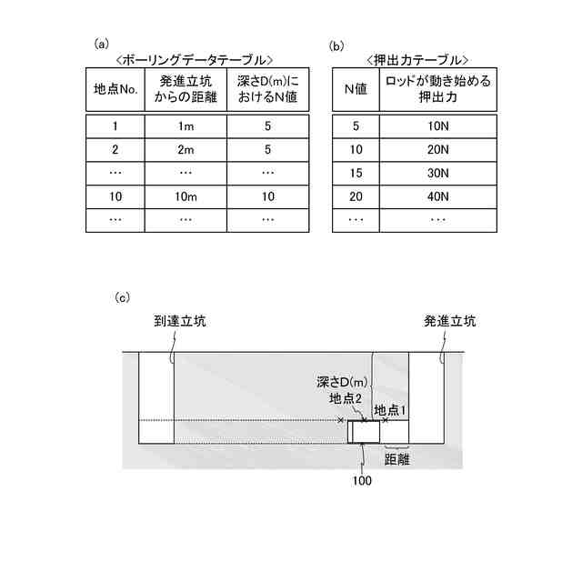
図5(a)は、ボーリングデータテーブルを示す図であり、図5(b)は、押出力テーブルを示す図であり、図5(c)は、図5(a)の各地点について説明するための図である。
図6は、トンネル掘削機の動作について示すフローチャート(その1)である。
図7は、トンネル掘削機の動作について示すフローチャート(その2)である。
図8(a)、図8(b)は、トンネル掘削機を用いた1セグメント分の掘進について説明するための図(その1)である。
図9は、トンネル掘削機を用いた1セグメント分の掘進について説明するための図(その2)である。
図10(a)は、通常の空隙を示す図であり、図10(b)は、通常の空隙よりも大きい空洞の例を示す図である。
図11は、第1の実施形態の変形例に係る制御系を示すブロック図である。
図12(a)は、第2の実施形態に係る第1の地山探査装置を示す図であり、図12(b)は、第2の実施形態に係る第2の地山探査装置を示す図である。
図13は、第3の実施形態に係る地山探査装置及びX駆動機構を示す図である。
図14(a)、図14(b)は、図13の地山探査装置を用いた処理を説明するための図である。
図15は、第3の実施形態の変形例を示す図である。
【発明を実施するための形態】
(【0011】以降は省略されています)
この特許をJ-PlatPat(特許庁公式サイト)で参照する
関連特許
国土開発工業株式会社
地山探査装置
9日前
個人
掘削機
5か月前
日特建設株式会社
切断装置
1か月前
株式会社奥村組
地山探査装置
3か月前
株式会社奥村組
地山探査装置
3か月前
株式会社奥村組
地山探査装置
3か月前
株式会社奥村組
地山探査方法
3か月前
株式会社奥村組
シールド掘進機
8か月前
株式会社奥村組
シールド掘進機
1か月前
株式会社笠原建設
横孔形成方法
6か月前
日特建設株式会社
削孔システム
3日前
株式会社奥村組
シールド掘進機
5か月前
日特建設株式会社
ボーリング装置
7か月前
花王株式会社
岩盤の掘削方法
5か月前
岐阜工業株式会社
トンネルセントル
1か月前
個人
オープンシールド機
2か月前
個人
掘削機、及び、資源回収システム
6か月前
個人
オープンシールド機
2か月前
株式会社奥村組
セグメントの組立方法
2か月前
株式会社奥村組
テールシール試験装置
8か月前
株式会社奥村組
泥土圧シールド掘進機
6か月前
株式会社熊谷組
天井板撤去装置
6か月前
株式会社ケー・エフ・シー
剥落防止構造
7か月前
岐阜工業株式会社
コンクリート分配装置
16日前
個人
箱形ルーフおよびその施工法
1か月前
日特建設株式会社
削孔方法及び削孔装置
8か月前
大阪瓦斯株式会社
牽引装置
6か月前
株式会社金澤製作所
発進坑口のエントランス装置
5か月前
デンカ株式会社
静的破砕方法
3か月前
株式会社大林組
インバート更新工法
8か月前
大阪瓦斯株式会社
切欠開裂治具
6か月前
個人
メタンハイドレート等海底鉱物資源の採取方法
3か月前
大成建設株式会社
トンネルの褄部構造
8か月前
地中空間開発株式会社
トンネル掘削機
1か月前
岐阜工業株式会社
トンネルセントルの妻板装置
3か月前
株式会社ケー・エフ・シー
防水シート探傷装置
8か月前
続きを見る
他の特許を見る