TOP
|
特許
|
意匠
|
商標
特許ウォッチ
Twitter
他の特許を見る
公開番号
2025147375
公報種別
公開特許公報(A)
公開日
2025-10-07
出願番号
2024047603
出願日
2024-03-25
発明の名称
温度調整システム
出願人
トヨタ自動車株式会社
代理人
弁理士法人深見特許事務所
主分類
B60L
58/24 20190101AFI20250930BHJP(車両一般)
要約
【課題】車両に搭載された蓄電装置の温度を、車両の状態および/または予定に応じて適切な温度に調整することができる温度調整システムを提供する。
【解決手段】温度調整システムが制御装置を備える。制御装置は、車両に搭載された蓄電装置の温度を調整する温度調整装置を制御するように構成される。制御装置は、蓄電装置の外部充電の予定に関する充電予定情報を取得するように構成される。制御装置は、車両の走行開始前に蓄電装置の温度を目標温度に近づけるように温度調整装置を制御する第1プレコンディション制御を実行するように構成される。第1プレコンディション制御における目標温度は、蓄電装置の外部充電が予定されている場合と、蓄電装置の外部充電が予定されていない場合とで異なる。
【選択図】図4
特許請求の範囲
【請求項1】
制御装置を備える温度調整システムであって、
前記制御装置は、車両に搭載された蓄電装置の温度を調整する温度調整装置を制御するように構成され、
前記制御装置は、前記蓄電装置の外部充電の予定に関する充電予定情報を取得するように構成され、
前記制御装置は、前記車両の走行開始前に前記蓄電装置の温度を目標温度に近づけるように前記温度調整装置を制御する第1プレコンディション制御を実行するように構成され、
前記第1プレコンディション制御における前記目標温度は、前記蓄電装置の外部充電が予定されている場合と、前記蓄電装置の外部充電が予定されていない場合とで異なる、温度調整システム。
続きを表示(約 1,500 文字)
【請求項2】
前記車両は、前記蓄電装置から出力される電力を用いて走行可能に構成される電動車であり、
前記温度調整装置は、前記蓄電装置から出力される電力を用いて、前記蓄電装置の温度を調整するように構成され、
前記蓄電装置を冷却する前記第1プレコンディション制御では、前記蓄電装置の外部充電が予定されていない場合の前記目標温度が、前記蓄電装置の外部充電が予定されている場合の前記目標温度よりも高い、請求項1に記載の温度調整システム。
【請求項3】
前記蓄電装置を加熱する前記第1プレコンディション制御では、前記蓄電装置の外部充電が予定されていない場合の前記目標温度が、前記蓄電装置の外部充電が予定されている場合の前記目標温度よりも低い、請求項1または2に記載の温度調整システム。
【請求項4】
前記制御装置は、前記車両の空調の予約に関する情報と、前記車両の走行開始予定時刻に関する情報との少なくとも一方を含む走行予定情報をさらに取得するように構成され、
前記制御装置は、前記走行予定情報を用いて前記車両の走行開始時刻を予測し、予測された走行開始時刻を用いて前記第1プレコンディション制御の開始タイミングを決定するように構成される、請求項1に記載の温度調整システム。
【請求項5】
前記制御装置は、前記車両の走行中かつ前記蓄電装置の外部充電開始前に前記蓄電装置の温度を目標温度に近づけるように前記温度調整装置を制御する第2プレコンディション制御をさらに実行するように構成され、
前記制御装置は、
前記車両が走行開始前であり、かつ、前記蓄電装置の外部充電が予定されており、かつ、前記第1プレコンディション制御によって前記蓄電装置を加熱する場合には、前記第1プレコンディション制御における前記目標温度に第1温度を設定し、
前記車両が走行開始前であり、かつ、前記車両が走行を予定しており、かつ、前記蓄電装置の外部充電が予定されておらず、かつ、前記第1プレコンディション制御によって前記蓄電装置を加熱する場合には、前記第1プレコンディション制御における前記目標温度に第2温度を設定し、
前記車両が走行中であり、かつ、前記蓄電装置の外部充電が予定されており、かつ、前記第2プレコンディション制御によって前記蓄電装置を加熱する場合には、前記第2プレコンディション制御における前記目標温度に第3温度を設定し、
前記車両が走行開始前であり、かつ、前記蓄電装置の外部充電が予定されており、かつ、前記第1プレコンディション制御によって前記蓄電装置を冷却する場合には、前記第1プレコンディション制御における前記目標温度に第4温度を設定し、
前記車両が走行開始前であり、かつ、前記車両が走行を予定しており、かつ、前記蓄電装置の外部充電が予定されておらず、かつ、前記第1プレコンディション制御によって前記蓄電装置を冷却する場合には、前記第1プレコンディション制御における前記目標温度に第5温度を設定し、
前記車両が走行中であり、かつ、前記蓄電装置の外部充電が予定されており、かつ、前記第2プレコンディション制御によって前記蓄電装置を冷却する場合には、前記第2プレコンディション制御における前記目標温度に第6温度を設定する
ように構成され、
前記第1温度は、前記第2温度よりも高く、
前記第3温度は、前記第1温度よりも高く、
前記第5温度は、前記第4温度よりも高く、
前記第4温度は、前記第6温度よりも高い、請求項4に記載の温度調整システム。
発明の詳細な説明
【技術分野】
【0001】
本開示は、車両に搭載された蓄電装置の温度を調整する温度調整システムに関する。
続きを表示(約 1,800 文字)
【背景技術】
【0002】
特開2019-046737号公報(特許文献1)には、蓄電装置と、蓄電装置を加熱するヒータとを備える車両が開示されている。この車両は、蓄電装置の外部充電を実行するように構成される。そして、この車両は、蓄電装置の外部充電の最中に、ヒータによって蓄電装置を加熱し、外部充電の完了後に、当該車両の出発予定時刻(走行開始予定時刻)に基づいてヒータを停止するか否かを決定する。
【先行技術文献】
【特許文献】
【0003】
特開2019-046737号公報
【発明の概要】
【発明が解決しようとする課題】
【0004】
特許文献1に記載された車両では、外部充電の完了後かつ車両の走行開始前に蓄電装置の温度を制御することで、当該車両の走行開始時に蓄電装置が好ましい温度になるようにしている。すなわち、特許文献1に記載された車両では、蓄電装置について走行開始のための事前の温度調整(プレコンディション制御)が実行される。しかしながら、車両の走行開始時における蓄電装置の好ましい温度は必ずしも一律ではない。車両の走行開始時における蓄電装置の好ましい温度は、車両の状態および予定によって変化し得る。
【0005】
本開示は、上記課題を解決するためになされたものであり、その目的は、車両に搭載された蓄電装置の温度を、車両の状態および/または予定に応じて適切な温度に調整することができる温度調整システムを提供することである。
【課題を解決するための手段】
【0006】
本開示によれば、制御装置を備える温度調整システムが提供される。制御装置は、車両に搭載された蓄電装置の温度を調整する温度調整装置を制御するように構成される。制御装置は、蓄電装置の外部充電の予定に関する充電予定情報を取得するように構成される。制御装置は、車両の走行開始前に蓄電装置の温度を目標温度に近づけるように温度調整装置を制御する第1プレコンディション制御を実行するように構成される。第1プレコンディション制御における目標温度は、蓄電装置の外部充電が予定されている場合と、蓄電装置の外部充電が予定されていない場合とで異なる。
【0007】
車両において、蓄電装置の外部充電(すなわち、車両の外部からの電力による蓄電装置の充電)が予定されている場合と、蓄電装置の外部充電が予定されていない場合とでは、当該車両の走行開始時における蓄電装置の好ましい温度が異なる。上記第1プレコンディション制御によれば、車両の走行開始前(例えば、乗車前)に、車両の予定(外部充電の有無)に合わせて蓄電装置の温度を調整することが可能になる。このため、上記温度調整システムは、車両の予定に応じて蓄電装置の温度を適切な温度に調整することができる。
【0008】
上記制御装置の機能は、ハードウェア(例えば、電子回路)のみで実現されてもよいし、ソフトウェアを利用して実現されてもよい。制御装置は、単一のユニットであってもよいし、複数のユニットで構成されてもよい。制御装置は、別々のユニットに搭載された複数のプロセッサと、別々のユニットに搭載された複数の記憶装置とを備えてもよい。
【発明の効果】
【0009】
本開示によれば、車両に搭載された蓄電装置の温度を、車両の状態および/または予定に応じて適切な温度に調整できる温度調整システムを提供することが可能になる。
【図面の簡単な説明】
【0010】
本開示の実施形態に係る温度調整システムの構成を示す図である。
本実施形態に係る温度調整制御(バッテリ温調制御)の条件設定に係る処理フローを示すフローチャートである。
図1に示した温度調整システムにおける制御装置およびモバイル端末の各々の機能について説明するための図である。
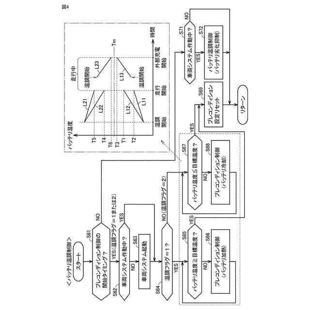
本実施形態に係るバッテリ温調制御の手順を示すフローチャートである。
外部充電の予定を入力する方法の変形例を示す図である。
プレコンディション制御の条件設定方法の変形例を示す図である。
【発明を実施するための形態】
(【0011】以降は省略されています)
この特許をJ-PlatPat(特許庁公式サイト)で参照する
関連特許
トヨタ自動車株式会社
電池
8日前
トヨタ自動車株式会社
電池
今日
トヨタ自動車株式会社
車両
8日前
トヨタ自動車株式会社
車両
4日前
トヨタ自動車株式会社
車両
4日前
トヨタ自動車株式会社
電動車
6日前
トヨタ自動車株式会社
電動車
4日前
トヨタ自動車株式会社
電解液
4日前
トヨタ自動車株式会社
回転子
4日前
トヨタ自動車株式会社
電動車
4日前
トヨタ自動車株式会社
電動車
4日前
トヨタ自動車株式会社
電動車
今日
トヨタ自動車株式会社
ロータ
6日前
トヨタ自動車株式会社
蓄電装置
4日前
トヨタ自動車株式会社
制御装置
8日前
トヨタ自動車株式会社
蓄電セル
4日前
トヨタ自動車株式会社
蓄電セル
6日前
トヨタ自動車株式会社
切断装置
4日前
トヨタ自動車株式会社
蓄電セル
6日前
トヨタ自動車株式会社
電源装置
4日前
トヨタ自動車株式会社
蓄電装置
8日前
トヨタ自動車株式会社
駆動装置
4日前
トヨタ自動車株式会社
育苗装置
5日前
トヨタ自動車株式会社
蓄電装置
6日前
トヨタ自動車株式会社
制御装置
4日前
トヨタ自動車株式会社
電動車両
4日前
トヨタ自動車株式会社
塗布装置
6日前
トヨタ自動車株式会社
制御装置
8日前
トヨタ自動車株式会社
蓄電装置
8日前
トヨタ自動車株式会社
蓄電装置
5日前
トヨタ自動車株式会社
蓄電装置
5日前
トヨタ自動車株式会社
検査装置
8日前
トヨタ自動車株式会社
蓄電装置
8日前
トヨタ自動車株式会社
ロボット
今日
トヨタ自動車株式会社
蓄電装置
8日前
トヨタ自動車株式会社
制御装置
8日前
続きを見る
他の特許を見る