TOP
|
特許
|
意匠
|
商標
特許ウォッチ
Twitter
他の特許を見る
10個以上の画像は省略されています。
公開番号
2025147235
公報種別
公開特許公報(A)
公開日
2025-10-06
出願番号
2025132845,2021208387
出願日
2025-08-08,2021-12-22
発明の名称
受口部材、受口部材を備えた排水集合管および脚部継手ならびに受口部材を用いた接続方法
出願人
株式会社クボタケミックス
代理人
安田岡本弁理士法人
主分類
F16L
27/12 20060101AFI20250926BHJP(機械要素または単位;機械または装置の効果的機能を生じ維持するための一般的手段)
要約
【課題】熱の影響を受けた樹脂管の熱伸長を好適に吸収する。
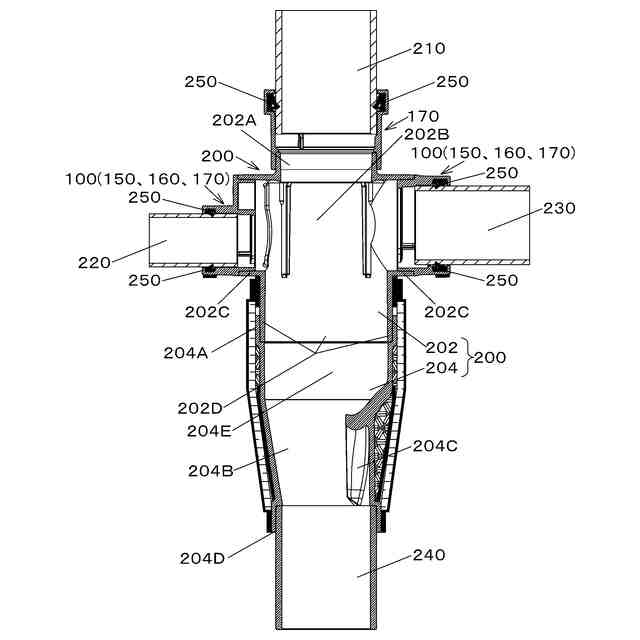
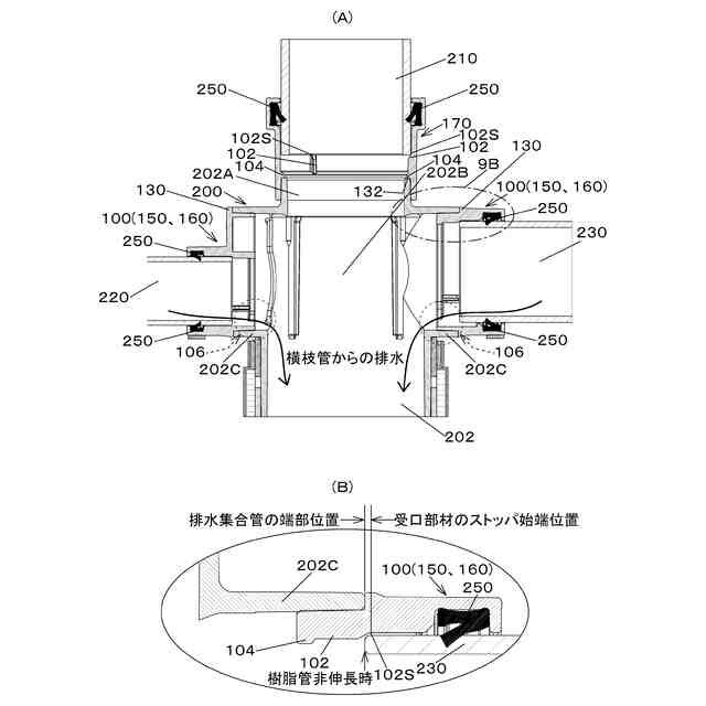
【解決手段】受口部材100は、管部材(排水集合管200、脚部継手)と合成樹脂製の排水管(排水集合管200に接続される上部立管210または横枝管220および横枝管230、脚部継手に接続される最下階排水集合管または下部立管)とを接続するために用いられる。この受口部材100は、硬質ポリ塩化ビニル製で略中空円筒形状を備える。この受口部材100は、受口部材100の略中空円筒形状の内面に突出して管軸方向に延びる突条のストッパ102と、ストッパ102における管部材側の終端に形成された、円環状の縮径部104または突条の縮径部とを備える。管部材が排水集合管200であり円環状の縮径部104である場合において、受口部材100は、排水集合管200側において、下側に切欠き部106を備える。
【選択図】図9
特許請求の範囲
【請求項1】
管部材と合成樹脂製の排水管とを接続するために用いられる合成樹脂製で略中空円筒形状の受口部材であって、
略中空円筒形状の内面に突出して管軸方向に延びる突条のストッパと、
前記ストッパにおける前記管部材側の終端に形成された、円環状または突条の縮径部とを備えることを特徴とする、受口部材。
続きを表示(約 960 文字)
【請求項2】
前記ストッパおよび前記突条の縮径部は、前記内面における周面に離散的に設けられることを特徴とする、請求項1に記載の受口部材。
【請求項3】
前記ストッパおよび前記突条の縮径部は、前記内面における周面に略等間隔に設けられることを特徴とする、請求項2に記載の受口部材。
【請求項4】
前記管部材に前記受口部材が嵌合されて前記管部材と前記受口部材とが接続された接続状態になり、
前記受口部材は透明であって、
前記接続状態において前記排水管と前記ストッパとの当接状態を目視確認できることを特徴とする、請求項1~請求項3のいずれかに記載の受口部材。
【請求項5】
前記管部材に前記受口部材が嵌合されて前記管部材と前記受口部材とが接続された接続状態になり、
前記受口部材は透明であって、
前記ストッパにおける前記排水管側の始端は、前記接続状態において前記管部材の端部よりも前記排水管側に位置することを特徴とする、請求項1~請求項3のいずれかに記載の受口部材。
【請求項6】
請求項1~請求項5のいずれかに記載の受口部材を、立管接続部または横枝管接続部に備えるとともに内部に旋回羽根を備えたことを特徴とする、排水集合管。
【請求項7】
前記排水管が横枝管であって、前記管部材が前記排水集合管であって、
前記受口部材が備える前記ストッパおよび前記縮径部は、前記受口部材の下側には存在しないことを特徴とする、請求項6に記載の排水集合管。
【請求項8】
前記受口部材は、前記排水集合管側において、前記下側に切欠き部を備えることを特徴とする、請求項7に記載の排水集合管。
【請求項9】
前記受口部材は、前記排水集合管側と前記横枝管側とで内径が異なる場合があり、前記横枝管側の管軸が前記排水集合管側の管軸に対して下側に偏芯していることを特徴とする、請求項6~請求項8のいずれかに記載の排水集合管。
【請求項10】
請求項1~請求項5のいずれかに記載の受口部材を、立管接続部に備えたことを特徴とする、脚部継手。
(【請求項11】以降は省略されています)
発明の詳細な説明
【技術分野】
【0001】
本発明は、管部材(一例ではあるが、排水集合管、脚部継手)と合成樹脂製の排水管(一例ではあるが、排水集合管に接続される(上部)立管または横枝管、脚部継手に接続される最下階排水集合管または(最下階排水集合管に接続された下部)立管)とを接続する技術に関し、特に、合成樹脂製の排水管が熱の影響を受けて排水管の長手方向に伸長した場合であっても、その熱伸長を好適に吸収して熱伸長により管部材が破損することを回避することのできる、受口部材、受口部材を備えた排水集合管および脚部継手ならびに受口部材を用いた接続方法に関する。
続きを表示(約 2,500 文字)
【背景技術】
【0002】
集合住宅やオフィスビルなどには、給水設備および排水設備が設けられる。このうちの排水設備は、建築物の各階層を上下に貫く立管(縦管等と同義)と、各階層内に設置される横枝管と、これらを接続する排水集合管(排水集合継手等と同義)と、最下階の排水集合管と接続される脚部継手等とを備えた排水配管構造が代表的なものとして広く知られている。このような排水配管構造において、立管に合成樹脂製の排水管を採用した場合に、熱の影響を受けて排水管の長手方向に伸長(熱伸長)することがある。このような熱伸長を好適に吸収して熱伸長により管部材が破損することを回避する必要がある。
【0003】
たとえば、特開2021-042664号公報(特許文献1)は、縦ブッシュを備えた排水集合継手を開示する。この特許文献1に開示された排水集合継手は、上階の縦管と接続される上部接続管と、下階の縦管と接続される下部接続管と、を備え、床スラブの貫通孔に設置される排水集合継手であって、前記上部接続管の下端部および前記下部接続管の上端部は、前記床スラブの貫通孔内に配置され、前記床スラブの貫通孔内となる位置であって、前記下部接続管の外周に高さ30mm以上150mm以下の耐火シートが巻き付けられ、前記上部接続管は、縦管に接続可能な縦管接続部と、横管を接続可能な複数の横管接続部を有し、かつ、透明材料または半透明材料で形成されており、前記横管接続部には、内部にパッキンが配置される拡径部を備えた横ブッシュが嵌合接着され、前記縦管接続部には、内部にパッキンが配置される拡径部を備えた縦ブッシュが嵌合接着され、前記横ブッシュを透明材料または半透明材料から形成したことを特徴とする(請求項1)。
【0004】
この排水集合継手において、縦管P1が熱伸長(熱収縮と同義)した場合には、エチレン-プロピレン-ジエンゴム(EPDM)等の通常排水設備に使用されているゴム材料からなる縦パッキン22が備えるリップ部22aの下端部に突出されて形成された径方向内側に突出する段部22bに、第1の縦管P1の管端部が突き当たり、第1の縦管P1の熱伸縮を吸収するようになっている(第0044段落)。
【先行技術文献】
【特許文献】
【0005】
特開2021-042664号公報
【発明の概要】
【発明が解決しようとする課題】
【0006】
しかしながら、特許文献1には、第1の縦管P1の熱伸縮を吸収するために、ゴム材料からなる縦パッキン22の段部22bが開示されているに過ぎず、
(1)ゴム材料で形成された縦パッキン22の段部22bに熱伸長した第1の縦管P1の管端部が突き当たり吸収することが果たして可能であるのか、
(2)ゴム材料からなる縦パッキン22を採用しているが、ゴム材料であるために滑剤塗布が必要であって、滑剤を別で準備する必要があり、現場での作業も必要であって、
(3)樹脂管の熱伸長を吸収する構造について特許文献1には上述した第0044段落以外に記載がなく、
(4)合成樹脂製の排水管と接続される排水集合継手以外の管部材について特許文献1には記載がなく、
管部材(一例ではあるが、排水集合管、脚部継手)と合成樹脂製の排水管(一例ではあるが、排水集合管に接続される上部立管または横枝管、脚部継手に接続される最下階排水集合管または立管)とを接続した場合の合成樹脂製の排水管の熱伸長を、好適に、かつ、作業効率を低下させることなく、吸収することができるのか特許文献1の開示からは不明である。
【0007】
本発明は、上述の問題点に鑑みて開発されたものであり、その目的とするところは、管部材(一例ではあるが、排水集合管、脚部継手)と合成樹脂製の排水管(一例ではあるが、排水集合管に接続される上部立管または横枝管、脚部継手に接続される最下階排水集合管または立管)とを接続した場合の合成樹脂製の排水管の熱伸長を好適に吸収することのできる、受口部材、受口部材を備えた排水集合管および脚部継手ならびに受口部材を用いた接続方法を提供することである。
【課題を解決するための手段】
【0008】
上記目的を達成するため、本発明のある局面に係る受口部材は以下の技術的手段を講じている。
すなわち、本発明のある局面に係る受口部材は、管部材と合成樹脂製の排水管とを接続するために用いられる合成樹脂製で略中空円筒形状の受口部材であって、略中空円筒形状の内面に突出して管軸方向に延びる突条のストッパと、前記ストッパにおける前記管部材側の終端に形成された、円環状または突条の縮径部とを備えることを特徴とする。
【0009】
好ましくは、前記ストッパおよび前記突条の縮径部は、前記内面における周面に離散的に設けられるように構成することができる。
さらに好ましくは、前記ストッパおよび前記突条の縮径部は、前記内面における周面に略等間隔に設けられるように構成することができる。
さらに好ましくは、前記管部材に前記受口部材が嵌合されて前記管部材と前記受口部材とが接続された接続状態になり、前記受口部材は透明であって、前記接続状態において前記排水管と前記ストッパとの当接状態を目視確認できるように構成することができる。
【0010】
さらに好ましくは、前記管部材に前記受口部材が嵌合されて前記管部材と前記受口部材とが接続された接続状態になり、前記受口部材は透明であって、前記ストッパにおける前記排水管側の始端は、前記接続状態において前記管部材の端部よりも前記排水管側に位置するように構成することができる。
また、本発明の別の局面に係る排水集合管は、上述したいずれかの受口部材を、立管接続部または横枝管接続部に備えるとともに内部に旋回羽根を備えたことを特徴とする。
(【0011】以降は省略されています)
この特許をJ-PlatPat(特許庁公式サイト)で参照する
関連特許
株式会社クボタケミックス
電気融着装置
2日前
個人
鍋虫ねじ
1か月前
個人
紛体用仕切弁
1か月前
個人
回転伝達機構
2か月前
個人
ホース保持具
5か月前
個人
トーションバー
6か月前
個人
差動歯車用歯形
3か月前
個人
ジョイント
20日前
個人
給排気装置
2日前
個人
回転式配管用支持具
7か月前
個人
ナット
21日前
株式会社不二工機
電磁弁
3か月前
個人
ボルトナットセット
6か月前
個人
地震の揺れ回避装置
2か月前
株式会社不二工機
電磁弁
4か月前
個人
吐出量監視装置
1か月前
株式会社オンダ製作所
継手
8か月前
カヤバ株式会社
緩衝器
3か月前
カヤバ株式会社
緩衝器
3か月前
カヤバ株式会社
緩衝器
1日前
カヤバ株式会社
緩衝器
7か月前
カヤバ株式会社
ダンパ
3か月前
カヤバ株式会社
ダンパ
3か月前
柿沼金属精機株式会社
分岐管
1か月前
個人
ベルトテンショナ
7か月前
株式会社三協丸筒
枠体
6か月前
個人
固着具と固着具の固定方法
4か月前
株式会社不二工機
電磁弁
1か月前
協和工業株式会社
空気弁
7か月前
株式会社フジキン
ボールバルブ
4か月前
株式会社ノーリツ
分配弁
6日前
株式会社タカギ
水栓装置
2か月前
個人
固着具と固着具の固定方法
7か月前
日東電工株式会社
断熱材
5か月前
株式会社奥村組
制振機構
10日前
個人
固着具と固着具の固定方法
4か月前
続きを見る
他の特許を見る