TOP
|
特許
|
意匠
|
商標
特許ウォッチ
Twitter
他の特許を見る
公開番号
2025146971
公報種別
公開特許公報(A)
公開日
2025-10-03
出願番号
2025126601,2024086489
出願日
2025-07-29,2020-06-02
発明の名称
情報処理装置、情報処理方法及びプログラム
出願人
株式会社MIXI
代理人
主分類
G06Q
50/10 20120101AFI20250926BHJP(計算;計数)
要約
【課題】所有していないキャラクタを容易に入手できる方法をプレイヤに通知すること。
【解決手段】プレイヤが所有するキャラクタを記憶する記憶部と、前記プレイヤから所定のキャラクタの情報を表示させるための操作を受け付けた場合に、前記所定のキャラクタの中に所定条件を満たすキャラクタが含まれているときに、当該所定条件を満たすキャラクタを入手可能なイベントの情報を通知するための通知画面を表示させる表示制御部と、を備え、前記所定条件を満たすキャラクタは、前記イベントで入手可能なキャラクタであって、かつ、前記ユーザが所有していないキャラクタである、情報処理装置を提供する。
【選択図】図7
特許請求の範囲
【請求項1】
プレイヤが所有するキャラクタを記憶する記憶部と、
前記プレイヤから所定のキャラクタの情報を表示させるための操作を受け付けた場合に、前記所定のキャラクタの中に所定条件を満たすキャラクタが含まれているときに、当該所定条件を満たすキャラクタを入手可能なイベントの情報を通知するための通知画面を表示させる表示制御部と、を備え、
前記所定条件を満たすキャラクタは、前記イベントで入手可能なキャラクタであって、かつ、前記プレイヤが所有していないキャラクタである、
情報処理装置。
発明の詳細な説明
【技術分野】
【0001】
本発明は、情報処理装置、情報処理方法及びプログラムに関する。
続きを表示(約 1,500 文字)
【背景技術】
【0002】
デッキと呼ばれる、複数のキャラクタから構成されるチームを用いて、クエストと呼ばれるミッションをクリアしていくゲームが知られている。また、特許文献1には、現時点までにユーザが獲得したポイント、プレイ期限の終了までにポイント獲得条件の成立によって獲得可能なポイント、及び、各抽選ゲームの必要ポイントに基づいて、プレイ期限の終了までに到達可能な必要ポイントのうちの最大の必要ポイントが設定された種類の抽選ゲームを特定し、その特定された種類の抽選ゲームのプレイを勧める通知をユーザに対して行なう技術が開示されている。
【先行技術文献】
【特許文献】
【0003】
特開2019-115411号公報
【発明の概要】
【発明が解決しようとする課題】
【0004】
デッキを構成するためには複数のキャラクタが必要になる。また、クエストを有利に進めるためには、プレイヤは、多様なキャラクタを所有し、クエストの特性に応じたデッキを編成してクエストをプレイすることが望ましい。
【0005】
そこで、本発明は、所有していないキャラクタを容易に入手できる方法をプレイヤに通知することを目的とする。
【課題を解決するための手段】
【0006】
本発明の一態様に係る情報処理装置は、プレイヤが所有するキャラクタを記憶する記憶部と、前記プレイヤから所定のキャラクタの情報を表示させるための操作を受け付けた場合に、前記所定のキャラクタの中に所定条件を満たすキャラクタが含まれているときに、当該所定条件を満たすキャラクタを入手可能なイベントの情報を通知するための通知画面を表示させる表示制御部と、を備え、前記所定条件を満たすキャラクタは、前記イベントで入手可能なキャラクタであって、かつ、前記プレイヤが所有していないキャラクタである。
【発明の効果】
【0007】
本発明によれば、所有していないキャラクタを容易に入手できる方法をプレイヤに通知することができる。
【図面の簡単な説明】
【0008】
本実施形態に係るゲームシステムのシステム構成の一例を示す図である。
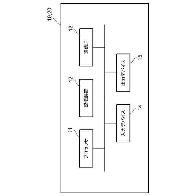
ゲームサーバ及び端末のハードウェア構成の一例を示す図である。
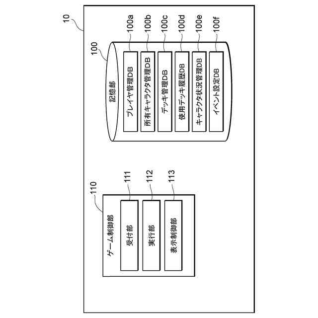
ゲームサーバの機能ブロック構成例を示す図である。
プレイヤ管理DB及び所有キャラクタ管理DBの一例を示す図である。
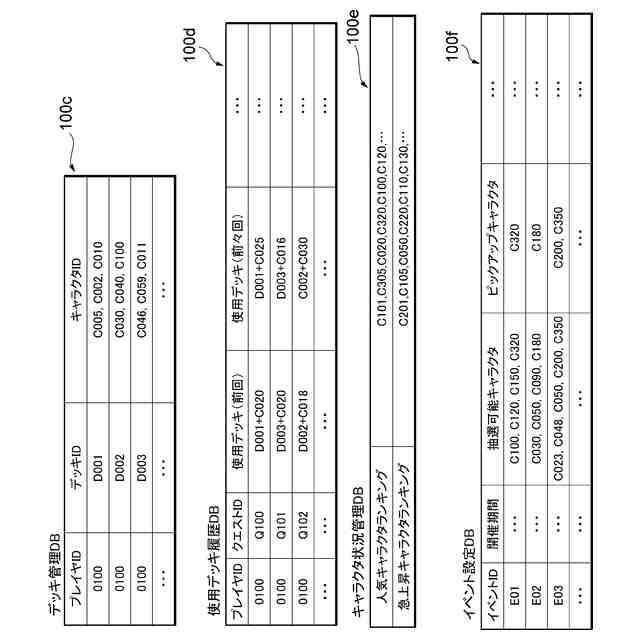
デッキ管理DB、使用デッキ履歴DB、キャラクタ状況管理DB及びイベン ト設定DBの一例を示す図である。
端末の機能ブロック構成例を示す図である。
ゲームサーバが行う処理手順の一例を示すフローチャートである。
ゲーム画面の一例を示す図である。
【発明を実施するための形態】
【0009】
添付図面を参照して、本発明の実施形態について説明する。なお、各図において、同一の符号を付したものは、同一又は同様の構成を有する。
【0010】
<システム構成>
図1は、本実施形態に係るゲームシステム1のシステム構成の一例を示す図である。図1に示すゲームシステム1は、ゲームサーバ10(ゲーム装置)と、複数の端末20とを備える。ゲームサーバ10及び端末20は、インターネット、イントラネット、無線LAN又は移動通信等の通信ネットワークNを介して互いに通信可能に接続されている。
(【0011】以降は省略されています)
この特許をJ-PlatPat(特許庁公式サイト)で参照する
関連特許
株式会社MIXI
情報処理装置、情報処理方法、プログラム及びシステム
1か月前
株式会社MIXI
情報処理装置、情報処理方法、プログラム及びゲームシステム
2か月前
株式会社MIXI
情報処理装置、情報処理方法、プログラム及びゲームシステム
7日前
株式会社MIXI
情報処理装置、情報処理方法、プログラム及び情報処理システム
2か月前
株式会社MIXI
情報処理装置、情報処理方法、プログラム及び情報処理システム
1か月前
株式会社MIXI
情報処理装置、情報処理方法、プログラム及び情報処理システム
20日前
株式会社MIXI
情報処理装置、情報処理システム、情報処理方法、及びプログラム
2か月前
株式会社MIXI
ゲーム装置及びプログラム
2か月前
株式会社MIXI
情報処理装置及びプログラム
1か月前
株式会社MIXI
情報処理装置、及びプログラム
1か月前
株式会社MIXI
情報処理装置およびプログラム
1か月前
株式会社MIXI
情報処理装置、およびプログラム
2か月前
株式会社MIXI
情報処理装置、及び情報処理プログラム
2か月前
株式会社MIXI
情報処理装置、情報処理方法及びプログラム
2か月前
株式会社MIXI
情報処理装置、情報処理方法及びプログラム
2か月前
株式会社MIXI
情報処理装置、情報処理方法及びプログラム
2か月前
株式会社MIXI
情報処理装置、情報処理方法及びプログラム
1か月前
株式会社MIXI
情報処理装置、情報処理方法及びプログラム
2か月前
株式会社MIXI
情報処理装置、情報処理方法及びプログラム
2か月前
株式会社MIXI
情報処理装置、プログラム及び情報処理方法
1か月前
株式会社MIXI
情報処理装置、情報処理方法及びプログラム
2か月前
株式会社MIXI
情報処理装置、情報処理方法及びプログラム
2か月前
株式会社MIXI
情報処理装置、情報処理方法及びプログラム
1か月前
株式会社MIXI
情報処理装置、情報処理方法及びプログラム
1か月前
株式会社MIXI
情報処理装置、情報処理方法及びプログラム
26日前
株式会社MIXI
情報処理装置、情報処理方法及びプログラム
2か月前
株式会社MIXI
情報処理装置、情報処理方法及びプログラム
12日前
株式会社MIXI
情報処理装置、情報処理方法及びプログラム
5日前
株式会社MIXI
情報処理装置、情報処理方法及びプログラム
5日前
株式会社MIXI
情報処理装置、プログラム及び情報処理方法
1か月前
株式会社MIXI
情報処理装置、情報処理方法、及びプログラム
2か月前
株式会社MIXI
情報処理装置、プログラムおよび情報処理方法
2か月前
株式会社MIXI
情報処理装置、プログラム、及び情報処理方法
1日前
株式会社MIXI
情報処理装置、プログラム、及び情報処理方法
1か月前
株式会社MIXI
情報処理装置、制御プログラム、及び制御方法
1か月前
株式会社MIXI
情報処理装置、情報処理方法およびプログラム
26日前
続きを見る
他の特許を見る