TOP
|
特許
|
意匠
|
商標
特許ウォッチ
Twitter
他の特許を見る
10個以上の画像は省略されています。
公開番号
2025142032
公報種別
公開特許公報(A)
公開日
2025-09-29
出願番号
2025119145,2022074561
出願日
2025-07-15,2021-08-18
発明の名称
情報処理装置、情報処理方法、及びプログラム
出願人
株式会社MIXI
代理人
主分類
A63F
13/56 20140101AFI20250919BHJP(スポーツ;ゲーム;娯楽)
要約
【課題】 複数のキャラクタのそれぞれを移動路上に配置してプレイするゲームの興趣性を向上させる。
【解決手段】 本発明の情報処理装置は、複数の移動路のうち、いずれかの移動路上において、第1ユーザが操作する第1キャラクタを配置させる配置部と、第1ユーザの切り替え操作に基づいて、第1キャラクタを配置する移動路を切り替える切り替え部と、第1キャラクタを第2キャラクタと同一の移動路上に配置する場合に、同一の移動路上における第2キャラクタに対する第1キャラクタの位置関係を決める位置決定部と、位置関係に応じて、移動路上に存在するオブジェクトと対応するゲーム内効果を発生させる効果発生部と、を備える。
【選択図】図4
特許請求の範囲
【請求項1】
複数の移動路のうち、いずれかの移動路上において、第1ユーザが操作する第1キャラクタを配置させる配置部と、
前記第1ユーザの切り替え操作に基づいて、前記第1キャラクタを配置する移動路を切り替える切り替え部と、
前記第1キャラクタを第2キャラクタと同一の移動路上に配置する場合に、前記同一の移動路上における前記第2キャラクタに対する前記第1キャラクタの位置関係を決める位置決定部と、
前記位置関係に応じて、移動路上に存在するオブジェクトと対応するゲーム内効果を発生させる効果発生部と、を備える、情報処理装置。
発明の詳細な説明
【技術分野】
【0001】
本発明は、情報処理装置、情報処理方法、及びプログラムに関する。
続きを表示(約 2,100 文字)
【背景技術】
【0002】
ゲーム内空間に設定された複数の移動路のうち、いずれか一つの移動路上に操作キャラクタを配置し、移動路上の操作キャラクタに所定の動作を行わせるゲームは、既に知られている。例えば、特許文献1に記載のゲームでは、ゲーム中のステージにおいて、複数のキャラクタがそれぞれ異なる移動路(レーン)上を同時に移動し、移動中に獲得するポイントをキャラクタ間で競い合う。
【先行技術文献】
【特許文献】
【0003】
特開2005-103154号公報
【発明の概要】
【発明が解決しようとする課題】
【0004】
複数のキャラクタを移動路上に配置するゲームにおいて、それぞれのキャラクタは、ユーザの操作又はコンピュータの制御に従って動作し、ユーザは、自分の操作キャラクタを画面にて確認しながら操作を行う。そして、操作キャラクタの動作に応じて、移動路上に存在する敵等のオブジェクトに対して攻撃したり、敵等を回避したりする等のゲーム内効果が発生する。一方で、発生するゲーム内効果が単調になると、ユーザにとってゲームの興趣性が低下してしまう可能性がある。
【0005】
そこで、本発明は、複数のキャラクタのそれぞれを移動路上に配置してプレイするゲームの興趣性を向上させる情報処理装置、情報処理方法、及びプログラムを提供することを課題とする。
【課題を解決するための手段】
【0006】
本発明の一態様に係る情報処理装置は、複数の移動路のうち、いずれかの移動路上において、第1ユーザが操作する第1キャラクタを配置させる配置部と、第1ユーザの切り替え操作に基づいて、第1キャラクタを配置する移動路を切り替える切り替え部と、第1キャラクタを第2キャラクタと同一の移動路上に配置する場合に、同一の移動路上における第2キャラクタに対する第1キャラクタの位置関係を決める位置決定部と、位置関係に応じて、移動路上に存在するオブジェクトと対応するゲーム内効果を発生させる効果発生部と、を備えることを特徴とする。
【発明の効果】
【0007】
本発明の一態様によれば、第1キャラクタ及び第2キャラクタを複数の移動路のいずれかに配置してプレイするゲームにおいて、第1キャラクタを第2キャラクタと同じ移動路に配置する場合のゲーム内効果が、キャラクタ間の位置関係に応じて変化する。これにより、上記ゲームの興趣性を向上させることができる。
【図面の簡単な説明】
【0008】
図1の(A)~(C)は、ゲームのプレイ画面の一例を示す図である。
図2の(A)~(C)は、共同プレイ時のプレイ画面の一例を示す図である。
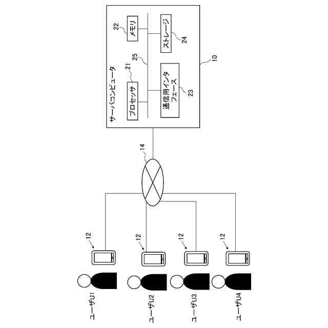
本発明の一実施形態に係る情報処理装置及び周辺装置を示す概念図である。
本発明の一実施形態に係る情報処理装置の機能についての説明図である。
ユーザ情報の一例を示す図である。
キャラクタ情報の一例を示す図である。
ステージ情報の一例を示す図である。
第1レーンが切り替わる一例を示す図である。
第1レーンが切り替わる別の例を示す図である。
本発明の一実施形態に係る情報処理方法の流れを示す図であり、共同プレイ用の情報処理の流れを示す図である(その1)。
本発明の一実施形態に係る情報処理方法の流れを示す図であり、共同プレイ用の情報処理の流れを示す図である(その2)。
本発明の変形例に係る情報処理装置の機能についての説明図である。
【発明を実施するための形態】
【0009】
本発明の情報処理装置、情報処理方法及びプログラムについて、以下、添付の図面に示す好適な実施形態(第1実施形態及び第2実施形態)を参照しながら説明する。ただし、以下に説明する実施形態は、本発明の理解を容易にするために挙げた具体例の一つにすぎず、本発明を限定するものではない。すなわち、本発明は、その趣旨を逸脱しない限りにおいて、以下に説明する実施形態から変更又は改良され得る。また、本発明には、その等価物が含まれる。また、以下の説明の中で参照される図面が示す画面例も一例に過ぎず、画面の構成例、表示される情報の内容、及びGUI(Graphical User Interface)等は、システム設計の仕様及びユーザの好み等に応じて自由に設計することができ、また適宜変更し得るものである。
【0010】
[第1実施形態に係るゲームについて]
第1実施形態に係る情報処理装置を通じてプレイ可能な特定のゲーム(以下、単に「本ゲーム」という)について説明する。なお、以下の説明において、「ユーザ」とは、第1実施形態に係る情報処理装置の機能を利用して本ゲームをプレイする者、すなわち本ゲームのプレイヤを意味する。
(【0011】以降は省略されています)
この特許をJ-PlatPat(特許庁公式サイト)で参照する
関連特許
個人
玩具
4か月前
個人
玩具
2か月前
個人
自走玩具
2か月前
個人
運動補助具
3か月前
個人
ゲーム玩具
6か月前
個人
玩具
9か月前
個人
小型卓球台
22日前
個人
パズル
23日前
個人
打撃練習用具
1か月前
株式会社三共
遊技機
6か月前
株式会社三共
遊技機
6か月前
株式会社三共
遊技機
4か月前
株式会社三共
遊技機
6か月前
株式会社三共
遊技機
6か月前
株式会社三共
遊技機
6か月前
株式会社三共
遊技機
6か月前
株式会社三共
遊技機
6か月前
株式会社三共
遊技機
6か月前
株式会社三共
遊技機
6か月前
株式会社三共
遊技機
6か月前
株式会社三共
遊技機
6か月前
株式会社三共
遊技機
6か月前
株式会社三共
遊技機
6か月前
株式会社三共
遊技機
6か月前
株式会社三共
遊技機
6か月前
株式会社三共
遊技機
6か月前
株式会社三共
遊技機
6か月前
株式会社三共
遊技機
6か月前
株式会社三共
遊技機
6か月前
株式会社三共
遊技機
6か月前
株式会社三共
遊技機
6か月前
株式会社三共
遊技機
6か月前
株式会社三共
遊技機
6か月前
株式会社三共
遊技機
6か月前
株式会社三共
遊技機
6か月前
株式会社三共
遊技機
6か月前
続きを見る
他の特許を見る