TOP
|
特許
|
意匠
|
商標
特許ウォッチ
Twitter
他の特許を見る
10個以上の画像は省略されています。
公開番号
2025179215
公報種別
公開特許公報(A)
公開日
2025-12-09
出願番号
2025153399,2023003831
出願日
2025-09-16,2021-12-13
発明の名称
情報処理装置、プログラム、及び情報処理方法
出願人
株式会社MIXI
代理人
主分類
A63F
13/69 20140101AFI20251202BHJP(スポーツ;ゲーム;娯楽)
要約
【課題】ゲーム媒体を複数のユーザで指定して取り合う際に、他のユーザが何を指定しているのかをユーザが識別できる情報処理装置を提供する。
【解決手段】本発明によれば、受付部と、表示制御部と、を備え、前記受付部は、複数のユーザにより構成されるグループに属するユーザに提供可能な複数のゲーム媒体について、前記複数のユーザの各々から提供を希望するゲーム媒体の指定を受け付け、前記表示制御部は、前記複数のゲーム媒体のうち前記複数のユーザの各々が指定しているゲーム媒体を識別可能に表示する、情報処理装置が提供される。
【選択図】図1
特許請求の範囲
【請求項1】
受付部と、表示制御部と、を備え、 前記受付部は、複数のユーザにより構成されるグループに属するユーザに提供可能な複数のゲーム媒体について、前記複数のユーザの各々から提供を希望するゲーム媒体の指定を受け付け、 前記表示制御部は、前記複数のゲーム媒体のうち前記複数のユーザの各々が指定しているゲーム媒体を識別可能に表示する、情報処理装置。
発明の詳細な説明
【技術分野】
【0001】
本発明は、情報処理装置、プログラム、及び情報処理方法に関する。
続きを表示(約 1,600 文字)
【背景技術】
【0002】
特許文献1には、複数のユーザが共同して参加する抽選ゲームを提供するゲームシステムが開示されている。
【先行技術文献】
【特許文献】
【0003】
特開2018-183573
【発明の概要】
【発明が解決しようとする課題】
【0004】
ここで、特許文献1のシステムでは他のユーザが取得を希望し指定しているアイテムについてユーザが指定時に識別することができなかった。
【0005】
本発明は、ゲーム媒体を複数のユーザで指定して取り合う際に、他のユーザが何を指定しているのかをユーザが識別できる情報処理装置、プログラム、及び情報処理方法を提供する。
【課題を解決するための手段】
【0006】
本発明の一態様に係る情報処理装置は、受付部と、表示制御部と、を備え、前記受付部は、複数のユーザにより構成されるグループに属するユーザに提供可能な複数のゲーム媒体について、前記複数のユーザの各々から提供を希望するゲーム媒体の指定を受け付け、前記表示制御部は、前記複数のゲーム媒体のうち前記複数のユーザの各々が指定しているゲーム媒体を識別可能に表示する、情報処理装置である。
【0007】
本発明の一態様によれば、ゲーム媒体を複数のユーザで指定して取り合う際に、他のユーザが何を指定しているのかをユーザが識別できることができる。
【図面の簡単な説明】
【0008】
第1実施形態に係るゲーム媒体提供システム1の概要を示す図である。
第1実施形態に係るサーバ10のハードウェア構成を示すブロック図である。
第1実施形態に係るユーザ端末20のハードウェア構成を示すブロック図である。
第1実施形態に係るサーバ10の機能構成を示すブロック図である。
第1実施形態に係るゲーム媒体を指定するための画面(指定画面)の一例である。
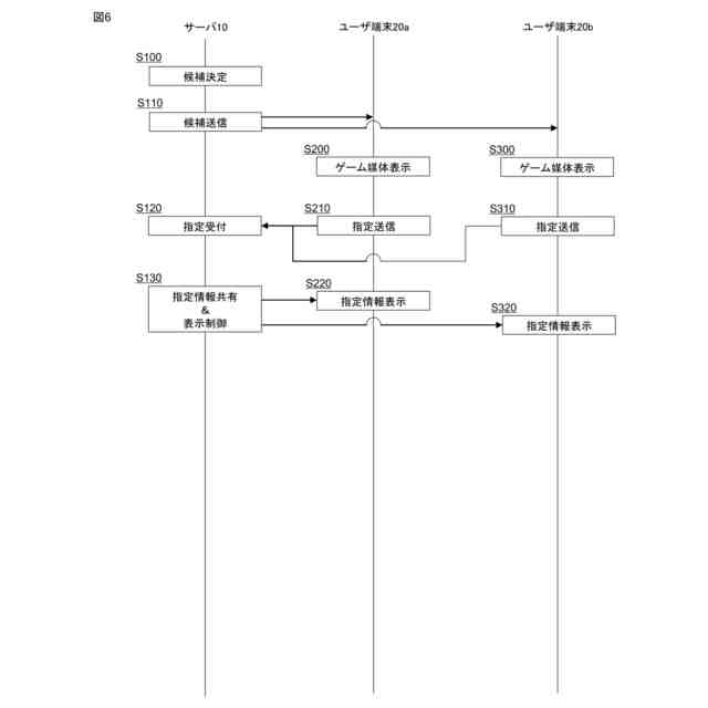
第1実施形態に係るゲーム媒体提供システム1による処理の流れを示す図である。
第1実施形態に係るゲーム媒体提供システム1の概要を示す図である。
第2実施形態に係るサーバ10の機能構成を示すブロック図である。
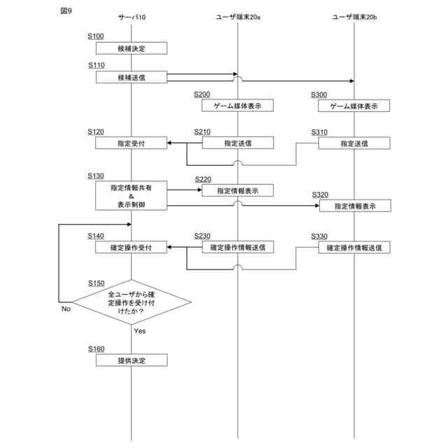
第2実施形態に係るゲーム媒体提供システム1による処理の流れを示す図である。
第2実施形態に係る指定画面の一例である。
第3実施形態に係る指定と代替指定の関係を記録したテーブルの一例である。
第3実施形態に係る指定と代替指定の関係を記録したテーブルの一例(他ユーザの指定との競合)である。
第3実施形態に係る指定と代替指定の関係を記録したテーブルの一例(他の代替指定との競合)である。
変形例3に係る指定画面の一例である。
変形例4に係る指定画面の一例である。
変形例6に係る指定画面の一例である。
変形例7に係る指定画面の一例である。
【発明を実施するための形態】
【0009】
以下、図面を用いて本発明のいくつかの実施形態について説明する。以下に示す実施形態中で示した各種特徴事項は、互いに組み合わせ可能である。また、各特徴事項について独立して発明が成立する。
【0010】
<1.第1実施形態>(1-1.ゲーム媒体提供システム1) 本発明の一実施形態に係る情報処理装置は、図1に示すようなゲーム媒体提供システム1の一部を構成するサーバ10である。ゲーム媒体提供システム1は、サーバ10、ユーザ端末20(ユーザ端末20a及びユーザ端末20b)を備える。このようなゲーム媒体提供システム1は、1又は複数のユーザがそれぞれゲーム媒体等を操作しながらプレイ可能なゲームの一部を構成し、ゲームで使用するゲーム媒体の提供を行うことができる。
(【0011】以降は省略されています)
この特許をJ-PlatPat(特許庁公式サイト)で参照する
関連特許
株式会社MIXI
情報処理装置、情報処理方法、プログラム及びシステム
1か月前
株式会社MIXI
情報処理装置、情報処理方法、プログラム及びゲームシステム
7日前
株式会社MIXI
情報処理装置、情報処理方法、プログラム及びゲームシステム
2か月前
株式会社MIXI
情報処理装置、情報処理方法、プログラム及び情報処理システム
20日前
株式会社MIXI
情報処理装置、情報処理方法、プログラム及び情報処理システム
1か月前
株式会社MIXI
情報処理装置及びプログラム
1か月前
株式会社MIXI
情報処理装置およびプログラム
1か月前
株式会社MIXI
情報処理装置、及びプログラム
1か月前
株式会社MIXI
情報処理装置、情報処理方法及びプログラム
1か月前
株式会社MIXI
情報処理装置、情報処理方法及びプログラム
1か月前
株式会社MIXI
情報処理装置、情報処理方法及びプログラム
1か月前
株式会社MIXI
情報処理装置、プログラム及び情報処理方法
1か月前
株式会社MIXI
情報処理装置、プログラム及び情報処理方法
1か月前
株式会社MIXI
情報処理装置、情報処理方法及びプログラム
2か月前
株式会社MIXI
情報処理装置、情報処理方法及びプログラム
12日前
株式会社MIXI
情報処理装置、情報処理方法及びプログラム
5日前
株式会社MIXI
情報処理装置、情報処理方法及びプログラム
5日前
株式会社MIXI
情報処理装置、情報処理方法及びプログラム
26日前
株式会社MIXI
情報処理装置、プログラム、及び情報処理方法
1日前
株式会社MIXI
情報処理装置、プログラム、及び情報処理方法
1か月前
株式会社MIXI
情報処理装置、プログラムおよび情報処理方法
1か月前
株式会社MIXI
情報処理装置、制御プログラム、及び制御方法
1か月前
株式会社MIXI
情報処理装置、情報処理方法、及びプログラム
1か月前
株式会社MIXI
情報処理装置、情報処理方法およびプログラム
26日前
株式会社MIXI
情報処理装置、情報処理方法およびプログラム
26日前
株式会社MIXI
情報処理システム、サーバ装置、およびプログラム
1か月前
株式会社MIXI
表示制御プログラム、情報処理装置及び情報処理方法
1か月前
株式会社MIXI
情報処理装置、動画配信方法及び動画配信プログラム
1か月前
株式会社MIXI
情報処理装置、ゲームプログラム及びゲーム処理方法
26日前
株式会社MIXI
情報処理システム,制御プログラム及び情報処理装置
20日前
株式会社MIXI
情報処理装置、情報処理プログラム及び情報処理方法
2か月前
株式会社MIXI
情報処理装置、情報処理方法、プログラム及びシステム
1か月前
株式会社MIXI
情報処理装置、情報処理方法および情報処理プログラム
1か月前
株式会社MIXI
情報処理装置、情報処理システム及び情報処理プログラム
5日前
株式会社MIXI
サーバ装置、端末装置、情報処理システム、及びプログラム
1か月前
株式会社MIXI
頭部装着ディスプレイ装置、認証方法、及び認証プログラム
12日前
続きを見る
他の特許を見る