TOP
|
特許
|
意匠
|
商標
特許ウォッチ
Twitter
他の特許を見る
公開番号
2025156601
公報種別
公開特許公報(A)
公開日
2025-10-14
出願番号
2025134419,2024156816
出願日
2025-08-12,2020-07-10
発明の名称
情報処理装置、情報処理方法及びプログラム
出願人
株式会社MIXI
代理人
主分類
A63F
13/69 20140101AFI20251002BHJP(スポーツ;ゲーム;娯楽)
要約
【課題】多数のユーザが参加する共通イベントにおいて、1つのゲーム空間内で共通のミッションを実行するのが困難な場合でも、ユーザが協働して共通のミッションを遂行しているようなゲームを提供する。
【解決手段】複数のユーザが参加して共通のミッションを達成する第1イベントの実施を管理する第1イベント実施部と、第1イベントとは独立して実施されるイベントであって、第1イベントに参加するユーザが1人以上で実施する第2イベントの実施を管理する第2イベント実施部と、第2イベントの実施状況に基づいて第1イベントのミッションの達成度を判断する達成度判断部とを備える。
【選択図】図5
特許請求の範囲
【請求項1】
複数のユーザが参加して共通のミッションを達成する第1イベントの実施を管理する第1イベント実施部と、
前記第1イベントとは独立して実施されるイベントであって、前記第1イベントに参加するユーザが1人以上で実施する第2イベントの実施を管理する第2イベント実施部と、
前記第2イベントの実施状況に基づいて前記第1イベントの前記ミッションの達成度を判断する達成度判断部と、を備えた情報処理装置。
発明の詳細な説明
【技術分野】
【0001】
本発明は、情報処理装置、情報処理方法、およびプログラムに関する。
続きを表示(約 1,600 文字)
【背景技術】
【0002】
ゲーム空間において、複数のプレイヤが協働して共通のイベントに参加し、ミッションをクリアするゲームが知られている。例えば特許文献1には、複数のプレイヤが共通の敵キャラクタと対戦するゲームを行い、敵キャラクタのヒットポイントを0にして倒すと、参加したプレイヤに特典が付与されることが記載されている。
【先行技術文献】
【特許文献】
【0003】
特許第6148022号公報
【発明の概要】
【発明が解決しようとする課題】
【0004】
特許文献1に記載されたゲームは、1つのゲーム空間で、複数ユーザが共通の敵との対戦というイベントに参加するという形態である。しかし、非常に多くのユーザがイベントに参加する場合には、1つのゲーム空間内で全ユーザがミッションを実行するのは困難である。
【0005】
そこで、本発明は、多数のユーザが参加する共通イベントにおいて、1つのゲーム空間内で共通のミッションを実行するのが困難な場合でも、ユーザが協働して共通のミッションを遂行しているようなゲームを提供することを目的とする。
【課題を解決するための手段】
【0006】
本発明に係る情報処理装置は、複数のユーザが参加して共通のミッションを達成する第1イベントの実施を管理する第1イベント実施部と、前記第1イベントとは独立して実施されるイベントであって、前記第1イベントに参加するユーザが1人以上で実施する第2イベントの実施を管理する第2イベント実施部と、前記第2イベントの実施状況に基づいて前記第1イベントの前記ミッションの達成度を判断する達成度判断部と、を備えたものである。
【発明の効果】
【0007】
本発明によれば、多数のユーザが参加する共通イベントにおいて、1つのゲーム空間内で共通のミッションを実行するのが困難な場合でも、ユーザが協働して共通のミッションを遂行しているようなゲームを提供することができる。
【図面の簡単な説明】
【0008】
本発明の実施の形態による、ゲームシステム1の構成の一例を示す図。
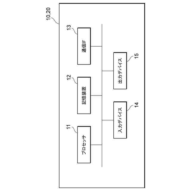
本発明の実施の形態による、ゲームサーバ及び端末のハードウェア構成の一例を示す図。
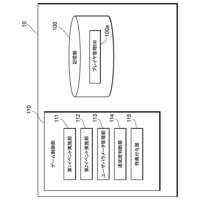
本発明の実施の形態による、ゲームサーバ10の機能ブロック構成例を示す図。
本発明の実施の形態による、端末20の機能ブロック構成例を示す図。
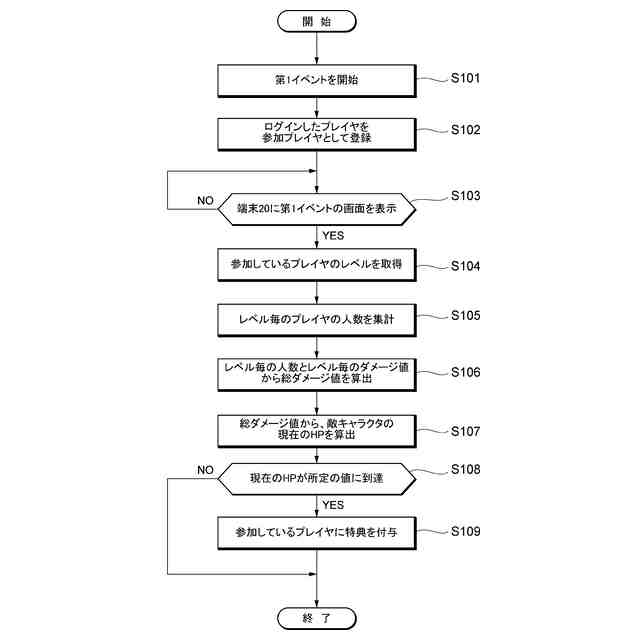
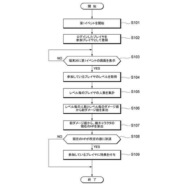
本発明の実施の形態による、ゲームサーバ10が行う処理手順の一例を示すフローチャート。
本発明の実施の形態による、第2イベントの進行状況を示す画面を例示する図。
本発明の実施の形態による、第1イベントの進行状況を示す画面を例示する図。
本発明の実施の形態による、特典付与を通知するメッセージ画面を例示する図。
【発明を実施するための形態】
【0009】
次に、本発明を実施するための形態について、図面を参照して詳細に説明する。
<システム構成>
図1は、本実施形態に係るゲームシステム1のシステム構成の一例を示す図である。図1に示すゲームシステム1は、ゲームサーバ10(情報処理装置)と、複数の端末20とを備える。ゲームサーバ10及び端末20(ユーザ端末)は、インターネット、イントラネット、無線LAN又は移動通信等の通信ネットワークNを介して互いに通信可能に接続されている。
【0010】
ゲームサーバ10は、例えば、プレイヤ(ユーザ)に関する各種情報を管理したり、ゲームの一部の処理を実行したりする等、端末20がゲームを提供する上でその一部の機能を担う装置である。ゲームサーバ10は、1又は複数の情報処理装置から構成されていてもよいし、仮想的なサーバ(クラウドサーバ等)を用いて構成されていてもよい。
(【0011】以降は省略されています)
この特許をJ-PlatPat(特許庁公式サイト)で参照する
関連特許
株式会社MIXI
情報処理装置、情報処理方法、プログラム及びシステム
1か月前
株式会社MIXI
情報処理装置、情報処理方法、プログラム及びゲームシステム
2か月前
株式会社MIXI
情報処理装置、情報処理方法、プログラム及びゲームシステム
8日前
株式会社MIXI
情報処理装置、情報処理方法、プログラム及び情報処理システム
21日前
株式会社MIXI
情報処理装置、情報処理方法、プログラム及び情報処理システム
1か月前
株式会社MIXI
情報処理装置及びプログラム
1か月前
株式会社MIXI
情報処理装置およびプログラム
1か月前
株式会社MIXI
情報処理装置、及びプログラム
1か月前
株式会社MIXI
情報処理装置、情報処理方法及びプログラム
今日
株式会社MIXI
情報処理装置、情報処理方法及びプログラム
1か月前
株式会社MIXI
情報処理装置、プログラム及び情報処理方法
1か月前
株式会社MIXI
情報処理装置、情報処理方法及びプログラム
1か月前
株式会社MIXI
情報処理装置、プログラム及び情報処理方法
1か月前
株式会社MIXI
情報処理装置、情報処理方法及びプログラム
2か月前
株式会社MIXI
情報処理装置、情報処理方法及びプログラム
1か月前
株式会社MIXI
情報処理装置、情報処理方法及びプログラム
6日前
株式会社MIXI
情報処理装置、情報処理方法及びプログラム
6日前
株式会社MIXI
情報処理装置、情報処理方法及びプログラム
13日前
株式会社MIXI
情報処理装置、情報処理方法及びプログラム
27日前
株式会社MIXI
情報処理装置、情報処理方法およびプログラム
27日前
株式会社MIXI
情報処理装置、プログラム、及び情報処理方法
1か月前
株式会社MIXI
情報処理装置、情報処理方法、及びプログラム
1か月前
株式会社MIXI
情報処理装置、制御プログラム、及び制御方法
1か月前
株式会社MIXI
情報処理装置、情報処理方法およびプログラム
27日前
株式会社MIXI
情報処理装置、プログラムおよび情報処理方法
1か月前
株式会社MIXI
情報処理装置、プログラム、及び情報処理方法
2日前
株式会社MIXI
情報処理システム、サーバ装置、およびプログラム
1か月前
株式会社MIXI
情報処理装置、ゲームプログラム及びゲーム処理方法
27日前
株式会社MIXI
表示制御プログラム、情報処理装置及び情報処理方法
1か月前
株式会社MIXI
情報処理装置、動画配信方法及び動画配信プログラム
1か月前
株式会社MIXI
情報処理システム,制御プログラム及び情報処理装置
21日前
株式会社MIXI
情報処理装置、情報処理方法、プログラム及びシステム
1か月前
株式会社MIXI
情報処理装置、情報処理方法および情報処理プログラム
1か月前
株式会社MIXI
情報処理装置、情報処理システム及び情報処理プログラム
6日前
株式会社MIXI
頭部装着ディスプレイ装置、認証方法、及び認証プログラム
13日前
株式会社MIXI
サーバ装置、端末装置、情報処理システム、及びプログラム
1か月前
続きを見る
他の特許を見る