TOP
|
特許
|
意匠
|
商標
特許ウォッチ
Twitter
他の特許を見る
公開番号
2025159970
公報種別
公開特許公報(A)
公開日
2025-10-22
出願番号
2024062884
出願日
2024-04-09
発明の名称
情報処理装置、情報処理方法、プログラム及びシステム
出願人
株式会社MIXI
代理人
主分類
A63F
13/69 20140101AFI20251015BHJP(スポーツ;ゲーム;娯楽)
要約
【課題】ユーザが所望のゲーム媒体を獲得する機会を向上させる。
【解決手段】情報処理装置が、第1ユーザの要求に基づいて、複数のゲーム媒体を含む第1集合から1以上のゲーム媒体を抽選し、抽選された1以上のゲーム媒体を前記第1ユーザの端末の第1画面に表示し、前記第1画面に表示されたゲーム媒体のうちから指定した第1ゲーム媒体を他のユーザと交換可能に制御し、前記第1画面に表示されたゲーム媒体のうち前記第1ゲーム媒体以外のゲーム媒体を前記第1ユーザに付与する。
【選択図】図4
特許請求の範囲
【請求項1】
プロセッサを備え、前記プロセッサは、
第1ユーザの要求に基づいて、複数のゲーム媒体を含む第1集合から1以上のゲーム媒体を抽選し、
抽選された1以上のゲーム媒体を前記第1ユーザの端末の第1画面に表示し、
前記第1画面に表示されたゲーム媒体のうちから指定した第1ゲーム媒体を他のユーザと交換可能に制御し、
前記第1画面に表示されたゲーム媒体のうち前記第1ゲーム媒体以外のゲーム媒体を前記第1ユーザに付与する、
情報処理装置。
続きを表示(約 1,200 文字)
【請求項2】
前記プロセッサは、前記第1ユーザの操作に応じて、抽選された1以上のゲーム媒体と交換可能なゲーム媒体の一覧である交換可能リストを表示する、
請求項1に記載の情報処理装置。
【請求項3】
前記プロセッサは、
第2ユーザの要求に基づいて、前記第1集合から1以上のゲーム媒体を抽選し、
抽選された1以上のゲーム媒体を前記第2ユーザの端末の第2画面に表示し、
前記第2画面に表示されたゲーム媒体のうちから指定した第2ゲーム媒体を他のユーザと交換可能に制御し、
前記第1ユーザと前記第2ユーザの少なくとも一方の操作に応じて、前記第1ゲーム媒体と前記第2ゲーム媒体との交換を実行する、
請求項2に記載の情報処理装置。
【請求項4】
前記プロセッサは、前記第1ユーザから、前記第2ゲーム媒体と前記第1ゲーム媒体とを指定した交換要求を受け付け、前記第2ユーザが承諾した場合に、前記第1ゲーム媒体と前記第2ゲーム媒体との交換を実行する、
請求項3に記載の情報処理装置。
【請求項5】
前記プロセッサは、前記第2ユーザが承諾しなかった場合に、前記交換可能リストに、前記第1ゲーム媒体を追加する、
請求項4に記載の情報処理装置。
【請求項6】
前記プロセッサは、前記第1ユーザが前記第1ゲーム媒体と交換を希望するゲーム媒体を指定しなかった場合には、前記交換可能リストに前記第1ゲーム媒体を追加する、
請求項3に記載の情報処理装置。
【請求項7】
前記プロセッサは、前記第2ユーザが前記第2ゲーム媒体と交換可能なゲーム媒体の候補を指定しており、前記ゲーム媒体の候補の中に前記第1ゲーム媒体が含まれている場合には、前記第2ユーザの承諾無しに前記第1ゲーム媒体と前記第2ゲーム媒体との交換を実行する、
請求項3に記載の情報処理装置。
【請求項8】
前記プロセッサは、前記第1ゲーム媒体が前記交換可能リストに追加されてから他のゲーム媒体と交換が不成立のまま第1期間が経過した場合に、前記第1ゲーム媒体を前記第1ユーザに付与する、
請求項3に記載の情報処理装置。
【請求項9】
前記プロセッサは、前記第1ユーザから前記第1ゲーム媒体に設定する第1期間の指定を受け付ける、
請求項8に記載の情報処理装置。
【請求項10】
前記プロセッサは、前記第1ゲーム媒体と、他のユーザが前記第1集合から抽選したゲーム媒体とを交換可能に制御し、前記第1ゲーム媒体と、他のユーザが前記第1集合以外の集合から抽選したゲーム媒体とを交換不可に制御する、
請求項1に記載の情報処理装置。
(【請求項11】以降は省略されています)
発明の詳細な説明
【技術分野】
【0001】
本発明は、情報処理装置、情報処理方法、プログラム及びシステムに関する。
続きを表示(約 1,500 文字)
【背景技術】
【0002】
従来、ゲームにおいてユーザは抽選により獲得可能なゲーム媒体を獲得することができる。これらのゲーム媒体には、キャラクタやアイテム等が含まれ、一部は希少度に応じて低い抽選確率が設定されている。
【先行技術文献】
【特許文献】
【0003】
特開2019-213961号公報
【発明の概要】
【発明が解決しようとする課題】
【0004】
ユーザが抽選により獲得したゲーム媒体が希望するものでない場合、従来の技術ではユーザは繰り返し抽選を行う以外に所望のゲーム媒体を獲得する方法がなかった。
そこで本発明は、ユーザが所望のゲーム媒体を獲得する機会を向上させることを目的とする。
【課題を解決するための手段】
【0005】
本発明の一実施形態に係る情報処理装置は、プロセッサを備え、前記プロセッサは、第1ユーザの要求に基づいて、複数のゲーム媒体を含む第1集合から1以上のゲーム媒体を抽選し、抽選された1以上のゲーム媒体を前記第1ユーザの端末の第1画面に表示し、前記第1画面に表示されたゲーム媒体のうちから指定した第1ゲーム媒体を他のユーザと交換可能に制御し、前記第1画面に表示されたゲーム媒体のうち前記第1ゲーム媒体以外のゲーム媒体を前記第1ユーザに付与する。
【発明の効果】
【0006】
本発明の一実施形態によれば、繰り返し抽選を行う以外にユーザが所望のゲーム媒体を獲得する機会を提供できる。これにより、ユーザが所望のゲーム媒体を獲得する機会を向上させることができる。
【図面の簡単な説明】
【0007】
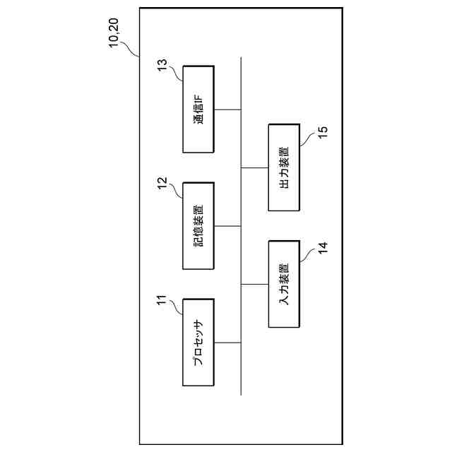
システム構成例を示す図である。
ハードウェア構成例を示す図である。
画面の一例を示す図である。
画面の一例を示す図である。
画面の一例を示す図である。
画面の一例を示す図である。
【発明を実施するための形態】
【0008】
<システム構成>
図1は、本実施形態に係るゲームシステム1のシステム構成の一例を示す図である。図1に示すゲームシステム1は、ゲームサーバ10(サーバの一例)と、1以上の端末20とを備える。ゲームサーバ10及び端末20は、インターネット、イントラネット、無線LAN又は移動通信等の通信ネットワークNを介して互いに通信可能に接続されている。
【0009】
サーバ10は、例えば、ユーザ(プレイヤと称してもよい)に関する各種情報を管理したり、ゲームの一部の処理を実行したりする等、端末20がゲームを提供する上でその一部の機能を担う情報処理装置である。サーバ10は、1又は複数の情報処理装置から構成されていてもよいし、仮想的なサーバ(クラウドサーバ等)を用いて構成されていてもよい。サーバ10はコンピュータと呼ばれてもよい。
【0010】
端末20は、ゲームをユーザに提供する情報処理装置であり、ユーザは、端末20を操作することで本実施形態に係るゲームを実行することができる。端末20は、例えば、携帯電話(スマートフォンを含む)、タブレット、パーソナルコンピュータ、アーケードゲーム装置、又は、コンシューマゲーム装置等のコンピュータである。端末20は、GPS(Global Positioning System)等を用いて検出した自身の位置をサーバ10に通知するようにしてもよい。端末20はコンピュータと呼ばれてもよい。
(【0011】以降は省略されています)
この特許をJ-PlatPat(特許庁公式サイト)で参照する
関連特許
個人
小型卓球台
1か月前
個人
パズル
1か月前
個人
打撃練習用具
2か月前
株式会社三共
遊技機
2か月前
株式会社三共
遊技機
2か月前
株式会社三共
遊技機
2か月前
株式会社三共
遊技機
2か月前
株式会社三共
遊技機
2か月前
株式会社三共
遊技機
2か月前
株式会社三共
遊技機
2か月前
株式会社三共
遊技機
2か月前
株式会社三共
遊技機
2か月前
株式会社三共
遊技機
2か月前
株式会社三共
遊技機
2か月前
株式会社三共
遊技機
2か月前
株式会社三共
遊技機
2か月前
株式会社三共
遊技機
2か月前
株式会社三共
遊技機
2か月前
株式会社三共
遊技機
2か月前
株式会社三共
遊技機
1か月前
株式会社三共
遊技機
2か月前
株式会社三共
遊技機
1か月前
株式会社三共
遊技機
1か月前
株式会社三共
遊技機
1か月前
株式会社三共
遊技機
1か月前
株式会社三共
遊技機
1か月前
株式会社三共
遊技機
1か月前
株式会社三共
遊技機
1か月前
株式会社三共
遊技機
1か月前
株式会社三共
遊技機
2か月前
株式会社三共
遊技機
1か月前
株式会社三共
遊技機
1か月前
株式会社三共
遊技機
1か月前
株式会社三共
遊技機
1か月前
株式会社三共
遊技機
1か月前
株式会社三共
遊技機
1か月前
続きを見る
他の特許を見る