TOP
|
特許
|
意匠
|
商標
特許ウォッチ
Twitter
他の特許を見る
10個以上の画像は省略されています。
公開番号
2025169995
公報種別
公開特許公報(A)
公開日
2025-11-14
出願番号
2025140697,2024075328
出願日
2025-08-26,2021-09-30
発明の名称
情報処理装置、情報処理方法およびプログラム
出願人
株式会社MIXI
代理人
主分類
A63F
13/69 20140101AFI20251107BHJP(スポーツ;ゲーム;娯楽)
要約
【課題】ゲームのプレイ結果と偶然性の双方に基づいて特典を付与する。
【解決手段】ゲームシステムにおいては、ミッションがクリアされたとき、カードゲームにおいてミッションに対応するカードが選択可能に設定する。プレイヤが選択可能なカードを2枚選んだときに、カードに対応づけられるシンボルが2つ揃うと、特典付与部はプレイヤにキャラクタの進化機会というカード特典を与える。
【選択図】図10
特許請求の範囲
【請求項1】
第1のゲームのプレイ結果に基づいて、第2のゲームにおいて少なくとも第1の状態および第2の状態を含む複数の状態からゲーム媒体の状態を設定する状態設定部と、
第2の状態のゲーム媒体からプレイヤにより2以上の所定数のゲーム媒体が指定された場合、前記指定されたゲーム媒体の組み合わせが所定の条件を満たすとき、前記プレイヤに特典を付与する特典付与部と、を備える情報処理装置。
続きを表示(約 1,200 文字)
【請求項2】
ゲーム媒体を表示させる表示制御部、を更に備え、
ゲーム媒体には、シンボルとなる画像が対応づけられており、
前記表示制御部は、プレイヤにより第2の状態のゲーム媒体が指定されたとき、前記指定されたゲーム媒体のシンボルを表示させ、
前記特典付与部は、前記指定された2以上のゲーム媒体それぞれのシンボルがあらかじめ定められた対応関係にあるとき、前記所定の条件が成立したと判定する、請求項1に記載の情報処理装置。
【請求項3】
前記状態設定部は、プレイヤにより前記第1のゲームにおいて設定されるミッションが達成されたとき、前記達成されたミッションに対応づけられるゲーム媒体を第1の状態から第2の状態に変更する、請求項1または2に記載の情報処理装置。
【請求項4】
第1の状態のゲーム媒体は指定不可であって、
前記状態設定部は、前記第1のゲームのプレイ結果に基づいてゲーム媒体を第1の状態から第2の状態に変更するときに前記ゲーム媒体を指定不可から指定可能に設定変更し、第2の状態にあるゲーム媒体から前記所定数のゲーム媒体が指定されたときには、未指定の第2の状態のゲーム媒体を第1の状態に変更する、請求項1から3のいずれかに記載の情報処理装置。
【請求項5】
前記状態設定部は、所定の期間において第1の状態から第2の状態に変更されたゲーム媒体を、前記期間が終了したあとは第1の状態に変更する、請求項1から4のいずれかに記載の情報処理装置。
【請求項6】
前記状態設定部は、第2の状態のゲーム媒体から前記所定数のゲーム媒体が指定された場合において、前記所定の条件が成立したときには、前記所定の条件を成立させたゲーム媒体を第3の状態に変更する、請求項4または5に記載の情報処理装置。
【請求項7】
前記状態設定部は、第2の状態のゲーム媒体から前記所定数のゲーム媒体が指定された場合において、前記所定の条件が成立しないときには、指定されたゲーム媒体を第1の状態に変更する、請求項4から6のいずれかに記載の情報処理装置。
【請求項8】
前記状態設定部は、プレイヤに指定されたあとに第1の状態に変更されたゲーム媒体について、指定時に表示されたシンボルとなる画像に対応する所定情報を表示させる、請求項7に記載の情報処理装置。
【請求項9】
第2の状態のゲーム媒体の数が前記所定数以上となったとき、プレイヤに通知する通知部、を更に備える、請求項1から8のいずれかに記載の情報処理装置。
【請求項10】
プレイヤに指定されたあとに第1の状態に変更されたゲーム媒体のうち、表示される前記所定情報に基づく所定の第2の条件を満たすゲーム媒体が第2の状態に変更された場合、プレイヤに通知する通知部、を更に備える、請求項8に記載の情報処理装置。
(【請求項11】以降は省略されています)
発明の詳細な説明
【技術分野】
【0001】
本発明は、情報処理装置、情報処理方法およびプログラムに関する。
続きを表示(約 1,500 文字)
【背景技術】
【0002】
コンピュータゲーム(以下、単に「ゲーム」とよぶ)においては、プレイヤにさまざまな「ゲーム媒体」を提供することが多い。ここでいうゲーム媒体は、キャラクタ、アイテム、カード、経験値などプレイヤがゲームを有利に進めるためのデジタルコンテンツの総称である。
【0003】
ゲーム媒体のうち、特に、キャラクタなどのオブジェクトの収集・強化・育成は、ゲームの楽しみのひとつである。また、キャラクタは「進化」とよばれるプロセスを経て成長する。ゲーム媒体の中にはキャラクタに進化機会を与えるものもある(特許文献1参照)。
【先行技術文献】
【特許文献】
【0004】
特開2015-217214号公報
【発明の概要】
【発明が解決しようとする課題】
【0005】
本発明者は、ゲーム媒体などの特典をプレイヤに付与するとき、プレイヤに判断の機会を与えるとともに、ゲームのプレイ結果に応じて判断の自由度を変化させることで、ゲームの興趣をいっそう深められるのではないかと考えた。
【0006】
本発明は、本発明者による上記着想に基づいて完成された発明であり、その主たる目的は、ゲームのプレイ結果と偶然性の双方に基づく特典付与方法により、プレイヤの特典獲得意欲を向上させる技術、を提供することにある。
【課題を解決するための手段】
【0007】
本発明のある態様における情報処理装置は、第1のゲームのプレイ結果に基づいて、第2のゲームにおいて少なくとも第1の状態および第2の状態を含む複数の状態の中からゲーム媒体の状態を設定する状態設定部と、第2の状態のゲーム媒体からプレイヤにより2以上の所定数のゲーム媒体が指定された場合、指定されたゲーム媒体の組み合わせが所定の条件を満たすとき、プレイヤに特典を付与する特典付与部と、を備える。
【発明の効果】
【0008】
本発明によれば、コンピュータゲームにおいて、プレイヤの特典取得意欲を高めやすくなる。
【図面の簡単な説明】
【0009】
ゲームシステムのハードウェア構成図である。
ゲームサーバのハードウェア構成図である。
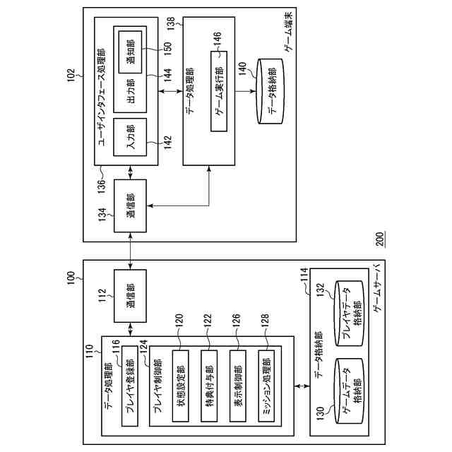
ゲームシステムの機能ブロック図である。
ゲームXの構成を示す概念図である。
本実施形態における進化を説明するための模式図である。
ミッション、カードおよびシンボルの関係を示す概念図である。
ミッションゲームの処理過程を示すフローチャートである。
第1カード画面の画面図である。
第2カード画面の画面図である。
第3カード画面の画面図である。
第4カード画面の画面図である。
第5カード画面の画面図である。
第6カード画面の画面図である。
カードゲームの処理過程を示すフローチャートである。
リセット処理の処理過程を示すフローチャートである。
【発明を実施するための形態】
【0010】
[概要]
本実施形態において想定するコンピュータゲーム(以下、「ゲームX」とよぶ)の概要を簡単に説明したあと、ゲームシステムの具体的な構成および制御方法について説明する。ゲームXは、スマートフォンなどで実行され、多人数が参加可能なF2P(Free-to-Play)型のゲームである。
(【0011】以降は省略されています)
この特許をJ-PlatPat(特許庁公式サイト)で参照する
関連特許
株式会社MIXI
情報処理装置、情報処理方法、プログラム及びシステム
26日前
株式会社MIXI
情報処理装置、情報処理方法、プログラム及びゲームシステム
1か月前
株式会社MIXI
情報処理装置、情報処理方法、プログラム及び情報処理システム
25日前
株式会社MIXI
情報処理装置及びプログラム
1か月前
株式会社MIXI
情報処理装置およびプログラム
1か月前
株式会社MIXI
情報処理装置、及びプログラム
24日前
株式会社MIXI
情報処理装置、プログラム及び情報処理方法
24日前
株式会社MIXI
情報処理装置、プログラム及び情報処理方法
1か月前
株式会社MIXI
情報処理装置、情報処理方法及びプログラム
1か月前
株式会社MIXI
情報処理装置、情報処理方法及びプログラム
3日前
株式会社MIXI
情報処理装置、情報処理方法及びプログラム
1か月前
株式会社MIXI
情報処理装置、情報処理方法及びプログラム
10日前
株式会社MIXI
情報処理装置、情報処理方法及びプログラム
12日前
株式会社MIXI
情報処理装置、制御プログラム、及び制御方法
24日前
株式会社MIXI
情報処理装置、情報処理方法およびプログラム
3日前
株式会社MIXI
情報処理装置、プログラム、及び情報処理方法
1か月前
株式会社MIXI
情報処理装置、プログラムおよび情報処理方法
24日前
株式会社MIXI
情報処理装置、情報処理方法、及びプログラム
24日前
株式会社MIXI
情報処理装置、情報処理方法およびプログラム
3日前
株式会社MIXI
情報処理システム、サーバ装置、およびプログラム
1か月前
株式会社MIXI
情報処理装置、動画配信方法及び動画配信プログラム
12日前
株式会社MIXI
表示制御プログラム、情報処理装置及び情報処理方法
1か月前
株式会社MIXI
情報処理装置、ゲームプログラム及びゲーム処理方法
3日前
株式会社MIXI
情報処理装置、情報処理方法および情報処理プログラム
1か月前
株式会社MIXI
情報処理装置、情報処理方法、プログラム及びシステム
26日前
株式会社MIXI
サーバ装置、端末装置、情報処理システム、及びプログラム
18日前
株式会社MIXI
情報処理装置、コンテンツ表示方法及びコンテンツ表示プログラム
1か月前
個人
玩具
2か月前
個人
玩具
4か月前
個人
自走玩具
1か月前
個人
運動補助具
3か月前
個人
小型卓球台
20日前
個人
ゲーム玩具
6か月前
個人
打撃練習用具
1か月前
個人
パズル
21日前
株式会社三共
遊技機
1か月前
続きを見る
他の特許を見る