TOP
|
特許
|
意匠
|
商標
特許ウォッチ
Twitter
他の特許を見る
10個以上の画像は省略されています。
公開番号
2025175146
公報種別
公開特許公報(A)
公開日
2025-11-28
出願番号
2025158117,2024186087
出願日
2025-09-24,2017-04-21
発明の名称
頭部装着ディスプレイ装置、認証方法、及び認証プログラム
出願人
株式会社MIXI
代理人
主分類
G06F
21/31 20130101AFI20251120BHJP(計算;計数)
要約
【課題】頭部装着ディスプレイを用いたよりセキュリィティ性の高い認証を行う、ことを目的とする。
【解決手段】HMDは、ユーザの顔の向きを検知する顔向き検知部、及びユーザの視線を検知する視線検知部を備え、顔向き検知部による検知結果に応じて、ディスプレイの画像表示領域に表示するオブジェクトを変化させる。そして、HMDは、認証用オブジェクトがユーザの動作に応じて画像表示領域に表示させ、ユーザが視線を認証用オブジェクトに合わせたことを視線検知部が検知した場合にユーザ認証を行う。
【選択図】図6
特許請求の範囲
【請求項1】
ユーザが視認可能なように、前記ユーザの頭部にディスプレイが装着される頭部装着ディスプレイ装置であって、
前記ユーザの顔の向きを検知する顔向き検知手段と、
前記ユーザの視線を検知する視線検知手段と、
前記顔向き検知手段による検知結果に応じて、前記ディスプレイの画像表示領域に表示するオブジェクトを変化させる画像表示制御手段と、
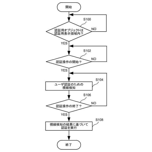
認証に用いる認証用オブジェクトが前記ユーザの動作に応じて前記画像表示領域に表示され、前記ユーザが視線を前記認証用オブジェクトに合わせたことを前記視線検知手段が検知した場合に認証を行う認証手段と、
を備える頭部装着ディスプレイ装置。
続きを表示(約 1,000 文字)
【請求項2】
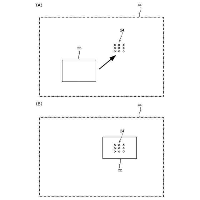
前記認証用オブジェクトは、認証開始時には前記画像表示領域に表示されず、前記ユーザの動作によって前記画像表示領域に表示される請求項1記載の頭部装着ディスプレイ装置。
【請求項3】
前記画像表示領域には、認証用表示領域が設定され、
前記認証手段は、前記認証用オブジェクトが前記ユーザの動作に応じて前記認証用表示領域に表示され、前記ユーザが視線を前記認証用オブジェクトに合わせたことを前記視線検知手段が検知した場合に認証を行う請求項1又は請求項2記載の頭部装着ディスプレイ装置。
【請求項4】
前記ユーザの動作は、前記ユーザが顔の向きを変えること、又は前記認証用オブジェクトをユーザが移動させることである請求項1から請求項3の何れか1項記載の頭部装着ディスプレイ装置。
【請求項5】
前記認証手段は、前記視線検知手段による検知結果及び前記顔向き検知手段による検知結果に基づいて認証を行う請求項1から請求項4の何れか1項記載の頭部装着ディスプレイ装置。
【請求項6】
予め登録された識別体が前記ディスプレイに表示された場合に、前記認証用オブジェクトが前記ディスプレイに表示される請求項1から請求項5の何れか1項記載の頭部装着ディスプレイ装置。
【請求項7】
前面にカメラを備え、
前記カメラが予め登録された実在する識別体を撮像した場合に、前記認証用オブジェクトが前記ディスプレイに表示される請求項1から請求項6の何れか1項記載の頭部装着ディスプレイ装置。
【請求項8】
前記認証用オブジェクトは、予め登録された識別体である請求項1から請求項5の何れか1項記載の頭部装着ディスプレイ装置。
【請求項9】
前記認証手段は、前記認証用オブジェクトに所定時間以上、視線を向けたことが検知された場合にユーザが認証操作を開始し、前記認証用オブジェクトから所定時間以上、視線を逸らしたことが検知された場合にユーザが認証操作を終了したとする請求項1から請求項8の何れか1項記載の頭部装着ディスプレイ装置。
【請求項10】
前記認証手段は、所定時間内で所定回数以上のユーザの瞬きが検知された場合に、認証操作の開始又は終了とする請求項1から請求項8の何れか1項記載の頭部装着ディスプレイ装置。
(【請求項11】以降は省略されています)
発明の詳細な説明
【技術分野】
【0001】
本発明は、頭部装着ディスプレイ装置、認証方法、及び認証プログラムに関するものである。
続きを表示(約 1,400 文字)
【背景技術】
【0002】
情報処理装置を起動する際やコンピュータネットワーク等にアクセスする際に、ユーザ認証が行われる場合がある。このユーザ認証が成功した場合にのみ、情報処理装置の使用やコンピュータネットワークへのアクセスが可能となる。
【0003】
ユーザ認証としては、例えば、キーボードを介したパスワードの入力が求められる。しかしながら、キーボードを用いることによるパスワードの漏えい等を防止するために、よりセキュリティ性の高いユーザ認証も開発されている。
【0004】
セキュリティ性の高いユーザ認証として、特許文献1には、画面上に表示される画像を注視するユーザの視線を検知し、前記視線に基づいてユーザが注視した画像を検知し、検知した画像を認証情報としてユーザ認証を行うディスプレイシステムが開示されている。
【先行技術文献】
【特許文献】
【0005】
特開2005-149326号公報
【発明の概要】
【発明が解決しようとする課題】
【0006】
近年では、ユーザの頭部にディスプレイを装着する頭部装着ディスプレイ装置(Head Mount Display:HMD)が普及し始めている。頭部装着ディスプレイ装置では、特許文献1に記載のようなユーザの視線を検知したユーザ認証が用いられることが想定されるものの、よりセキュリィティ性の高い認証が求められる。
【0007】
本発明は、このような事情に鑑みてなされたものであって、よりセキュリィティ性の高い認証を行える、頭部装着ディスプレイ装置、認証方法、及び認証プログラムを提供することを目的とする。
【課題を解決するための手段】
【0008】
上記課題を解決するために、本発明の頭部装着ディスプレイ装置、認証方法、及び認証プログラムは以下の手段を採用する。
【0009】
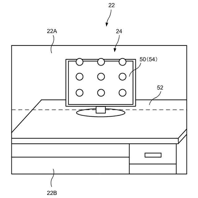
上記課題を解決するため、本発明の一態様である「頭部装着ディスプレイ装置」は、ユーザが視認可能なように、前記ユーザの頭部にディスプレイが装着される頭部装着ディスプレイ装置であって、前記ユーザの顔の向きを検知する顔向き検知手段と、前記ユーザの視線を検知する視線検知手段と、前記顔向き検知手段による検知結果に応じて、前記ディスプレイの画像表示領域に表示するオブジェクトを変化させる画像表示制御手段と、認証に用いる認証用オブジェクトが前記ユーザの動作に応じて前記画像表示領域に表示され、前記ユーザが視線を前記認証用オブジェクトに合わせたことを前記視線検知手段が検知した場合に認証を行う認証手段と、を備える。
【0010】
上記課題を解決するため、本発明の一態様である「認証方法」は、ユーザが視認可能なように、前記ユーザの頭部にディスプレイが装着され、前記ユーザの顔の向きを検知する顔向き検知手段、及び前記ユーザの視線を検知する視線検知手段を備える頭部装着ディスプレイ装置の認証方法であって、前記顔向き検知手段による検知結果に応じて、前記ディスプレイの画像表示領域に表示するオブジェクトを変化させる第1工程と、認証に用いる認証用オブジェクトが前記ユーザの動作に応じて前記画像表示領域に表示され、前記ユーザが視線を前記認証用オブジェクトに合わせたことを前記視線検知手段が検知した場合に認証を行う第2工程と、を有する。
(【0011】以降は省略されています)
この特許をJ-PlatPat(特許庁公式サイト)で参照する
関連特許
株式会社MIXI
情報処理装置、情報処理方法、プログラム及びシステム
1か月前
株式会社MIXI
情報処理装置、情報処理方法、プログラム及びゲームシステム
1か月前
株式会社MIXI
情報処理装置、情報処理方法、プログラム及び情報処理システム
9日前
株式会社MIXI
情報処理装置、情報処理方法、プログラム及び情報処理システム
1か月前
株式会社MIXI
情報処理装置、情報処理システム、情報処理方法、及びプログラム
1か月前
株式会社MIXI
情報処理装置及びプログラム
1か月前
株式会社MIXI
情報処理装置、及びプログラム
1か月前
株式会社MIXI
情報処理装置およびプログラム
1か月前
株式会社MIXI
情報処理装置、情報処理方法及びプログラム
1日前
株式会社MIXI
情報処理装置、情報処理方法及びプログラム
2か月前
株式会社MIXI
情報処理装置、情報処理方法及びプログラム
1か月前
株式会社MIXI
情報処理装置、情報処理方法及びプログラム
1か月前
株式会社MIXI
情報処理装置、情報処理方法及びプログラム
1か月前
株式会社MIXI
情報処理装置、プログラム及び情報処理方法
1か月前
株式会社MIXI
情報処理装置、情報処理方法及びプログラム
1か月前
株式会社MIXI
情報処理装置、情報処理方法及びプログラム
2か月前
株式会社MIXI
情報処理装置、情報処理方法及びプログラム
15日前
株式会社MIXI
情報処理装置、情報処理方法及びプログラム
22日前
株式会社MIXI
情報処理装置、プログラム及び情報処理方法
1か月前
株式会社MIXI
情報処理装置、情報処理方法及びプログラム
24日前
株式会社MIXI
情報処理装置、制御プログラム、及び制御方法
1か月前
株式会社MIXI
情報処理装置、プログラムおよび情報処理方法
1か月前
株式会社MIXI
情報処理装置、情報処理方法、及びプログラム
1か月前
株式会社MIXI
情報処理装置、情報処理方法およびプログラム
15日前
株式会社MIXI
情報処理装置、情報処理方法およびプログラム
15日前
株式会社MIXI
情報処理装置、プログラム、及び情報処理方法
1か月前
株式会社MIXI
情報処理システム、サーバ装置、およびプログラム
1か月前
株式会社MIXI
情報処理システム,制御プログラム及び情報処理装置
9日前
株式会社MIXI
情報処理装置、情報処理プログラム及び情報処理方法
1か月前
株式会社MIXI
情報処理装置、動画配信方法及び動画配信プログラム
24日前
株式会社MIXI
情報処理装置、ゲームプログラム及びゲーム処理方法
15日前
株式会社MIXI
表示制御プログラム、情報処理装置及び情報処理方法
1か月前
株式会社MIXI
情報処理装置、情報処理方法および情報処理プログラム
1か月前
株式会社MIXI
情報処理装置、情報処理方法、プログラム及びシステム
1か月前
株式会社MIXI
サーバ装置、端末装置、情報処理システム、及びプログラム
1か月前
株式会社MIXI
頭部装着ディスプレイ装置、認証方法、及び認証プログラム
1日前
続きを見る
他の特許を見る