TOP
|
特許
|
意匠
|
商標
特許ウォッチ
Twitter
他の特許を見る
公開番号
2025160095
公報種別
公開特許公報(A)
公開日
2025-10-22
出願番号
2024210649,2024062884
出願日
2024-12-03,2024-04-09
発明の名称
情報処理装置、情報処理方法、プログラム及びシステム
出願人
株式会社MIXI
代理人
主分類
A63F
13/69 20140101AFI20251015BHJP(スポーツ;ゲーム;娯楽)
要約
【課題】ユーザが所望のゲーム媒体を獲得する機会を向上させる。
【解決手段】情報処理装置が、第1ユーザの要求に基づいて、複数のゲーム媒体を含む第1集合から1以上のゲーム媒体を抽選し、抽選された1以上のゲーム媒体を前記第1ユーザの端末の第1画面に表示し、前記第1画面に表示されたゲーム媒体のうちから指定した第1ゲーム媒体を他のユーザと交換可能に制御し、前記第1画面に表示されたゲーム媒体のうち前記第1ゲーム媒体以外のゲーム媒体を前記第1ユーザに付与する。
【選択図】図4
特許請求の範囲
【請求項1】
プロセッサを備え、前記プロセッサは、
第1ユーザの要求に基づいて、複数のゲーム媒体を含む第1集合から1以上のゲーム媒体を抽選し、
抽選された1以上のゲーム媒体を前記第1ユーザの端末の第1画面に表示し、
前記第1画面に表示されたゲーム媒体のうちから指定した第1ゲーム媒体を他のユーザと交換可能に制御し、
前記第1画面に表示されたゲーム媒体のうち前記第1ゲーム媒体以外のゲーム媒体を前記第1ユーザに付与する、
情報処理装置。
発明の詳細な説明
【技術分野】
【0001】
本発明は、情報処理装置、情報処理方法、プログラム及びシステムに関する。
続きを表示(約 1,500 文字)
【背景技術】
【0002】
従来、ゲームにおいてユーザは抽選により獲得可能なゲーム媒体を獲得することができる。これらのゲーム媒体には、キャラクタやアイテム等が含まれ、一部は希少度に応じて低い抽選確率が設定されている。
【先行技術文献】
【特許文献】
【0003】
特開2019-213961号公報
【発明の概要】
【発明が解決しようとする課題】
【0004】
ユーザが抽選により獲得したゲーム媒体が希望するものでない場合、従来の技術ではユーザは繰り返し抽選を行う以外に所望のゲーム媒体を獲得する方法がなかった。
そこで本発明は、ユーザが所望のゲーム媒体を獲得する機会を向上させることを目的とする。
【課題を解決するための手段】
【0005】
本発明の一実施形態に係る情報処理装置は、プロセッサを備え、前記プロセッサは、第1ユーザの要求に基づいて、複数のゲーム媒体を含む第1集合から1以上のゲーム媒体を抽選し、抽選された1以上のゲーム媒体を前記第1ユーザの端末の第1画面に表示し、前記第1画面に表示されたゲーム媒体のうちから指定した第1ゲーム媒体を他のユーザと交換可能に制御し、前記第1画面に表示されたゲーム媒体のうち前記第1ゲーム媒体以外のゲーム媒体を前記第1ユーザに付与する。
【発明の効果】
【0006】
本発明の一実施形態によれば、繰り返し抽選を行う以外にユーザが所望のゲーム媒体を獲得する機会を提供できる。これにより、ユーザが所望のゲーム媒体を獲得する機会を向上させることができる。
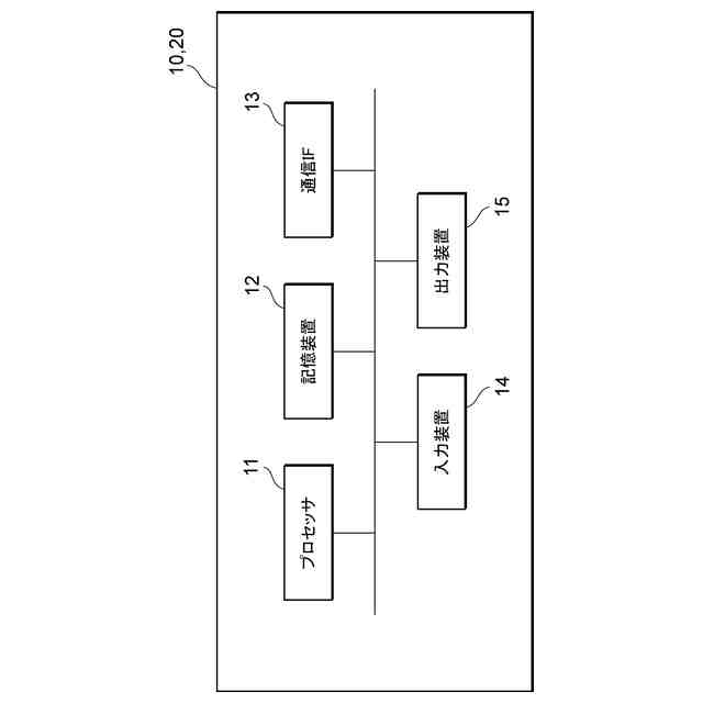
【図面の簡単な説明】
【0007】
システム構成例を示す図である。
ハードウェア構成例を示す図である。
画面の一例を示す図である。
画面の一例を示す図である。
画面の一例を示す図である。
画面の一例を示す図である。
【発明を実施するための形態】
【0008】
<システム構成>
図1は、本実施形態に係るゲームシステム1のシステム構成の一例を示す図である。図1に示すゲームシステム1は、ゲームサーバ10(サーバの一例)と、1以上の端末20とを備える。ゲームサーバ10及び端末20は、インターネット、イントラネット、無線LAN又は移動通信等の通信ネットワークNを介して互いに通信可能に接続されている。
【0009】
サーバ10は、例えば、ユーザ(プレイヤと称してもよい)に関する各種情報を管理したり、ゲームの一部の処理を実行したりする等、端末20がゲームを提供する上でその一部の機能を担う情報処理装置である。サーバ10は、1又は複数の情報処理装置から構成されていてもよいし、仮想的なサーバ(クラウドサーバ等)を用いて構成されていてもよい。サーバ10はコンピュータと呼ばれてもよい。
【0010】
端末20は、ゲームをユーザに提供する情報処理装置であり、ユーザは、端末20を操作することで本実施形態に係るゲームを実行することができる。端末20は、例えば、携帯電話(スマートフォンを含む)、タブレット、パーソナルコンピュータ、アーケードゲーム装置、又は、コンシューマゲーム装置等のコンピュータである。端末20は、GPS(Global Positioning System)等を用いて検出した自身の位置をサーバ10に通知するようにしてもよい。端末20はコンピュータと呼ばれてもよい。
(【0011】以降は省略されています)
この特許をJ-PlatPat(特許庁公式サイト)で参照する
関連特許
株式会社MIXI
情報処理装置、情報処理方法、プログラム及びシステム
1か月前
株式会社MIXI
情報処理装置、情報処理方法、プログラム及びゲームシステム
8日前
株式会社MIXI
情報処理装置、情報処理方法、プログラム及びゲームシステム
2か月前
株式会社MIXI
情報処理装置、情報処理方法、プログラム及び情報処理システム
21日前
株式会社MIXI
情報処理装置、情報処理方法、プログラム及び情報処理システム
1か月前
株式会社MIXI
情報処理装置及びプログラム
1か月前
株式会社MIXI
情報処理装置、及びプログラム
1か月前
株式会社MIXI
情報処理装置およびプログラム
1か月前
株式会社MIXI
情報処理装置、情報処理方法及びプログラム
2か月前
株式会社MIXI
情報処理装置、情報処理方法及びプログラム
2か月前
株式会社MIXI
情報処理装置、情報処理方法及びプログラム
2か月前
株式会社MIXI
情報処理装置、プログラム及び情報処理方法
1か月前
株式会社MIXI
情報処理装置、情報処理方法及びプログラム
1か月前
株式会社MIXI
情報処理装置、プログラム及び情報処理方法
1か月前
株式会社MIXI
情報処理装置、情報処理方法及びプログラム
1か月前
株式会社MIXI
情報処理装置、情報処理方法及びプログラム
6日前
株式会社MIXI
情報処理装置、情報処理方法及びプログラム
6日前
株式会社MIXI
情報処理装置、情報処理方法及びプログラム
13日前
株式会社MIXI
情報処理装置、情報処理方法及びプログラム
27日前
株式会社MIXI
情報処理装置、情報処理方法及びプログラム
1か月前
株式会社MIXI
情報処理装置、情報処理方法およびプログラム
27日前
株式会社MIXI
情報処理装置、プログラム、及び情報処理方法
1か月前
株式会社MIXI
情報処理装置、情報処理方法およびプログラム
27日前
株式会社MIXI
情報処理装置、プログラム、及び情報処理方法
2日前
株式会社MIXI
情報処理装置、プログラムおよび情報処理方法
1か月前
株式会社MIXI
情報処理装置、制御プログラム、及び制御方法
1か月前
株式会社MIXI
情報処理装置、情報処理方法、及びプログラム
1か月前
株式会社MIXI
情報処理システム、サーバ装置、およびプログラム
1か月前
株式会社MIXI
情報処理装置、ゲームプログラム及びゲーム処理方法
27日前
株式会社MIXI
情報処理装置、動画配信方法及び動画配信プログラム
1か月前
株式会社MIXI
表示制御プログラム、情報処理装置及び情報処理方法
1か月前
株式会社MIXI
情報処理システム,制御プログラム及び情報処理装置
21日前
株式会社MIXI
情報処理装置、情報処理プログラム及び情報処理方法
2か月前
株式会社MIXI
情報処理装置、情報処理方法、プログラム及びシステム
1か月前
株式会社MIXI
情報処理装置、情報処理方法および情報処理プログラム
1か月前
株式会社MIXI
情報処理装置、情報処理システム及び情報処理プログラム
6日前
続きを見る
他の特許を見る