TOP
|
特許
|
意匠
|
商標
特許ウォッチ
Twitter
他の特許を見る
10個以上の画像は省略されています。
公開番号
2025161946
公報種別
公開特許公報(A)
公開日
2025-10-24
出願番号
2025140691,2024172663
出願日
2025-08-26,2020-03-19
発明の名称
情報処理装置、制御プログラム、及び制御方法
出願人
株式会社MIXI
代理人
主分類
A63F
13/69 20140101AFI20251017BHJP(スポーツ;ゲーム;娯楽)
要約
【課題】 有限の抽選対象の残数が複数のユーザで共有して管理される抽選において、未だ抽選されていない対象の当選へのユーザの期待値を向上させる技術を提供する。
【解決手段】 情報処理装置は、ユーザからの抽選要求に応じて、複数の対象からいずれかの対象を決定し、決定した対象を前記ユーザに提供する決定部と、複数の対象のうち、所定の1又は複数の対象から形成されるグループであってグループ内の対象の残数が複数ユーザで共有され管理されるグループである共有グループから、いずれかの対象が決定される場合、共有グループ内の前記対象の残数を減らす更新部と、を備えることにより、上記課題の解決を図る。
【選択図】図1
特許請求の範囲
【請求項1】
ユーザからの抽選要求に応じて、複数の対象からいずれかの対象を決定し、決定した対象を前記ユーザに提供する決定部と、
前記複数の対象のうち、所定の1又は複数の対象から形成されるグループであって前記グループ内の前記対象の残数が複数ユーザで共有され管理される前記グループである共有グループから、前記いずれかの対象が決定される場合、前記共有グループ内の前記対象の残数を減らす更新部と、
を備える情報処理装置。
発明の詳細な説明
【技術分野】
【0001】
本発明は、情報処理装置、制御プログラム、及び制御方法に関する。
続きを表示(約 1,900 文字)
【背景技術】
【0002】
近年、スマートフォン等のタッチパネルディスプレイを有する通信端末が普及し、各ユーザは、自身の通信端末を所有している。そのような中で、インターネット上でコミュニティ型のサービスをユーザに提供するサービス、すなわち、ソーシャル・ネットワーキング・サービス(以下、「SNS」という。)が知られている。このようなSNSの1つとして、オンラインゲーム(ソーシャルゲーム)がユーザに提供されている。
【0003】
オンラインゲームでは、ゲーム内に登場するキャラクタやアイテム等のオブジェクトが抽選により提供される場合がある(例えば、特許文献1参考。)。抽選においては、一般的には、オブジェクトごとに当選確率が設定されており、ユーザから抽選要求がなされた場合に、設定された当選確率に基づいてそのユーザに提供するオブジェクトが選択される。低い当選確率が設定されているオブジェクトは、希少性、すなわちレア度が高く、その分、ゲームを有利に進行させることができるように設計されていることが多い。そのため、ユーザは、ゲームにおいてレアカードの入手を目指すことが多い。ゲームによっては、低い当選確率が設定されているレア度の高いオブジェクトを効率よく入手するために、連続して抽選を行うこともできる。
【先行技術文献】
【特許文献】
【0004】
特開2013-247977号公報
【発明の概要】
【発明が解決しようとする課題】
【0005】
上述したように、オンラインゲームでは、一般的に、オブジェクトごとに当選確率が設定されている。ユーザはそれぞれ、ユーザ毎に提供された一様の母集団から、オブジェクトの抽選処理が行われるため、他のユーザの抽選結果に自身の抽選結果が影響されることはなかった。
【0006】
本発明は、有限の抽選対象の残数が複数のユーザで共有して管理される抽選において、未だ抽選されていない対象の当選へのユーザの期待値を向上させる技術を提供する。
【課題を解決するための手段】
【0007】
本発明の一態様に係る情報処理装置は、ユーザからの抽選要求に応じて、複数の対象からいずれかの対象を決定し、決定した対象を前記ユーザに提供する決定部と、前記複数の対象のうち、所定の1又は複数の対象から形成されるグループであって前記グループ内の前記対象の残数が複数ユーザで共有され管理される前記グループである共有グループから、前記いずれかの対象が決定される場合、前記共有グループ内の前記対象の残数を減らす更新部と、を備える。
【発明の効果】
【0008】
本発明の一態様によれば、有限の抽選対象の残数が複数のユーザで共有して管理される抽選において、未だ抽選されていない対象の当選へのユーザの期待値を向上させることができる。
【図面の簡単な説明】
【0009】
本実施形態における情報処理装置の一例を示す図である。
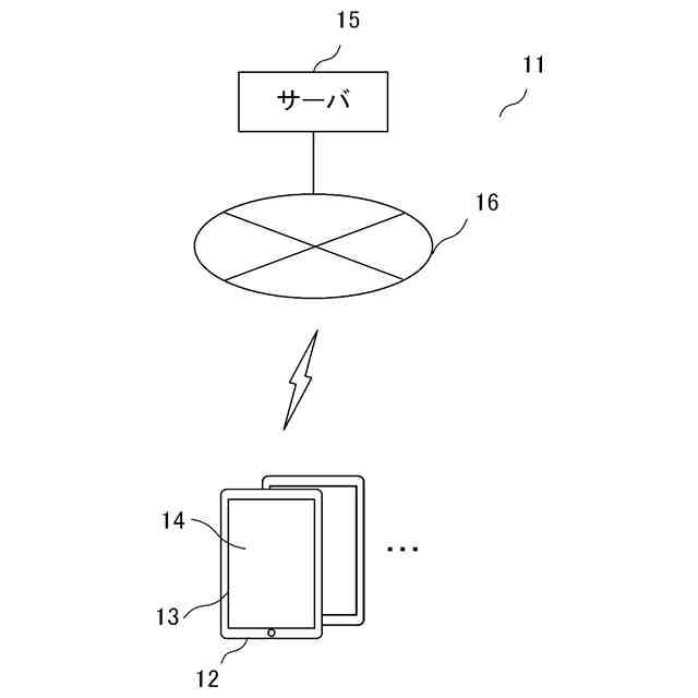
本実施形態におけるゲームシステムのネットワーク構成の一例を示す図であ る。
本実施形態におけるゲームシステムの機能ブロックの一例を示す図である。
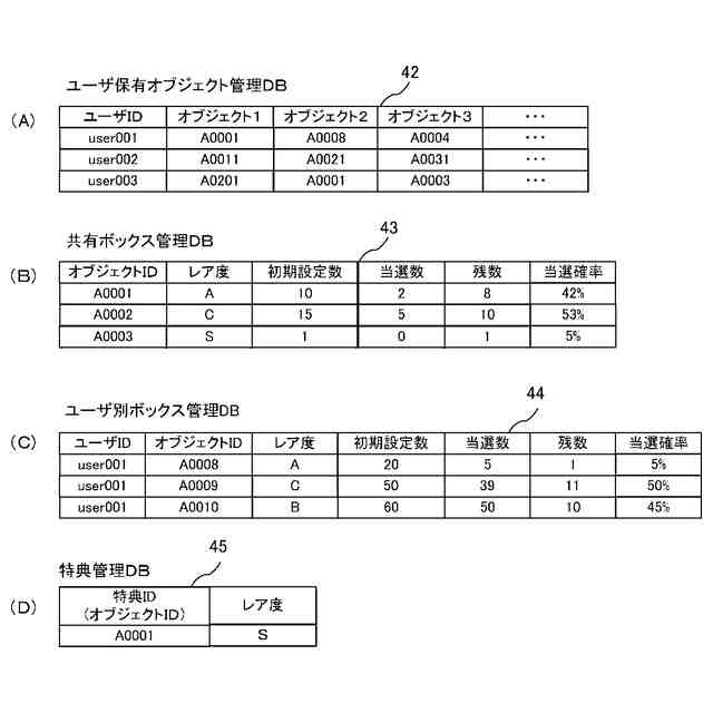
本実施形態におけるサーバにより管理されるデータベースのデータ構造例を 示す図である。
本実施形態における抽選画面例(抽選前)を示す図である。
本実施形態における抽選画面例(抽選後)を示す図である。
本実施形態における抽選画面例(特典が当たった場合)を示す図である。
本実施形態におけるゲームシステム全体のシーケンス図である。
本実施形態における共有ボックス残数取得処理(S5)のフローチャートで ある。
本実施形態の実施例1における抽選処理(S10)のフローチャートであ る。
本実施形態の実施例2における抽選処理(S10)のフローチャートであ る。
本実施形態におけるプログラムを実行するコンピュータのハードウェア環 境の構成ブロック図の一例である。
【発明を実施するための形態】
【0010】
図1は、本実施形態における情報処理装置の一例を示す図である。情報処理装置1は、決定部2、更新部3を含む。情報処理装置1の一例として、後述するサーバ15が挙げられる。
(【0011】以降は省略されています)
この特許をJ-PlatPat(特許庁公式サイト)で参照する
関連特許
株式会社MIXI
情報処理装置、情報処理方法、プログラム及びシステム
1か月前
株式会社MIXI
情報処理装置、情報処理方法、プログラム及びゲームシステム
8日前
株式会社MIXI
情報処理装置、情報処理方法、プログラム及びゲームシステム
2か月前
株式会社MIXI
情報処理装置、情報処理方法、プログラム及び情報処理システム
1か月前
株式会社MIXI
情報処理装置、情報処理方法、プログラム及び情報処理システム
21日前
株式会社MIXI
情報処理装置及びプログラム
1か月前
株式会社MIXI
情報処理装置、及びプログラム
1か月前
株式会社MIXI
情報処理装置およびプログラム
1か月前
株式会社MIXI
情報処理装置、情報処理方法及びプログラム
1か月前
株式会社MIXI
情報処理装置、情報処理方法及びプログラム
1か月前
株式会社MIXI
情報処理装置、情報処理方法及びプログラム
1か月前
株式会社MIXI
情報処理装置、情報処理方法及びプログラム
今日
株式会社MIXI
情報処理装置、プログラム及び情報処理方法
1か月前
株式会社MIXI
情報処理装置、プログラム及び情報処理方法
1か月前
株式会社MIXI
情報処理装置、情報処理方法及びプログラム
13日前
株式会社MIXI
情報処理装置、情報処理方法及びプログラム
6日前
株式会社MIXI
情報処理装置、情報処理方法及びプログラム
6日前
株式会社MIXI
情報処理装置、情報処理方法及びプログラム
2か月前
株式会社MIXI
情報処理装置、情報処理方法及びプログラム
27日前
株式会社MIXI
情報処理装置、プログラム、及び情報処理方法
1か月前
株式会社MIXI
情報処理装置、プログラムおよび情報処理方法
1か月前
株式会社MIXI
情報処理装置、制御プログラム、及び制御方法
1か月前
株式会社MIXI
情報処理装置、プログラム、及び情報処理方法
2日前
株式会社MIXI
情報処理装置、情報処理方法、及びプログラム
1か月前
株式会社MIXI
情報処理装置、情報処理方法およびプログラム
27日前
株式会社MIXI
情報処理装置、情報処理方法およびプログラム
27日前
株式会社MIXI
情報処理システム、サーバ装置、およびプログラム
1か月前
株式会社MIXI
情報処理システム,制御プログラム及び情報処理装置
21日前
株式会社MIXI
情報処理装置、ゲームプログラム及びゲーム処理方法
27日前
株式会社MIXI
表示制御プログラム、情報処理装置及び情報処理方法
1か月前
株式会社MIXI
情報処理装置、動画配信方法及び動画配信プログラム
1か月前
株式会社MIXI
情報処理装置、情報処理プログラム及び情報処理方法
2か月前
株式会社MIXI
情報処理装置、情報処理方法および情報処理プログラム
1か月前
株式会社MIXI
情報処理装置、情報処理方法、プログラム及びシステム
1か月前
株式会社MIXI
情報処理装置、情報処理システム及び情報処理プログラム
6日前
株式会社MIXI
サーバ装置、端末装置、情報処理システム、及びプログラム
1か月前
続きを見る
他の特許を見る