TOP
|
特許
|
意匠
|
商標
特許ウォッチ
Twitter
他の特許を見る
10個以上の画像は省略されています。
公開番号
2025137554
公報種別
公開特許公報(A)
公開日
2025-09-19
出願番号
2025115322,2024049937
出願日
2025-07-08,2020-03-06
発明の名称
情報処理装置、情報処理方法及びプログラム
出願人
株式会社MIXI
代理人
主分類
G06Q
10/02 20120101AFI20250911BHJP(計算;計数)
要約
【課題】競技観戦イベントを企画する際に、その競技観戦イベントに適合した会場を容易に探すことができるうえ、競技観戦イベントへの参加者を容易に募集することができる情報処理装置、情報処理方法及びプログラムを提供する。
【解決手段】1以上の会場ごとに開催可能な競技観戦イベントに関する情報を含む会場情報を記憶する記憶部と、第1ユーザが指定する競技観戦イベントに基づき、会場の中から、指定された競技観戦イベントの開催時間に参加予定人数分の空間を確保可能な会場を検索する検索部と、検索された会場のうち第1ユーザに指定された会場と、第1ユーザに指定された競技観戦イベントに関する情報とを含む、イベント情報を登録する登録部と、登録されたイベント情報を第2ユーザに提供する提供部と、を有する。
【選択図】図6
特許請求の範囲
【請求項1】
1以上の会場ごとに開催可能な競技観戦イベントに関する情報を含む会場情報を記憶する記憶部と、
第1ユーザが指定する競技観戦イベントに基づき、前記会場の中から、前記指定された競技観戦イベントの開催時間に参加予定人数分の空間を確保可能な会場を検索する検索部と、
前記検索された会場のうち前記第1ユーザに指定された会場と、前記第1ユーザに指定された競技観戦イベントに関する情報とを含む、イベント情報を登録する登録部と、
登録された前記イベント情報を第2ユーザに提供する提供部と、
を有することを特徴とする情報処理装置。
発明の詳細な説明
【技術分野】
【0001】
本発明は、情報処理装置、情報処理方法及びプログラムに関する。
続きを表示(約 1,900 文字)
【背景技術】
【0002】
従来から、エリア、ジャンル、日時、人数及び費用等を設定し、飲食店等の店舗を検索して予約する店舗予約システムが知られている。
【0003】
例えば、特許文献1には、画面上に、既に確定している予約と顧客の希望の日時で予約が可能な客席とを表示し、その画面を時刻方向にスクロールさせたときに、顧客の希望の日時が変更されたものとみなして、新たな日時で予約が可能な客席を表示する予約システム、が開示されている。
【先行技術文献】
【特許文献】
【0004】
特開2017-204172号公報
【発明の概要】
【発明が解決しようとする課題】
【0005】
しかしながら、特許文献1に示されるような従来のシステムでは、ライブビューイングと呼ばれるような競技観戦イベントを企画して参加者を募集する場合、その競技観戦イベントの主催者にとっては十分に機能するとは言い難い。例えば、最近では多種多様なジャンル及び規模等の競技観戦イベントが開催されているが、競技観戦イベントを企画する際、それらの各競技観戦イベントに適合した会場を探すことは非常に困難であった。また、仮に運良く会場を見つけることができたとしても、その後、その競技観戦イベントの参加者をあらためて募集しなくてはならないため、さらに手間がかかり面倒であった。
【0006】
そこで、本発明は、競技観戦イベントを企画する際に、その競技観戦イベントに適合した会場を容易に探すことができるうえ、競技観戦イベントへの参加者を容易に募集することができる情報処理装置、情報処理方法及びプログラムを提供することを課題とする。
【課題を解決するための手段】
【0007】
本発明の一態様に係る情報処理装置は、1以上の会場ごとに開催可能な競技観戦イベントに関する情報を含む会場情報を記憶する記憶部と、第1ユーザ(オーガナイザ)が指定する競技観戦イベントに基づき、会場の中から、指定された競技観戦イベントの開催時間に参加予定人数分の空間を確保可能な会場を検索する検索部と、検索された会場のうち第1ユーザに指定された会場と、第1ユーザに指定された競技観戦イベントに関する情報とを含む、イベント情報を登録する登録部と、登録されたイベント情報を第2ユーザに提供する提供部と、を有する。
【発明の効果】
【0008】
本発明の一態様によれば、競技観戦イベントを企画する際に、その競技観戦イベントに適合した会場を容易に探すことができるうえ、競技観戦イベントへの参加者を容易に募集することができる。
【図面の簡単な説明】
【0009】
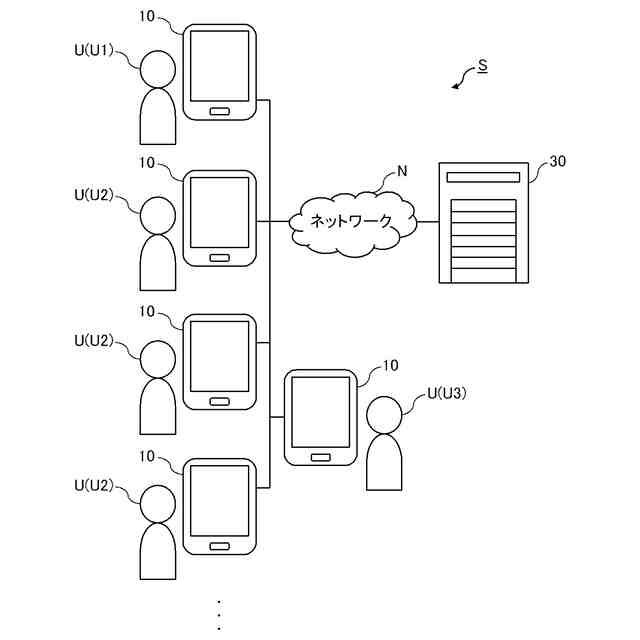
本発明の一実施形態に係る情報処理装置を含むイベント情報提供システムの概念図である。
イベント会場の一例を示す概略図である。
イベント開催の流れを示す説明図である。
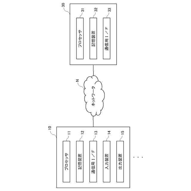
本発明の一実施形態に係る情報処理装置、及び端末のハードウェア構成を示す図である。
本発明の一実施形態に係る端末の機能の説明図である。
本発明の一実施形態に係る情報処理装置を構成するサーバの機能の説明図である。
本発明の会場情報テーブルの一例を示す図である。
本発明のイベント情報テーブルの一例を示す図である。
本発明のユーザ情報テーブルの一例を示す図である。
イベント情報提供処理の流れを示すフローチャートである。
イベント会場決定処理の流れを示すフローチャートである。
イベント情報登録処理の流れを示すフローチャートである。
イベント情報提供先選定処理の流れを示すフローチャートである。
【発明を実施するための形態】
【0010】
以下、本発明の情報処理装置、情報処理方法及びプログラムについて、添付の図面に示す好適な実施形態を参照しながら詳細に説明する。
なお、以下に説明する実施形態は、本発明の理解を容易にするために挙げた一例にすぎず、本発明を限定するものではない。すなわち、本発明は、その趣旨を逸脱しない限りにおいて、以下に説明する実施形態から変更又は改良され得る。また、当然ながら、本発明には、その等価物が含まれる。
また、以下の説明の中では、端末に表示される画面例については図示しないが、画面の構成例、表示される情報及びGUI(Graphical User Interface)の具体的な内容等については、設計仕様及びユーザの好みに応じて自由に設計及び変更し得るものである。
(【0011】以降は省略されています)
この特許をJ-PlatPat(特許庁公式サイト)で参照する
関連特許
株式会社MIXI
情報処理装置、情報処理方法、プログラム及びシステム
1か月前
株式会社MIXI
情報処理装置、情報処理方法、プログラム及びゲームシステム
2か月前
株式会社MIXI
情報処理装置、情報処理方法、プログラム及びゲームシステム
8日前
株式会社MIXI
情報処理装置、情報処理方法、プログラム及び情報処理システム
21日前
株式会社MIXI
情報処理装置、情報処理方法、プログラム及び情報処理システム
1か月前
株式会社MIXI
情報処理装置及びプログラム
1か月前
株式会社MIXI
情報処理装置およびプログラム
1か月前
株式会社MIXI
情報処理装置、及びプログラム
1か月前
株式会社MIXI
情報処理装置、情報処理方法及びプログラム
今日
株式会社MIXI
情報処理装置、情報処理方法及びプログラム
1か月前
株式会社MIXI
情報処理装置、プログラム及び情報処理方法
1か月前
株式会社MIXI
情報処理装置、情報処理方法及びプログラム
1か月前
株式会社MIXI
情報処理装置、プログラム及び情報処理方法
1か月前
株式会社MIXI
情報処理装置、情報処理方法及びプログラム
2か月前
株式会社MIXI
情報処理装置、情報処理方法及びプログラム
1か月前
株式会社MIXI
情報処理装置、情報処理方法及びプログラム
6日前
株式会社MIXI
情報処理装置、情報処理方法及びプログラム
6日前
株式会社MIXI
情報処理装置、情報処理方法及びプログラム
13日前
株式会社MIXI
情報処理装置、情報処理方法及びプログラム
27日前
株式会社MIXI
情報処理装置、情報処理方法およびプログラム
27日前
株式会社MIXI
情報処理装置、プログラム、及び情報処理方法
1か月前
株式会社MIXI
情報処理装置、情報処理方法、及びプログラム
1か月前
株式会社MIXI
情報処理装置、制御プログラム、及び制御方法
1か月前
株式会社MIXI
情報処理装置、情報処理方法およびプログラム
27日前
株式会社MIXI
情報処理装置、プログラムおよび情報処理方法
1か月前
株式会社MIXI
情報処理装置、プログラム、及び情報処理方法
2日前
株式会社MIXI
情報処理システム、サーバ装置、およびプログラム
1か月前
株式会社MIXI
情報処理装置、ゲームプログラム及びゲーム処理方法
27日前
株式会社MIXI
表示制御プログラム、情報処理装置及び情報処理方法
1か月前
株式会社MIXI
情報処理装置、動画配信方法及び動画配信プログラム
1か月前
株式会社MIXI
情報処理システム,制御プログラム及び情報処理装置
21日前
株式会社MIXI
情報処理装置、情報処理方法、プログラム及びシステム
1か月前
株式会社MIXI
情報処理装置、情報処理方法および情報処理プログラム
1か月前
株式会社MIXI
情報処理装置、情報処理システム及び情報処理プログラム
6日前
株式会社MIXI
頭部装着ディスプレイ装置、認証方法、及び認証プログラム
13日前
株式会社MIXI
サーバ装置、端末装置、情報処理システム、及びプログラム
1か月前
続きを見る
他の特許を見る