TOP
|
特許
|
意匠
|
商標
特許ウォッチ
Twitter
他の特許を見る
公開番号
2025137553
公報種別
公開特許公報(A)
公開日
2025-09-19
出願番号
2025115321,2024073877
出願日
2025-07-08,2019-01-31
発明の名称
ゲーム装置及びプログラム
出願人
株式会社MIXI
代理人
主分類
A63F
13/69 20140101AFI20250911BHJP(スポーツ;ゲーム;娯楽)
要約
【課題】対戦ゲームにおいてプレイヤのプレイ意欲を高めることが可能なゲーム装置を提供すること。
【解決手段】対戦ゲームを実行するゲーム装置であって、複数のプレイヤの各々が所持する、勝敗決定後に付与されるポイントの累積値を記憶する記憶部と、勝敗が決定した後に、勝利したプレイヤの累積値に第1ポイントを加算し、敗北したプレイヤの累積値から第2ポイントを減算し、敗北したプレイヤが行った対戦の内容が所定の条件を満たす場合、第3ポイントを、敗北したプレイヤの累積値に加算する、ポイント更新部と、を有するゲーム装置を提供する。
【選択図】図5
特許請求の範囲
【請求項1】
対戦ゲームを実行するゲーム装置であって、
複数のプレイヤの各々が所持する、勝敗決定後に付与されるポイントの累積値を記憶する記憶部と、
勝敗が決定した後に、
勝利したプレイヤの累積値に第1ポイントを加算し、
敗北したプレイヤの累積値から第2ポイントを減算し、
前記敗北したプレイヤが行った対戦の内容が所定の条件を満たす場合、第3ポイントを、前記敗北したプレイヤの累積値に加算する、
ポイント更新部と、
を有するゲーム装置。
続きを表示(約 890 文字)
【請求項2】
前記第3ポイントの上限は、前記第1ポイント未満である、
請求項1に記載のゲーム装置。
【請求項3】
前記ポイント更新部は、対戦に勝利したプレイヤが所持するキャラクタに与えたダメージの合計値に基づいて、前記第3ポイントを設定する、
請求項1又は2に記載のゲーム装置。
【請求項4】
前記対戦ゲームは、対戦を行う各々のチームのプレイヤが所持する複数のキャラクタのうち予め定められた特定のキャラクタを、他方のプレイヤのキャラクタが攻撃することで行われ、
前記ポイント更新部は、対戦に勝利したプレイヤが所持する特定のキャラクタに与えたダメージの合計値に基づいて、前記第3ポイントを設定する、
請求項1乃至3のいずれか一項に記載のゲーム装置。
【請求項5】
前記ポイント更新部は、対戦に負けたプレイヤのキャラクタが連携して、対戦に勝利したプレイヤが所持するキャラクタに攻撃を行った際において、連携したキャラクタの数に基づいて、前記第3ポイントを設定する、
請求項1乃至4のいずれか一項に記載のゲーム装置。
【請求項6】
前記対戦ゲームは、ターンごとにプレイヤが攻撃を指示するゲームであり、
前記ポイント更新部は、対戦に要したターン数に基づいて、前記第3ポイントを設定する、
請求項1乃至5のいずれか一項に記載のゲーム装置。
【請求項7】
対戦ゲームを実行するコンピュータに、
複数のプレイヤの各々が所持する、勝敗決定後に付与されるポイントの累積値を記憶部に記憶するステップと、
勝敗が決定した後に、
勝利したプレイヤの累積値に第1ポイントを加算し、
敗北したプレイヤの累積値から第2ポイントを減算し、
前記敗北したプレイヤが行った対戦の内容が所定の条件を満たす場合、第3ポイントを、前記敗北したプレイヤの累積値に加算する、
ステップと、
を実行させるためのプログラム。
発明の詳細な説明
【技術分野】
【0001】
本発明は、ゲーム装置及びプログラムに関する。
続きを表示(約 1,400 文字)
【背景技術】
【0002】
近年、プレイヤが、複数のキャラクタを組み合わせたチーム(デッキとも呼ばれる)を用いて対戦を行うオンラインゲームが提供されている(例えば特許文献1)。このようなオンラインゲームでは、対戦に勝利するとポイントが付与され、ポイントの累積値が大きくなるにつれて新たなスキルを獲得したり、新たなシナリオにチャレンジしたりすることが可能になる。
【先行技術文献】
【特許文献】
【0003】
特許第6405439号公報
【発明の概要】
【発明が解決しようとする課題】
【0004】
上述のオンラインゲームでは、プレイヤが対戦に敗退し続けた場合、ポイントを獲得することができず、プレイする意欲を失ってしまうことが考えられる。オンラインゲームは、参加するプレイヤが多いほどゲームが活性化することから、プレイヤのプレイ意欲を高める仕組みが必要である。
【0005】
そこで、本発明は、対戦ゲームにおいてプレイヤのプレイ意欲を高めることが可能なゲーム装置及びプログラムを提供することを目的とする。
【課題を解決するための手段】
【0006】
本発明の一態様に係るゲーム装置は、対戦ゲームを実行するゲーム装置であって、複数のプレイヤの各々が所持する、勝敗決定後に付与されるポイントの累積値を記憶する記憶部と、勝敗が決定した後に、勝利したプレイヤの累積値に第1ポイントを加算し、敗北したプレイヤの累積値から第2ポイントを減算し、敗北したプレイヤが行った対戦の内容が所定の条件を満たす場合、第3ポイントを、敗北したプレイヤの累積値に加算する、ポイント更新部と、を有する。
【発明の効果】
【0007】
本発明によれば、対戦ゲームにおいてプレイヤのプレイ意欲を高めることが可能なゲーム装置及びプログラムを提供することができる。
【図面の簡単な説明】
【0008】
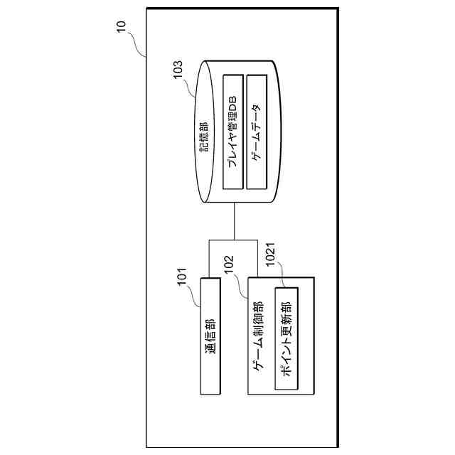
本実施形態に係るゲームシステムのシステム構成の一例を示す図である。
本実施形態に係るゲームの画面例を示す図である。
カテゴリの一例を示す図である。
ゲームサーバ及び端末のハードウェア構成の一例を示す図である。
ゲームサーバの機能ブロック構成の一例を示す図である。
端末の機能ブロック構成の一例を示す図である。
健闘ボーナスの設定方法を説明するための図である。
対戦終了時のゲーム画面の一例を示す図である。
【発明を実施するための形態】
【0009】
添付図面を参照して、本発明の好適な実施形態について説明する。なお、各図において、同一の符号を付したものは、同一又は同様の構成を有する。
【0010】
<システム構成>
図1は、本実施形態に係るゲームシステム1のシステム構成の一例を示す図である。図1に示すゲームシステム1は、ゲームサーバ10(ゲーム装置)と、複数の端末20とを備える。ゲームサーバ10及び端末20は、インターネットやイントラネット、無線LAN、移動通信等の通信ネットワークNを介して互いに通信可能に接続されている。
(【0011】以降は省略されています)
この特許をJ-PlatPat(特許庁公式サイト)で参照する
関連特許
個人
自走玩具
2か月前
個人
小型卓球台
1か月前
個人
パズル
1か月前
個人
打撃練習用具
2か月前
株式会社三共
遊技機
2か月前
株式会社三共
遊技機
2か月前
株式会社三共
遊技機
2か月前
株式会社三共
遊技機
2か月前
株式会社三共
遊技機
2か月前
株式会社三共
遊技機
2か月前
株式会社三共
遊技機
2か月前
株式会社三共
遊技機
1か月前
株式会社三共
遊技機
2か月前
株式会社三共
遊技機
2か月前
株式会社三共
遊技機
2か月前
株式会社三共
遊技機
2か月前
株式会社三共
遊技機
2か月前
株式会社三共
遊技機
2か月前
株式会社三共
遊技機
2か月前
株式会社三共
遊技機
2か月前
株式会社三共
遊技機
2か月前
株式会社三共
遊技機
2か月前
株式会社三共
遊技機
2か月前
株式会社三共
遊技機
2か月前
株式会社三共
遊技機
2か月前
株式会社三共
遊技機
1か月前
株式会社三共
遊技機
1か月前
株式会社三共
遊技機
1か月前
株式会社三共
遊技機
1か月前
株式会社三共
遊技機
1か月前
株式会社三共
遊技機
1か月前
株式会社三共
遊技機
1か月前
株式会社三共
遊技機
1か月前
株式会社三共
遊技機
1か月前
株式会社三共
遊技機
1か月前
株式会社三共
遊技機
2か月前
続きを見る
他の特許を見る