TOP
|
特許
|
意匠
|
商標
特許ウォッチ
Twitter
他の特許を見る
公開番号
2025142307
公報種別
公開特許公報(A)
公開日
2025-09-30
出願番号
2025126600,2024090964
出願日
2025-07-29,2020-04-14
発明の名称
情報処理装置、情報処理方法及びプログラム
出願人
株式会社MIXI
代理人
主分類
G06Q
50/10 20120101AFI20250919BHJP(計算;計数)
要約
【課題】他のプレイヤのデッキに編成可能なキャラクタとして設定されたキャラクタが変更される頻度を高めることを可能にする技術を提供すること。
【解決手段】プレイヤが所有するキャラクタのうち、他のプレイヤのデッキに編成可能な特定キャラクタを記憶する記憶部と、クエストのプレイに用いられるデッキを構成する複数のキャラクタ枠と、それぞれのキャラクタ枠に設定するキャラクタの指定を受け付ける画面を表示する表示制御部と、複数のキャラクタ枠のうち特定枠に、プレイヤが所有するキャラクタであって、特定キャラクタ以外のキャラクタが設定された場合に、記憶部に記憶されている特定キャラクタを、特定枠に設定されたキャラクタに更新する、更新部と、を有する情報処理装置を提供する。
【選択図】図3
特許請求の範囲
【請求項1】
プレイヤが所有するキャラクタのうち、他のプレイヤのデッキに編成可能な特定キャラクタを記憶する記憶部と、
クエストのプレイに用いられるデッキを構成する複数のキャラクタ枠と、それぞれのキャラクタ枠に設定するキャラクタの指定を受け付ける画面を表示する表示制御部と、
前記複数のキャラクタ枠のうち特定枠に、前記プレイヤが所有するキャラクタであって、前記特定キャラクタ以外のキャラクタが設定された場合に、前記記憶部に記憶されている前記特定キャラクタを、前記特定枠に設定されたキャラクタに更新する、更新部と、
を有する情報処理装置。
発明の詳細な説明
【技術分野】
【0001】
本発明は、情報処理装置、情報処理方法及びプログラムに関する。
続きを表示(約 1,400 文字)
【背景技術】
【0002】
デッキと呼ばれる、複数のキャラクタから構成されるチームを用いて、クエストと呼ばれる、ゲームで行われるイベントをクリアしていくゲームが知られている。例えば、特許文献1には、ユーザが所持するキャラクタの中から自動的にデッキを編成する技術が開示されている。
【先行技術文献】
【特許文献】
【0003】
特開2017-185268号公報
【発明の概要】
【発明が解決しようとする課題】
【0004】
デッキを用いてクエストをクリアしていくゲームの中には、各プレイヤが、他のプレイヤのデッキに編成可能なキャラクタを予め設定しておき、あるプレイヤがクエストを実行する際、当該あるプレイヤが選択したキャラクタと、他のプレイヤが設定したキャラクタとでデッキが編成されるゲームが存在する。
【0005】
しかしながら、このようなゲームでは、各プレイヤが、他のプレイヤのデッキに編成可能なキャラクタとして設定したキャラクタは、プレイヤ自身が編成するデッキに設定されるのではなく、他プレイヤが編成するデッキに設定されることになる。従って、一度設定したキャラクタを変更するプレイヤが少ないという課題があった。
【0006】
そこで、本発明は、他のプレイヤのデッキに編成可能なキャラクタとして設定されたキャラクタが変更される頻度を高めることを可能にする技術を提供することを目的とする。
【課題を解決するための手段】
【0007】
本発明の一態様に係る情報処理装置は、プレイヤが所有するキャラクタのうち、他のプレイヤのデッキに編成可能な特定キャラクタを記憶する記憶部と、クエストのプレイに用いられるデッキを構成する複数のキャラクタ枠と、それぞれのキャラクタ枠に設定するキャラクタの指定を受け付ける画面を表示する表示制御部と、複数のキャラクタ枠のうち特定枠に、プレイヤが所有するキャラクタであって、特定キャラクタ以外のキャラクタが設定された場合に、記憶部に記憶されている特定キャラクタを、特定枠に設定されたキャラクタに更新する、更新部と、を有する。
【発明の効果】
【0008】
本発明によれば、他のプレイヤのデッキに編成可能なキャラクタとして設定されたキャラクタが変更される頻度を高めることを可能にする技術を提供することができる。
【図面の簡単な説明】
【0009】
本実施形態に係るゲームシステムのシステム構成の一例を示す図である。
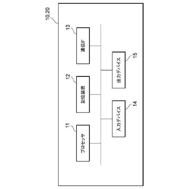
ゲームサーバ及び端末のハードウェア構成の一例を示す図である。
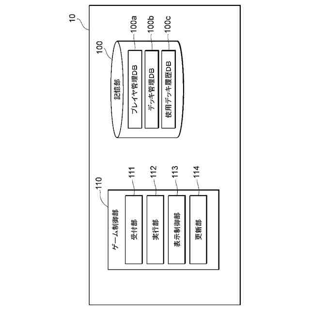
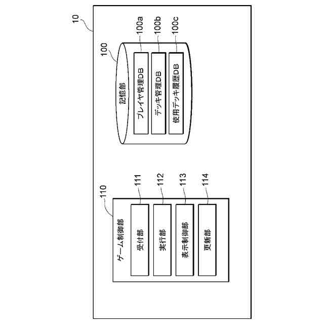
ゲームサーバの機能ブロック構成例を示す図である。
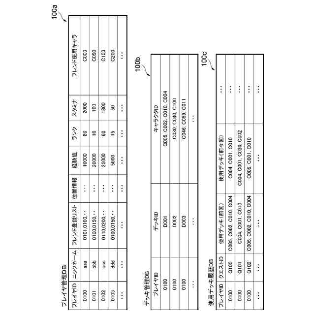
プレイヤ管理DB、デッキ管理DB及び使用デッキ履歴DBの一例を示す図 である。
端末の機能ブロック構成例を示す図である。
ゲームサーバが実行する処理手順の一例を示すフローチャートである。
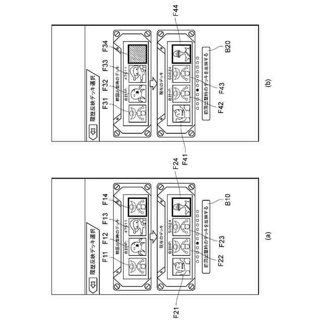
デッキ履歴を表示する画面の一例を示す図である。
【発明を実施するための形態】
【0010】
添付図面を参照して、本発明の実施形態について説明する。なお、各図において、同一の符号を付したものは、同一又は同様の構成を有する。
(【0011】以降は省略されています)
この特許をJ-PlatPat(特許庁公式サイト)で参照する
関連特許
株式会社MIXI
情報処理装置、情報処理方法、プログラム及びシステム
27日前
株式会社MIXI
情報処理装置、情報処理方法、プログラム及びゲームシステム
1か月前
株式会社MIXI
情報処理装置、情報処理方法、プログラム及び情報処理システム
26日前
株式会社MIXI
情報処理装置、情報処理方法、プログラム及び情報処理システム
1か月前
株式会社MIXI
情報処理装置、情報処理システム、情報処理方法、及びプログラム
1か月前
株式会社MIXI
情報処理装置及びプログラム
1か月前
株式会社MIXI
情報処理装置およびプログラム
1か月前
株式会社MIXI
情報処理装置、及びプログラム
25日前
株式会社MIXI
情報処理装置、およびプログラム
2か月前
株式会社MIXI
情報処理装置、及び情報処理プログラム
1か月前
株式会社MIXI
情報処理装置、情報処理方法及びプログラム
1か月前
株式会社MIXI
情報処理装置、情報処理方法及びプログラム
1か月前
株式会社MIXI
情報処理装置、情報処理方法及びプログラム
1か月前
株式会社MIXI
情報処理装置、プログラム及び情報処理方法
1か月前
株式会社MIXI
情報処理装置、情報処理方法及びプログラム
1か月前
株式会社MIXI
情報処理装置、情報処理方法及びプログラム
1か月前
株式会社MIXI
情報処理装置、情報処理方法及びプログラム
1か月前
株式会社MIXI
情報処理装置、情報処理方法及びプログラム
1か月前
株式会社MIXI
情報処理装置、情報処理方法及びプログラム
4日前
株式会社MIXI
情報処理装置、情報処理方法及びプログラム
1か月前
株式会社MIXI
情報処理装置、プログラム及び情報処理方法
25日前
株式会社MIXI
情報処理装置、情報処理方法及びプログラム
11日前
株式会社MIXI
情報処理装置、情報処理方法及びプログラム
13日前
株式会社MIXI
情報処理装置、情報処理方法、及びプログラム
25日前
株式会社MIXI
情報処理装置、情報処理方法、及びプログラム
1か月前
株式会社MIXI
情報処理装置、情報処理方法およびプログラム
4日前
株式会社MIXI
情報処理装置、プログラム、及び情報処理方法
1か月前
株式会社MIXI
情報処理装置、プログラムおよび情報処理方法
2か月前
株式会社MIXI
情報処理装置、制御プログラム、及び制御方法
25日前
株式会社MIXI
情報処理装置、プログラムおよび情報処理方法
25日前
株式会社MIXI
情報処理装置、情報処理方法およびプログラム
4日前
株式会社MIXI
情報処理システム、サーバ装置、およびプログラム
1か月前
株式会社MIXI
表示制御プログラム、情報処理装置及び情報処理方法
1か月前
株式会社MIXI
情報処理装置、情報処理プログラム及び情報処理方法
1か月前
株式会社MIXI
情報処理装置、ゲームプログラム及びゲーム処理方法
4日前
株式会社MIXI
情報処理装置、動画配信方法及び動画配信プログラム
13日前
続きを見る
他の特許を見る