TOP
|
特許
|
意匠
|
商標
特許ウォッチ
Twitter
他の特許を見る
10個以上の画像は省略されています。
公開番号
2025146754
公報種別
公開特許公報(A)
公開日
2025-10-03
出願番号
2025042557
出願日
2025-03-17
発明の名称
包装用容器
出願人
株式会社エフピコ
代理人
個人
主分類
B65D
43/06 20060101AFI20250926BHJP(運搬;包装;貯蔵;薄板状または線条材料の取扱い)
要約
【課題】薄いシートを使用した場合であっても、蓋体を閉じる際における側面部の潰れ破損と蓋体の天面部の割れ破損の双方を防止することができる包装用容器を提供する。
【解決手段】本体側面部11は、内側に向けて突出すると共に上下方向に沿って延びる本体突っ張りリブ17を備え、蓋側面部31は、本体突っ張りリブ17に対応した周方向の位置に設けられ、外側に向けて突出し、上下方向に沿って延びる蓋突っ張りリブ40を備え、蓋突っ張りリブ40と本体突っ張りリブ17は、閉蓋状態において互いに上下に並んで突っ張り柱部を構成し、閉蓋状態の平面視において、蓋突っ張りリブ40の下端部は、本体突っ張りリブ17の上端部に対して内側に離間している。
【選択図】図1
特許請求の範囲
【請求項1】
合成樹脂製シートからなる容器本体及び蓋体を備えた包装用容器であって、
容器本体は、底面部と、底面部の周縁部から上側に延びる本体側面部と、本体側面部の外側に設けられた本体嵌合部と、を備え、
本体側面部は、内側に向けて突出すると共に上下方向に沿って延びる本体突っ張りリブを備え、
蓋体は、天面部と、天面部の周縁部から下側に延びる蓋側面部と、蓋側面部の下端部から外側に延び、閉蓋状態において本体突っ張りリブの上側に対峙する蓋延在部と、蓋延在部の外側に設けられ、閉蓋状態において本体嵌合部に嵌合する蓋嵌合部と、を備え、
蓋側面部は、本体突っ張りリブに対応した周方向の位置に設けられ、外側に向けて突出し、上下方向に沿って延びる蓋突っ張りリブを備え、
蓋突っ張りリブと本体突っ張りリブは、閉蓋状態において互いに上下に並んで突っ張り柱部を構成し、
閉蓋状態の平面視において、蓋突っ張りリブの下端部は、本体突っ張りリブの上端部に対して内側に離間している、包装用容器。
続きを表示(約 470 文字)
【請求項2】
本体突っ張りリブの上端部には受圧面部が設けられており、受圧面部の内側には、上側ほど外側となるテーパ面部が隣接して設けられている、請求項1記載の包装用容器。
【請求項3】
蓋側面部は、蓋側面部の上下方向の主要部を構成すると共に蓋突っ張りリブが設けられた蓋側面主部と、蓋側面主部の下側に隣接すると共に蓋延在部に接続された蓋段差部と、を有し、
蓋段差部は、蓋側面主部の下端部から外側に延びる段差上面部と、段差上面部の外縁部から蓋延在部まで延びる段差側面部と、を有し、
蓋突っ張りリブの下端部は、段差上面部に位置しており、
段差側面部における蓋突っ張りリブに対応した箇所には、蓋延在部を局所的に内側に向けて延長するように、内側に凹んだ抉れ部が設けられている、請求項1又は2記載の包装用容器。
【請求項4】
包装用容器は、平面視矩形であり、
蓋突っ張りリブと本体突っ張りリブは、コーナー部又はコーナー部近傍に設けられている、請求項1又は2記載の包装用容器。
発明の詳細な説明
【技術分野】
【0001】
本発明は、食品の収容に適した包装用容器に関する。
続きを表示(約 2,900 文字)
【背景技術】
【0002】
蓋体を閉める際や閉蓋状態の蓋体の天面部にラベルを貼る際や食品を収容した包装用容器を上下に多段積みした際に蓋体の天面部には大きな力が働くことになる。この力に耐えるために、蓋体の側面部や容器本体の側面部に、上下方向に沿ってリブを設けることがある。例えば、下記特許文献1の容器においては、蓋体の側面部と容器本体の側面部にそれぞれ全周に亘って多数のリブが設けられている。このように、蓋体の側面部や容器本体の側面部にリブを設けると、閉蓋作業時や天面部へのラベル貼り作業時や上下多段積み時において蓋体の側面部や容器本体の側面部が潰れにくくなる。
【0003】
しかしながら、シートの厚さが薄くなると、リブ近傍における蓋体の天面部に割れ破損が発生しやすくなる。
【先行技術文献】
【特許文献】
【0004】
実開昭59-26714号公報
【発明の概要】
【発明が解決しようとする課題】
【0005】
それゆえに本発明は、薄いシートを使用した場合であっても、側面部の潰れ破損と蓋体の天面部の割れ破損の双方を防止することができる包装用容器を提供することを課題とする。
【課題を解決するための手段】
【0006】
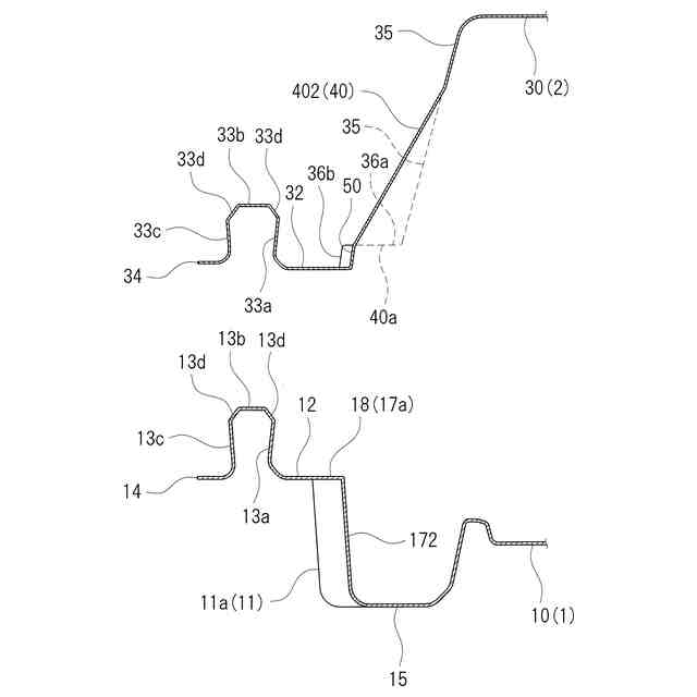
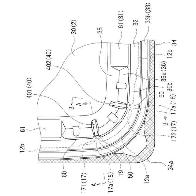
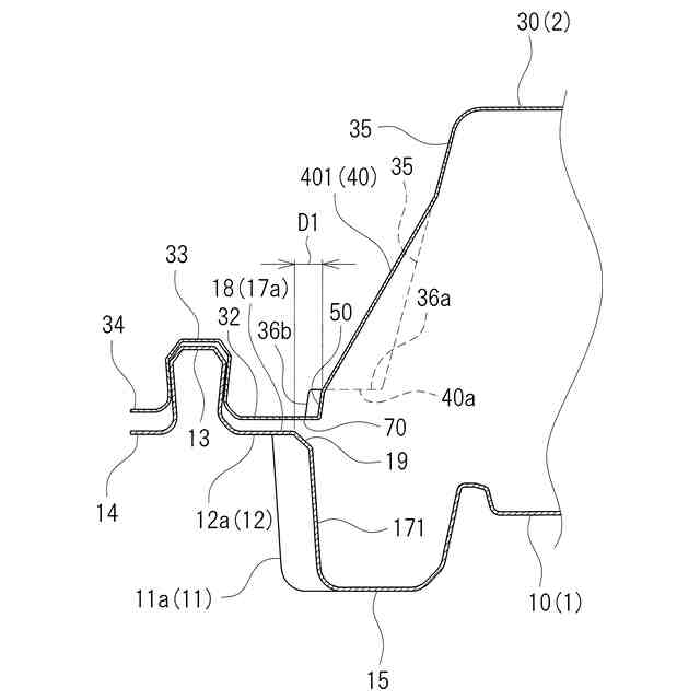
本発明に係る包装用容器は、合成樹脂製シートからなる容器本体及び蓋体を備えた包装用容器であって、容器本体は、底面部と、底面部の周縁部から上側に延びる本体側面部と、本体側面部の外側に設けられた本体嵌合部と、を備え、本体側面部は、内側に向けて突出すると共に上下方向に沿って延びる本体突っ張りリブを備え、蓋体は、天面部と、天面部の周縁部から下側に延びる蓋側面部と、蓋側面部の下端部から外側に延び、閉蓋状態において本体突っ張りリブの上側に対峙する蓋延在部と、蓋延在部の外側に設けられ、閉蓋状態において本体嵌合部に嵌合する蓋嵌合部と、を備え、蓋側面部は、本体突っ張りリブに対応した周方向の位置に設けられ、外側に向けて突出し、上下方向に沿って延びる蓋突っ張りリブを備え、蓋突っ張りリブと本体突っ張りリブは、閉蓋状態において互いに上下に並んで突っ張り柱部を構成し、閉蓋状態の平面視において、蓋突っ張りリブの下端部は、本体突っ張りリブの上端部に対して内側に離間している。
【0007】
この構成によれば、本体側面部に上下方向に沿った本体突っ張りリブが設けられ、蓋側面部に上下方向に沿った蓋突っ張りリブが設けられている。そのため、蓋体の天面部に作用する下向きの外力に対する耐力が高まり、蓋側面部と本体側面部の圧縮潰れを防止することができる。特に、蓋突っ張りリブは、本体突っ張りリブに対応した周方向の位置に設けられており、蓋突っ張りリブと本体突っ張りリブは、閉蓋状態において互いに上下に並んで一つの突っ張り柱部を構成する。そのため、蓋突っ張りリブと本体突っ張りリブによる突っ張り機能が高まり、大きな下向きの荷重に耐えることができる。従って、蓋体を閉じる際や、閉蓋状態で天面部にラベルを貼る際や、食品を収容した包装用容器を上下に多段積みした際等に、蓋体の天面部に大きな外力が作用したとしても、蓋側面部や本体側面部の圧縮潰れを効果的に防止することができる。
【0008】
一方、閉蓋状態の平面視において、蓋突っ張りリブの下端部は、本体突っ張りリブの上端部と重なることなく、本体突っ張りリブの上端部に対して内側に離間している。蓋体を閉じる際や閉蓋状態において蓋体の天面部に下向きの大きな外力が作用すると、その外力は、蓋突っ張りリブの下端部と本体突っ張りリブの上端部との内外方向の間における蓋延在部の領域を介して本体突っ張り部の上端部に伝達されることになる。この蓋延在部の領域をクッション領域と称する。クッション領域は、蓋体の天面部に作用する下向きの外力によって、本体突っ張りリブの上端部の内縁部を支点として下側に向けて撓むように弾性変形する。このクッション領域の弾性変形によって下向きの外力が吸収、緩和されることになる。そのため、蓋体を閉じる際や閉蓋状態で天面部にラベルを貼る際等に蓋体の天面部に大きな外力が作用した場合であっても、蓋体の天面部に割れ破損が発生しにくくなる。自動蓋閉め装置や自動ラベル貼り装置といった自動化装置の中には装置側での荷重調整範囲が狭い自動化装置があるが、このような自動化装置を使う場合であっても、本構成の包装用容器によれば、クッション領域の弾性変形による外力の吸収、緩和によって、蓋体の天面部に割れ破損が発生しにくくなる。
【0009】
特に、本体突っ張りリブの上端部には受圧面部が設けられており、受圧面部の内側には、上側ほど外側となるテーパ面部が隣接して設けられていることが好ましい。この構成によれば、本体突っ張りリブの上端部の受圧面部が蓋体からの力を受け止める。そして、テーパ面部の外縁部(受圧面部の内縁部)と蓋突っ張りリブの下端部との内外方向の間の蓋延在部の領域がクッション領域となって弾性変形する。受圧面部の内側にテーパ面部が隣接して設けられることにより、クッション領域の内外方向の寸法が拡大する。そのため、クッション領域がより一層弾性変形しやすくなり、クッション領域による外力吸収機能が向上し、蓋体の天面部の割れ破損をより一層効果的に防止することができる。
【0010】
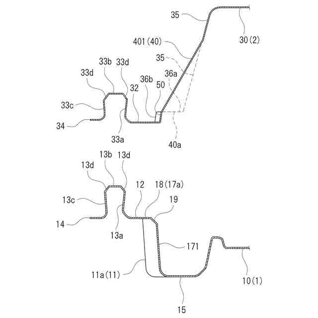
また、蓋側面部は、蓋側面部の上下方向の主要部を構成すると共に蓋突っ張りリブが設けられた蓋側面主部と、蓋側面主部の下側に隣接すると共に蓋延在部に接続された蓋段差部と、を有し、蓋段差部は、蓋側面主部の下端部から外側に延びる段差上面部と、段差上面部の外縁部から蓋延在部まで延びる段差側面部と、を有し、蓋突っ張りリブの下端部は、段差上面部に位置しており、段差側面部における蓋突っ張りリブに対応した箇所には、蓋延在部を局所的に内側に向けて延長するように、内側に凹んだ抉れ部が設けられていることが好ましい。この構成によれば、蓋側面部の主要部である蓋側面主部に蓋突っ張りリブが設けられているため、蓋側面部を蓋突っ張りリブによって効果的に補強することができ、蓋側面部の圧縮潰れを効果的に防止することができる。また、蓋側面主部と蓋延在部との間に蓋段差部が設けられ、その蓋段差部の段差上面部まで蓋突っ張りリブが延びていて、蓋突っ張りリブの下端部は段差上面部に位置している。そのため、蓋突っ張りリブと蓋段差部の相乗効果によって、特に蓋側面部の下端部近傍を強固に補強できる。更に、蓋段差部の段差側面部には抉れ部が設けられ、この抉れ部によって蓋延在部は、蓋突っ張りリブに対応した位置において局所的に内側に拡張されている。そのため、クッション領域の内外方向の寸法が拡大されて、クッション領域による外力吸収機能がより一層向上する。
(【0011】以降は省略されています)
この特許をJ-PlatPat(特許庁公式サイト)で参照する
関連特許
株式会社エフピコ
賦形シート
1日前
株式会社エフピコ
包装用容器
1か月前
株式会社エフピコ
包装用容器
2か月前
株式会社エフピコ
包装用容器
5か月前
株式会社エフピコ
熱成形用シートおよび成形容器
20日前
アールエム東セロ株式会社
熱成形シート積層用フィルム、熱成形シート、及び熱成形体
28日前
個人
収容箱
3か月前
個人
コンベア
5か月前
個人
容器
9か月前
個人
ゴミ収集器
7か月前
個人
段ボール箱
7か月前
個人
段ボール箱
7か月前
個人
土嚢運搬器具
8か月前
個人
バンド
2か月前
個人
楽ちんハンド
5か月前
個人
角筒状構造体
5か月前
個人
宅配システム
7か月前
個人
コード類収納具
8か月前
個人
閉塞装置
10か月前
個人
廃棄物収容容器
3か月前
個人
お薬の締結装置
6か月前
個人
包装容器
1か月前
株式会社和気
包装用箱
9か月前
個人
ゴミ処理機
9か月前
個人
蓋閉止構造
4か月前
株式会社コロナ
梱包材
5か月前
株式会社和気
包装用箱
9日前
株式会社バンダイ
物品
29日前
個人
貯蔵サイロ
7か月前
個人
積み重ね用補助具
3か月前
個人
把手付米袋
4か月前
個人
蓋閉止構造
4か月前
株式会社ナベル
検査装置
7日前
個人
介護用コップ
2か月前
株式会社新弘
容器
3か月前
個人
袋入り即席麺
7か月前
続きを見る
他の特許を見る