TOP
|
特許
|
意匠
|
商標
特許ウォッチ
Twitter
他の特許を見る
10個以上の画像は省略されています。
公開番号
2025146534
公報種別
公開特許公報(A)
公開日
2025-10-03
出願番号
2024047368
出願日
2024-03-22
発明の名称
スタックマニホールド
出願人
豊田合成株式会社
代理人
弁理士法人 共立特許事務所
主分類
H01M
8/2483 20160101AFI20250926BHJP(基本的電気素子)
要約
【課題】エンドプレートにおける樹脂浮きの発生を防止することが可能なスタックマニホールドを提供する。
【解決手段】スタックマニホールドは、板状の単セルを厚さ方向に複数積層したセル積層体を厚さ方向で挟む一対のエンドプレートのうちの一方である第一エンドプレートと、第一エンドプレートに取り付けられる配管部材と、を備える。配管部材は、熱可塑性樹脂製である。第一エンドプレートは、セル積層体に流体の流通する通路として形成された流通孔に連絡し厚さ方向に貫通する貫通孔が設けられた高強度材料製のプレート本体と、プレート本体に一体化された熱可塑性樹脂製の樹脂部と、を有する。樹脂部は、プレート本体における貫通孔の内周面を被覆する筒状の被覆部を有する。被覆部は、プレート本体における貫通孔の内周面に接するように配置された筒状部と、プレート本体における厚さ方向の外端から厚さ方向の外側に露出するフランジ部と、を有する。プレート本体及び被覆部は、フランジ部が厚さ方向の外側に変形するのを規制する規制構造を有する。
【選択図】図2
特許請求の範囲
【請求項1】
板状の単セルを厚さ方向に複数積層したセル積層体を前記厚さ方向で挟む一対のエンドプレートのうちの一方である第一エンドプレートと、
前記第一エンドプレートに取り付けられた筒状の配管部材と、
を備えるスタックマニホールドであって、
前記配管部材は、熱可塑性樹脂製であり、
前記第一エンドプレートは、
熱可塑性樹脂とは異なる高強度材料製であり、前記セル積層体に流体の流通する通路として形成された流通孔に連絡し前記厚さ方向に貫通する貫通孔が設けられたプレート本体と、
熱可塑性樹脂製であり、前記プレート本体に一体化された樹脂部と、
を有し、
前記樹脂部は、前記プレート本体における前記貫通孔の内周面を被覆する筒状の被覆部を有し、
前記被覆部は、
前記厚さ方向に延び、前記プレート本体における前記貫通孔の内周面に接するように配置された筒状部と、
前記プレート本体における前記厚さ方向の外端から前記厚さ方向の外側に露出し、前記筒状部における前記厚さ方向の端部から径方向外方に延び、前記厚さ方向の外端面に前記配管部材が接するフランジ部と、
を有し、
前記プレート本体及び前記被覆部は、前記フランジ部の径方向外端部が前記厚さ方向の外側に変形するのを規制する規制構造を有する、スタックマニホールド。
続きを表示(約 510 文字)
【請求項2】
前記規制構造は、
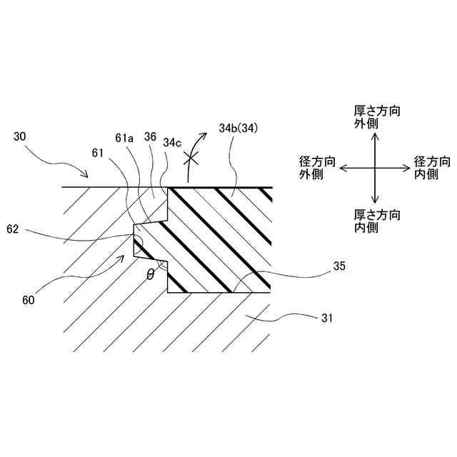
前記被覆部における前記フランジ部の径方向外端面に形成され、前記フランジ部の径方向外端面における前記厚さ方向の外端よりも内側の箇所から径方向外方に突出する凸部と、
前記プレート本体に前記凸部に対応して凹状に形成された凹部と、
を有する、請求項1に記載されたスタックマニホールド。
【請求項3】
前記凸部及び前記凹部はそれぞれ、前記貫通孔回りの全周に亘って環状に形成されている、請求項2に記載されたスタックマニホールド。
【請求項4】
互いに連続する前記凸部の周方向端面と前記フランジ部の径方向外端面とがなす角度θは、90°<θ≦165°を満たす、請求項2又は3に記載されたスタックマニホールド。
【請求項5】
前記プレート本体は、
切削加工され、前記樹脂部が一体化される部位として線状に延びるアンダーカット部と、
切削加工により前記アンダーカット部を成形する加工刃具を前記アンダーカット部の成形時に出し入れするための逃がし部と、
を有する、請求項1に記載されたスタックマニホールド。
発明の詳細な説明
【技術分野】
【0001】
本発明は、例えば燃料電池スタックに用いられるスタックマニホールドに関する。
続きを表示(約 2,100 文字)
【背景技術】
【0002】
従来、燃料電池スタックに用いられるスタックマニホールドが知られている(例えば、特許文献1及び2)。かかるスタックマニホールドは、セル積層体を厚さ方向で挟む一対のエンドプレートのうちの一方である第一エンドプレートを備えている。この第一エンドプレートは、板状の金属プレートと、金属プレートの厚さ方向の端面に設けられる樹脂部と、を有している。金属プレートには、厚さ方向に貫通する複数の貫通孔が形成されている。また、樹脂部は、金属プレートにおける貫通孔の内周面を被覆している。
【0003】
特許文献1記載のスタックマニホールドでは、金属プレートが金型にセットされた後にその金型内に樹脂が射出されることにより、金属プレートと樹脂部とが一体化された第一エンドプレートが形成される。また、特許文献2記載のスタックマニホールドでは、第一エンドプレートの樹脂部の成形後の熱収縮に起因してその樹脂部と金属プレートとの間に隙間が生じること(いわゆる、樹脂浮き)を回避させる構造が採用されている。この構造は、樹脂部が、金属プレートにおける貫通孔の内周面に沿って厚さ方向に延びる本体部と、その本体部の厚さ方向外端部から径方向外方に延びるフランジ部と、そのフランジ部の径方向外端部から折り返されて厚さ方向内側に向けて延びる折り返し部と、を有するものである。
【先行技術文献】
【特許文献】
【0004】
特許第6657974号公報
特許第6776969号公報
【発明の概要】
【発明が解決しようとする課題】
【0005】
しかしながら、上記した特許文献2記載のスタックマニホールドの構造では、エンドプレートのフランジ部の径方向外端部から厚さ方向内側に向けて延びる折り返し部が設けられているだけである。このため、上記の如く樹脂部の成形後に熱収縮が生じることにより、樹脂部のフランジ部に厚さ方向外側に変形させる力が作用したときに、その力によって折り返し部が金属プレートの凹溝部から厚さ方向に移動することが容易であるので、そのフランジ部の変形を十分に規制することが難しく、エンドプレートにおいて熱収縮に伴う樹脂浮きが生じるおそれがあった。
【0006】
本発明は、このような点に鑑みてなされたものであり、エンドプレートにおける樹脂浮きの発生を防止することが可能なスタックマニホールドを提供することを目的とする。
【課題を解決するための手段】
【0007】
本発明の一態様は、板状の単セルを厚さ方向に複数積層したセル積層体を前記厚さ方向で挟む一対のエンドプレートのうちの一方である第一エンドプレートと、前記第一エンドプレートに取り付けられる筒状の配管部材と、を備えるスタックマニホールドであって、前記配管部材は、熱可塑性樹脂製であり、前記第一エンドプレートは、熱可塑性樹脂とは異なる高強度材料製であり、前記セル積層体に流体の流通する通路として形成された流通孔に連絡し前記厚さ方向に貫通する貫通孔が設けられたプレート本体と、熱可塑性樹脂製であり、前記プレート本体に一体化された樹脂部と、を有し、前記樹脂部は、前記プレート本体における前記貫通孔の内周面を被覆する筒状の被覆部を有し、前記被覆部は、前記厚さ方向に延び、前記プレート本体における前記貫通孔の内周面に接するように配置された筒状部と、前記プレート本体における前記厚さ方向の外端から前記厚さ方向の外側に露出し、前記筒状部における前記厚さ方向の端部から径方向外方に延び、前記厚さ方向の外端面に前記配管部材が接するフランジ部と、を有し、前記プレート本体及び前記被覆部は、前記フランジ部の径方向外端部が前記厚さ方向の外側に変形するのを規制する規制構造を有する、スタックマニホールドである。
【0008】
この構成によれば、エンドプレートにおける樹脂浮きの発生を防止することができる。
【図面の簡単な説明】
【0009】
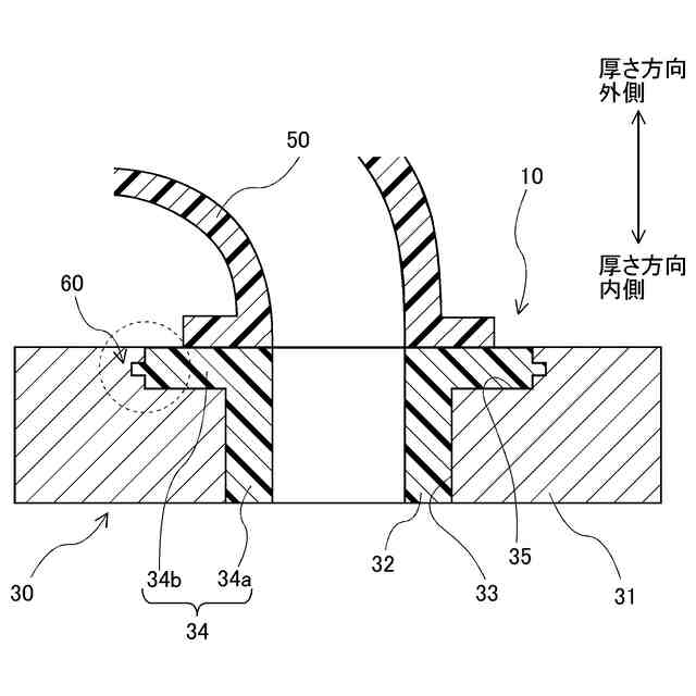
本発明の一実施形態に係るスタックマニホールドを備える燃料電池スタックの斜視図(一部は、分解斜視図)である。
本実施形態のスタックマニホールドの断面図である。
図2に示す破線部分の拡大図である。
本実施形態のスタックマニホールドが有する第一エンドプレートの正面図である。
図4に示すV-V断面図である。
図5に示す破線部分について、プレート本体における逃がし部が無いアンダーカット部の拡大断面図(同図(A))、及び、プレート本体における逃がし部の拡大断面図(同図(B))である。
図4に示す破線部分の拡大図である。
プレート本体を切削加工してアンダーカット部を成形する加工用刃具の構成図である。
本発明の一変形形態に係るスタックマニホールドの断面図である。
【発明を実施するための形態】
【0010】
以下、図1-図9を用いて、本発明に係るスタックマニホールドの具体的な実施形態及び変形形態について説明する。
(【0011】以降は省略されています)
この特許をJ-PlatPat(特許庁公式サイト)で参照する
関連特許
豊田合成株式会社
積層体
15日前
豊田合成株式会社
調光装置
1日前
豊田合成株式会社
調光装置
24日前
豊田合成株式会社
半導体素子
1日前
豊田合成株式会社
車両用外装品
9日前
豊田合成株式会社
車両用外装品
11日前
豊田合成株式会社
乗員保護装置
11日前
豊田合成株式会社
検知システム
10日前
豊田合成株式会社
車両用ビーム
10日前
豊田合成株式会社
車両用ビーム
10日前
豊田合成株式会社
乗員保護装置
1か月前
豊田合成株式会社
車両用投影装置
17日前
豊田合成株式会社
車両用照明装置
17日前
豊田合成株式会社
車両用投影装置
11日前
豊田合成株式会社
エアバッグ装置
1か月前
豊田合成株式会社
車両用発光装置
1日前
豊田合成株式会社
車両用発光装置
1日前
豊田合成株式会社
車両用発光装置
1日前
豊田合成株式会社
車両画像投影装置
15日前
豊田合成株式会社
車両の音出力装置
17日前
豊田合成株式会社
車内照明システム
1日前
豊田合成株式会社
空調用レジスター
11日前
豊田合成株式会社
車両の前部構造体
24日前
豊田合成株式会社
車内照明システム
1日前
豊田合成株式会社
ステアリング装置
1か月前
豊田合成株式会社
ステアリング装置
1か月前
豊田合成株式会社
車両用空調ダクト
10日前
豊田合成株式会社
ステアリング装置
1か月前
豊田合成株式会社
コンテンツ体験装置
1か月前
豊田合成株式会社
モーションレジスタ
11日前
豊田合成株式会社
車両用体験システム
1か月前
豊田合成株式会社
車両用カップホルダ
16日前
豊田合成株式会社
車内用発光表示装置
15日前
豊田合成株式会社
車両用リッド開閉装置
1か月前
豊田合成株式会社
助手席用乗員保護装置
1か月前
豊田合成株式会社
車両用非接触充電装置
1日前
続きを見る
他の特許を見る