TOP
|
特許
|
意匠
|
商標
特許ウォッチ
Twitter
他の特許を見る
10個以上の画像は省略されています。
公開番号
2025146308
公報種別
公開特許公報(A)
公開日
2025-10-03
出願番号
2024047003
出願日
2024-03-22
発明の名称
胃瘻カテーテルキット及び接続チューブ
出願人
SBカワスミ株式会社
,
住友ベークライト株式会社
代理人
個人
主分類
A61J
15/00 20060101AFI20250926BHJP(医学または獣医学;衛生学)
要約
【課題】胃瘻カテーテルが胃内に留置された状態をより確実に維持することが可能な胃瘻カテーテルキット及び接続チューブを提供する。
【解決手段】胃瘻カテーテルキット300は、胃瘻カテーテル100と、胃瘻カテーテル100に対して脱着可能に連結されるチューブ200と、を備え、チューブ200のコネクタ210が胃瘻カテーテル100の体表当接部20に対して装着された状態で、コネクタ210においてシャフト10の軸中心上に位置する部位がシャフト10の軸方向に引っ張られたときには、体表当接部20からの当該コネクタ210の離脱が規制され、コネクタ210においてシャフト10の軸中心からオフセットした部位が、そのオフセット方向とシャフト10の軸方向とを合成した方向に引っ張られたときには、当該コネクタ210が体表当接部20から離脱する。
【選択図】図7
特許請求の範囲
【請求項1】
胃瘻カテーテルと、前記胃瘻カテーテルに対して脱着可能に連結されるチューブと、を備える胃瘻カテーテルキットであって、
前記胃瘻カテーテルは、ルーメンが形成されているシャフトと、前記シャフトの一端部に設けられている体表当接部と、を有し、
前記チューブは、長尺なチューブ本体と、前記チューブ本体の一端に設けられていて前記体表当接部に対して脱着可能に装着されるコネクタと、を有し、
前記コネクタが前記体表当接部に対して装着された状態で、
前記コネクタにおいて前記シャフトの軸中心上に位置する部位が前記シャフトの軸方向に引っ張られたときには、前記体表当接部からの当該コネクタの離脱が規制され、
前記コネクタにおいて前記シャフトの軸中心からオフセットした部位が、そのオフセット方向と前記シャフトの軸方向とを合成した方向に引っ張られたときには、当該コネクタが前記体表当接部から離脱する胃瘻カテーテルキット。
続きを表示(約 1,300 文字)
【請求項2】
前記コネクタは、コネクタ本体と、それぞれ前記コネクタ本体から突出していて前記体表当接部に対して係合する一対の爪部と、を有し、
前記体表当接部は、前記シャフトの軸周りにおいて互いに離間して配置されていてそれぞれ前記一対の爪部が1つずつ係合する一対の被係合部を有し、
前記一対の爪部のうちの一方の爪部と前記被係合部との係合力が、前記一対の爪部のうちの他方の爪部と前記被係合部との係合力よりも小さい請求項1に記載の胃瘻カテーテルキット。
【請求項3】
前記一対の爪部の各々は、前記コネクタ本体から前記シャフトの軸方向のうち体表側に向けて突出している基部と、前記基部から前記シャフトの軸中心側に向けて突出している先端部と、を有し、
前記一方の爪部の前記基部からの前記先端部の突出長が、前記他方の爪部の前記基部からの前記先端部の突出長よりも小さい請求項2に記載の胃瘻カテーテルキット。
【請求項4】
前記基部における前記シャフトの軸中心側の面である第1面と、前記先端部における前記コネクタ本体側の面である第2面と、が互いに直交しているとともに折れ線状に交差している請求項3に記載の胃瘻カテーテルキット。
【請求項5】
ルーメンが形成されているシャフトと前記シャフトの一端部に設けられている体表当接部とを有する胃瘻カテーテルの前記体表当接部に対して脱着可能に連結して用いられる接続チューブであって、
長尺なチューブ本体と、
前記チューブ本体の一端に設けられていて前記体表当接部に対して脱着可能に装着されるコネクタと、
を有し、
前記コネクタが前記体表当接部に対して装着された状態で、
前記コネクタにおいて前記シャフトの軸中心上に位置する部位が前記シャフトの軸方向に引っ張られたときには、前記体表当接部からの当該コネクタの離脱が規制され、
前記コネクタにおいて前記シャフトの軸中心からオフセットした部位が、そのオフセット方向と前記シャフトの軸方向とを合成した方向に引っ張られたときには、当該コネクタが前記体表当接部から離脱する接続チューブ。
【請求項6】
ルーメンが形成されているシャフトと前記シャフトの一端部に設けられている体表当接部とを有する胃瘻カテーテルの前記体表当接部に対して脱着可能に連結して用いられる接続チューブであって、
長尺なチューブ本体と、
前記チューブ本体の一端に設けられていて前記体表当接部に対して脱着可能に装着されるコネクタと、
を有し、
前記コネクタは、
コネクタ本体と、
前記コネクタ本体から突出している管状部と、
前記コネクタ本体から突出している一対の爪部と、
を有し、
前記一対の爪部の各々は、前記コネクタ本体から前記管状部の突出方向と同方向に突出している基部と、前記基部から前記管状部側に向けて突出している先端部と、を有し、
前記一対の爪部のうちの一方の爪部の前記基部からの前記先端部の突出長が、前記一対の爪部のうちの他方の爪部の前記基部からの前記先端部の突出長よりも小さい接続チューブ。
発明の詳細な説明
【技術分野】
【0001】
本発明は、胃瘻カテーテルキット及び接続チューブに関する。
続きを表示(約 3,400 文字)
【背景技術】
【0002】
胃瘻カテーテルキットとしては、例えば、特許文献1に記載のものがある。特許文献1の胃瘻カテーテルは、ルーメンが形成されているシャフトと、シャフトの一端部に設けられている体表当接部(同文献には、体表部と記載)と、を有し、チューブは、長尺なチューブ本体と、チューブ本体の一端に設けられていて体表当接部に対して脱着可能に装着されるコネクタと、を有し、コネクタは、体表当接部に係脱可能なフック部を有し、フック部は、体表当接部の一部を上下に挟持することによって係合する。
【先行技術文献】
【特許文献】
【0003】
特開2020―188846号公報
【発明の概要】
【発明が解決しようとする課題】
【0004】
本願発明者の検討によれば、特許文献1の胃瘻カテーテルキットは、胃瘻カテーテルが胃内に留置された状態をより確実に維持するための構造に関して、なお改善の余地がある。
【0005】
本発明は、上記の課題に鑑みてなされたものであり、胃瘻カテーテルが胃内に留置された状態をより確実に維持することが可能な構造の胃瘻カテーテルキット及び接続チューブを提供するものである。
【課題を解決するための手段】
【0006】
本発明によれば、胃瘻カテーテルと、前記胃瘻カテーテルに対して脱着可能に連結されるチューブと、を備える胃瘻カテーテルキットであって、
前記胃瘻カテーテルは、ルーメンが形成されているシャフトと、前記シャフトの一端部に設けられている体表当接部と、を有し、
前記チューブは、長尺なチューブ本体と、前記チューブ本体の一端に設けられていて前記体表当接部に対して脱着可能に装着されるコネクタと、を有し、
前記コネクタが前記体表当接部に対して装着された状態で、
前記コネクタにおいて前記シャフトの軸中心上に位置する部位が前記シャフトの軸方向に引っ張られたときには、前記体表当接部からの当該コネクタの離脱が規制され、
前記コネクタにおいて前記シャフトの軸中心からオフセットした部位が、そのオフセット方向と前記シャフトの軸方向とを合成した方向に引っ張られたときには、当該コネクタが前記体表当接部から離脱する胃瘻カテーテルキットが提供される。
【0007】
また、本発明によれば、ルーメンが形成されているシャフトと前記シャフトの一端部に設けられている体表当接部とを有する胃瘻カテーテルの前記体表当接部に対して脱着可能に連結して用いられる接続チューブであって、
長尺なチューブ本体と、
前記チューブ本体の一端に設けられていて前記体表当接部に対して脱着可能に装着されるコネクタと、
を有し、
前記コネクタが前記体表当接部に対して装着された状態で、
前記コネクタにおいて前記シャフトの軸中心上に位置する部位が前記シャフトの軸方向に引っ張られたときには、前記体表当接部からの当該コネクタの離脱が規制され、
前記コネクタにおいて前記シャフトの軸中心からオフセットした部位が、そのオフセット方向と前記シャフトの軸方向とを合成した方向に引っ張られたときには、当該コネクタが前記体表当接部から離脱する接続チューブが提供される。
【0008】
また、本発明によれば、ルーメンが形成されているシャフトと前記シャフトの一端部に設けられている体表当接部とを有する胃瘻カテーテルの前記体表当接部に対して脱着可能に連結して用いられる接続チューブであって、
長尺なチューブ本体と、
前記チューブ本体の一端に設けられていて前記体表当接部に対して脱着可能に装着されるコネクタと、
を有し、
前記コネクタは、
コネクタ本体と、
前記コネクタ本体から突出している管状部と、
前記コネクタ本体から突出している一対の爪部と、
を有し、
前記一対の爪部の各々は、前記コネクタ本体から前記管状部の突出方向と同方向に突出している基部と、前記基部から前記管状部側に向けて突出している先端部と、を有し、
前記一対の爪部のうちの一方の爪部の前記基部からの前記先端部の突出長が、前記一対の爪部のうちの他方の爪部の前記基部からの前記先端部の突出長よりも小さい接続チューブが提供される。
【発明の効果】
【0009】
本発明によれば、胃瘻カテーテルが胃内に留置された状態をより確実に維持することができる。
【図面の簡単な説明】
【0010】
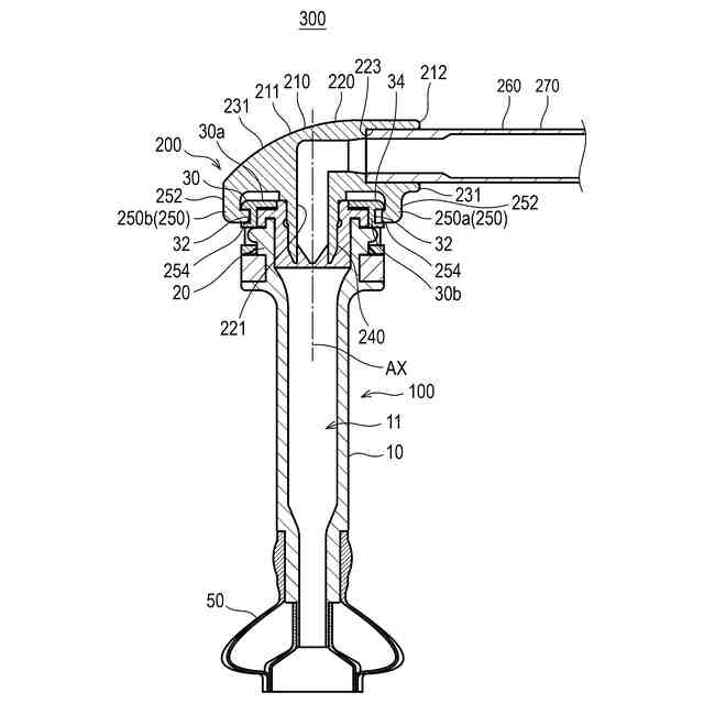
第1実施形態に係る胃瘻カテーテルキットの縦断面図であり、コネクタが体表当接部に対して連結された状態を示す。
第1実施形態に係る胃瘻カテーテルキットの縦断面図であり、コネクタが体表当接部に対して連結される前の状態を示す。
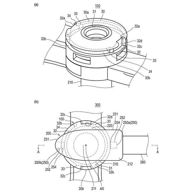
図3(a)及び図3(b)は第1実施形態における胃瘻カテーテルの被係合部とその周辺構造を示す図であり、このうち図3(a)は斜視図であり、図3(b)は平面図である。
図4(a)、図4(b)及び図4(c)は第1実施形態におけるコネクタを示す図であり、このうち図4(a)は斜視図、図4(b)は底面図、図4(c)は側面図である。
図5(a)及び図5(b)は第1実施形態におけるコネクタ及び胃瘻カテーテルの被係合部とその周辺構造を示す側面図であり、このうち図5(a)はコネクタが体表当接部に対して連結される前の状態を示し、図5(b)は図5(a)に示す状態からコネクタが体表当接部に対して連結された状態を示す。
図6(a)は第1実施形態における一方の爪部及びその周辺構造を示す縦断面図であり、図6(b)は他方の爪部及びその周辺構造を示す縦断面図である。
図7(a)は第1実施形態における体表当接部が体表に対して留置されているとともに、コネクタが体表当接部に装着されている状態を示し、図7(b)は図7(a)に示す状態から、コネクタにおいてシャフトの軸中心からオフセットした部位が、そのオフセット方向とシャフトの軸方向とを合成した方向に引っ張られた状態を示す。
図8(a)は第1実施形態における体表当接部が体表に対して留置されているとともに、コネクタが体表当接部に装着されている状態を示す側面図であり、図8(b)は図8(a)に示す状態からチューブが水平方向に引っ張られ伸長部が伸長している状態を示す側面図である。
図9(a)は第1実施形態の変形例における体表当接部が体表に対して留置されているとともに、コネクタが体表当接部に装着されている状態を示す側面図である、図9(b)は図9(a)に示す状態からチューブが水平方向に引っ張られ伸長部が伸長している状態を示す側面図である。
図10(a)は第2実施形態における体表当接部が体表に対して留置されているとともに、コネクタが体表当接部に装着されている状態を示す平面図であり、図10(b)は図10(a)に示す状態からチューブが水平方向に引っ張られ伸長部が伸長している状態を示す平面図である。
図11(a)は第3実施形態における体表当接部が体表に対して留置されているとともに、コネクタが体表当接部に装着されている状態を示す平面図であり、図11(b)は図11(a)に示す状態からチューブが水平方向に引っ張られ伸長部が伸長している状態を示す平面図である。
図12(a)は第4実施形態における体表当接部が体表に対して留置されているとともに、コネクタが体表当接部に装着されている状態を示す平面図であり、図12(b)は図12(a)に示す状態からチューブが水平方向に引っ張られ第1伸長部が伸長している状態を示す平面図であり、図12(c)は図12(b)に示す状態からチューブが更に水平方向に引っ張られ第2伸長部が伸長している状態を示す平面図である。
【発明を実施するための形態】
(【0011】以降は省略されています)
この特許をJ-PlatPat(特許庁公式サイト)で参照する
関連特許
SBカワスミ株式会社
カテーテル
15日前
SBカワスミ株式会社
胃瘻カテーテルキット及び接続チューブ
11日前
SBカワスミ株式会社
胃瘻カテーテルキット及び接続チューブ
11日前
SBカワスミ株式会社
胃瘻カテーテル、及び、カプセルカバー
11日前
SBカワスミ株式会社
胃瘻カテーテル、及び、カプセルカバー
11日前
SBカワスミ株式会社
管状留置具および管状留置具の製造方法
18日前
SBカワスミ株式会社
ステント接続構造
14日前
個人
健康器具
7か月前
個人
歯茎みが品
8か月前
個人
短下肢装具
2か月前
個人
鼾防止用具
7か月前
個人
導電香
8か月前
個人
前腕誘導装置
2か月前
個人
嚥下鍛錬装置
3か月前
個人
脈波測定方法
7か月前
個人
洗井間専家。
6か月前
個人
白内障治療法
7か月前
個人
脈波測定方法
8か月前
個人
マッサージ機
8か月前
個人
排尿補助器具
今日
個人
矯正椅子
4か月前
個人
ホバーアイロン
6か月前
個人
胸骨圧迫補助具
1か月前
個人
片足歩行支援具
9か月前
個人
アイマスク装置
1か月前
個人
クリップ
9か月前
個人
汚れ防止シート
15日前
個人
バッグ式オムツ
3か月前
個人
歯の修復用材料
3か月前
個人
陣痛緩和具
3か月前
個人
口内洗浄具
8か月前
個人
湿布連続貼り機。
1か月前
個人
歯の保護用シール
4か月前
個人
哺乳瓶冷まし容器
2か月前
個人
車椅子持ち上げ器
7か月前
個人
眼科診療車
9か月前
続きを見る
他の特許を見る