TOP
|
特許
|
意匠
|
商標
特許ウォッチ
Twitter
他の特許を見る
10個以上の画像は省略されています。
公開番号
2025146307
公報種別
公開特許公報(A)
公開日
2025-10-03
出願番号
2024047002
出願日
2024-03-22
発明の名称
胃瘻カテーテル、及び、カプセルカバー
出願人
SBカワスミ株式会社
,
住友ベークライト株式会社
代理人
個人
主分類
A61J
15/00 20060101AFI20250926BHJP(医学または獣医学;衛生学)
要約
【課題】カプセルカバーによって胃瘻シースをよりスムーズに裂くことが可能な胃瘻カテーテルを提供する。
【解決手段】胃瘻カテーテル100は、ルーメン11が設けられたシャフト10と体表当接部とを有するカテーテル本体1と、シャフト10の下端部に設けられていて胃内で拡張するバンパ50と、バンパ50を収縮状態に維持させるカプセルカバー70と、を備え、留置の際にカプセルカバー70がカテーテル本体1から離脱しバンパ50が拡張し、カプセルカバー70の外形の横断面形状が多角形状であり、その外形は、多角形状の角部75において外側に膨出している。
【選択図】図1
特許請求の範囲
【請求項1】
ルーメンが設けられたシャフトと体表当接部とを有するカテーテル本体と、前記シャフトの下端部に設けられていて胃内で拡張するバンパと、前記バンパを収縮状態に維持させるカプセルカバーと、を備え、留置の際に前記カプセルカバーが前記カテーテル本体から離脱し前記バンパが拡張する胃瘻カテーテルであって、
前記カプセルカバーの外形の横断面形状が多角形状であり、
前記外形は、前記多角形状の角部において外側に膨出している胃瘻カテーテル。
続きを表示(約 360 文字)
【請求項2】
前記カプセルカバーの肉厚は、前記角部において最も大きい請求項1に記載の胃瘻カテーテル。
【請求項3】
前記カプセルカバーの内腔の横断面形状が円形である請求項1又は2に記載の胃瘻カテーテル。
【請求項4】
ルーメンが設けられたシャフトと体表当接部とを有するカテーテル本体と、前記シャフトの下端部に設けられていて胃内で拡張するバンパと、前記バンパを収縮状態に維持させるカプセルカバーと、を備え、留置の際に前記カプセルカバーが前記カテーテル本体から離脱し前記バンパが拡張する胃瘻カテーテルの前記カプセルカバーであって、
当該カプセルカバーの外形の横断面形状が多角形状であり、
前記外形は、前記多角形状の角部において外側に膨出しているカプセルカバー。
発明の詳細な説明
【技術分野】
【0001】
本発明は、胃瘻カテーテル、及び、カプセルカバーに関する。
続きを表示(約 2,300 文字)
【背景技術】
【0002】
胃瘻カテーテルとしては、例えば、特許文献1に記載のものがある。特許文献1の胃瘻カテーテルは、ルーメンが設けられたシャフトと体表当接部とを有するカテーテル本体と、シャフトの下端部に設けられていて胃内で拡張するバンパと、バンパを収縮状態に維持させるカプセルカバーと、を備え、留置の際にカプセルカバーがカテーテル本体から離脱しバンパが拡張し、カプセルカバーの外形の横断面形状は円形状である。
胃瘻カテーテルを留置する際には、胃瘻カテーテルのカプセルカバー及びシャフトの下端部は、先立って瘻孔に設置される胃瘻シースを裂きながら、当該胃瘻シースひいては瘻孔を貫通し胃内に挿入される。
【先行技術文献】
【特許文献】
【0003】
特開2019-98146号公報
【発明の概要】
【発明が解決しようとする課題】
【0004】
本願発明者の検討によれば、特許文献1の胃瘻カテーテルは、カプセルカバーによって胃瘻シースをよりスムーズに裂く構成について、なお改善の余地がある。
【0005】
本発明は、上記の課題に鑑みてなされたものであり、カプセルカバーによって胃瘻シースをよりスムーズに裂くことが可能な胃瘻カテーテル、及び、カプセルカバーを提供するものである。
【課題を解決するための手段】
【0006】
本発明によれば、ルーメンが設けられたシャフトと体表当接部とを有するカテーテル本体と、前記シャフトの下端部に設けられていて胃内で拡張するバンパと、前記バンパを収縮状態に維持させるカプセルカバーと、を備え、留置の際に前記カプセルカバーが前記カテーテル本体から離脱し前記バンパが拡張する胃瘻カテーテルであって、前記カプセルカバーの外形の横断面形状が多角形状であり、前記外形は、前記多角形状の角部において外側に膨出している胃瘻カテーテルが提供される。
【0007】
また、本発明によれば、ルーメンが設けられたシャフトと体表当接部とを有するカテーテル本体と、前記シャフトの下端部に設けられていて胃内で拡張するバンパと、前記バンパを収縮状態に維持させるカプセルカバーと、を備え、留置の際に前記カプセルカバーが前記カテーテル本体から離脱し前記バンパが拡張する胃瘻カテーテルの前記カプセルカバーであって、
当該カプセルカバーの外形の横断面形状が多角形状であり、
前記外形は、前記多角形状の角部において外側に膨出しているカプセルカバーが提供される。
【発明の効果】
【0008】
本発明によれば、カプセルカバーによって胃瘻シースをよりスムーズに裂くことが可能となる。
【図面の簡単な説明】
【0009】
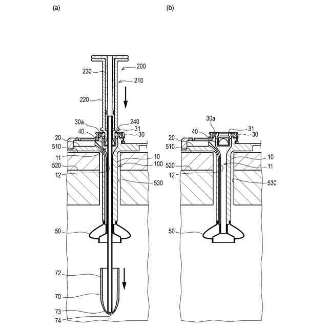
実施形態に係る胃瘻カテーテルの斜視図である。
実施形態に係る胃瘻カテーテルの縦断面図である。
図3(a)は実施形態における胃瘻シースの斜視図であり、図3(b)は実施形態における胃瘻シースの縦断面図である。
実施形態に係る胃瘻カテーテル及び胃瘻シースを示す図であり、このうち胃瘻カテーテルを正面図、胃瘻シースを斜視図で示す。
実施形態におけるカプセルカバーが胃瘻シースに押し込まれた状態を示す。
実施形態に係る胃瘻カテーテルを留置する際の動作を説明するための図であり、瘻孔に設置された胃瘻シースに胃瘻カテーテルが挿入される前の状態を示す。
実施形態係る胃瘻カテーテルを留置する際の動作を説明するための図であり、オブチュレータが装着された胃瘻カテーテルが瘻孔に挿入された状態を示す。
図8(a)及び図8(b)は実施形態に係る胃瘻カテーテルを留置する際を説明するための図であり、このうち図8(a)は内管部が外管部に対して相対的に下方に押し込まれた状態を示し、図8(b)はオブチュレータが胃瘻カテーテルから抜去された状態を示す。
実施形態におけるカプセルカバーの斜視図である。
実施形態におけるカプセルカバーの横断面図である。
図11(a)及び図11(b)は実施形態におけるカプセルカバーの平面図であり、このうち図11(a)においては仮想的な複数の外接線を二点鎖線で示し、図11(b)においては仮想的な正多角形を二点鎖線で示す。
【発明を実施するための形態】
【0010】
以下、本発明の各実施形態について、図面を用いて説明する。なお、すべての図面において、同様の構成要素には同一の符号を付し、適宜に説明を省略する。なお、図2、図6~図8(b)は、シャフト10の軸方向に沿った断面図である。また、図3(b)は、胃瘻シース300の軸方向に沿った断面図である。
また、本発明の胃瘻カテーテル100の各種の構成要素は、個々に独立した存在である必要はない。複数の構成要素が一個の部材として形成されていること、一つの構成要素が複数の部材で形成されていること、ある構成要素が他の構成要素の一部であること、ある構成要素の一部と他の構成要素の一部とが重複していること、等を許容する。
また、以下の説明では、図2における下方向が下方、上方向が上方であるものとする。また、シャフト10の軸方向を単に軸方向と称し、シャフト10の径方向を単に径方向と称する場合がある。更に、シャフト10の周方向を単に周方向と称する場合がある。
(【0011】以降は省略されています)
この特許をJ-PlatPat(特許庁公式サイト)で参照する
関連特許
SBカワスミ株式会社
カテーテル
15日前
SBカワスミ株式会社
カバードステント
27日前
SBカワスミ株式会社
胃瘻カテーテルキット及び接続チューブ
11日前
SBカワスミ株式会社
胃瘻カテーテルキット及び接続チューブ
11日前
SBカワスミ株式会社
胃瘻カテーテル、及び、カプセルカバー
11日前
SBカワスミ株式会社
胃瘻カテーテル、及び、カプセルカバー
11日前
SBカワスミ株式会社
管状留置具および管状留置具の製造方法
18日前
SBカワスミ株式会社
ステント接続構造
14日前
個人
健康器具
7か月前
個人
鼾防止用具
7か月前
個人
短下肢装具
2か月前
個人
脈波測定方法
7か月前
個人
排尿補助器具
今日
個人
前腕誘導装置
2か月前
個人
白内障治療法
7か月前
個人
洗井間専家。
6か月前
個人
嚥下鍛錬装置
3か月前
個人
バッグ式オムツ
3か月前
個人
汚れ防止シート
15日前
個人
矯正椅子
4か月前
個人
アイマスク装置
1か月前
個人
ホバーアイロン
6か月前
個人
歯の修復用材料
3か月前
個人
胸骨圧迫補助具
1か月前
個人
車椅子持ち上げ器
7か月前
個人
シャンプー
5か月前
個人
歯の保護用シール
4か月前
個人
哺乳瓶冷まし容器
2か月前
三生医薬株式会社
錠剤
7か月前
個人
陣痛緩和具
3か月前
個人
湿布連続貼り機。
1か月前
個人
治療用酸化防御装置
1か月前
株式会社大野
骨壷
3か月前
個人
服薬支援装置
6か月前
個人
エア誘導コルセット
1か月前
個人
性行為補助具
2か月前
続きを見る
他の特許を見る