TOP
|
特許
|
意匠
|
商標
特許ウォッチ
Twitter
他の特許を見る
公開番号
2025134235
公報種別
公開特許公報(A)
公開日
2025-09-17
出願番号
2024032009
出願日
2024-03-04
発明の名称
カバードステント
出願人
SBカワスミ株式会社
,
住友ベークライト株式会社
代理人
個人
,
個人
,
個人
,
個人
主分類
A61F
2/07 20130101AFI20250909BHJP(医学または獣医学;衛生学)
要約
【課題】留置装置のシースとの摩擦で被膜に破れ、亀裂、ピンホールなどが生じにくいカバードステントを提供する。
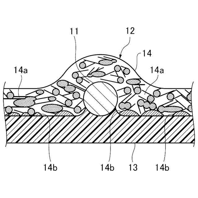
【解決手段】生体管腔に留置されるカバードステント1は、径方向に拡縮自在及び長軸方向に伸縮自在な筒状の骨格部11と、骨格部11を筒状に被覆する被覆部12と、を備える。被覆部12は、薄膜状の構造を有し、骨格部11を内周から被覆する第1層13と、エレクトロスピニング法で第1層13の外周側に積層して形成された不織布状の構造を有し、第1層13の外周面と溶着されて骨格部11を外周から被覆する第2層14と、を有する。第1層13は、第2層14よりも透液性が低く、第2層14は、第1層13よりも破断伸度が低く、第1層13よりも破断強度が高い。
【選択図】図5
特許請求の範囲
【請求項1】
生体管腔に留置されるカバードステントであって、
径方向に拡縮自在及び長軸方向に伸縮自在な筒状の骨格部と、
前記骨格部を筒状に被覆する被覆部と、を備え、
前記被覆部は、
薄膜状の構造を有し、前記骨格部を内周から被覆する第1層と、
エレクトロスピニング法で前記第1層の外周側に積層して形成された不織布状の構造を有し、前記第1層の外周面と溶着されて前記骨格部を外周から被覆する第2層と、を有し、
前記第1層は、前記第2層よりも透液性が低く、
前記第2層は、前記第1層よりも破断伸度が低く、前記第1層よりも破断強度が高い
カバードステント。
続きを表示(約 630 文字)
【請求項2】
前記第2層は、前記エレクトロスピニング法の残存溶媒を介して前記第1層の外周面と溶着される
請求項1に記載のカバードステント。
【請求項3】
前記第1層は、ディッピング法で形成される薄膜である
請求項2に記載のカバードステント。
【請求項4】
前記第1層および前記第2層の材料は、ポリフッ化ビニリデン、ウレタン、シリコーンからそれぞれ選択される
請求項1から請求項3のいずれか一項に記載のカバードステント。
【請求項5】
前記第1層の破断伸度は400%以上1000%未満の範囲であり、
前記第2層の破断伸度は300%以上400%未満の範囲である
請求項1から請求項3のいずれか一項に記載のカバードステント。
【請求項6】
前記第2層の前記不織布状の構造を形成する繊維の繊維径は、500nm以上1500nm以下である
請求項1から請求項3のいずれか一項に記載のカバードステント。
【請求項7】
前記第2層の厚さは、10μm以上20μm以下である
請求項1から請求項3のいずれか一項に記載のカバードステント。
【請求項8】
前記被覆部は、内圧が200mmH
2
O以下であるときの透液性が0である
請求項1から請求項3のいずれか一項に記載のカバードステント。
発明の詳細な説明
【技術分野】
【0001】
本発明は、カバードステントに関する。
続きを表示(約 1,300 文字)
【背景技術】
【0002】
従来、血管、胆管、消化管などの生体管腔に生じた狭窄部又は閉塞部に留置され、病変部位を拡径して生体管腔の開存状態を維持するステントが知られている。一般に、ステントは、カテーテルなどの留置装置を用いて留置目標部位まで送達される。留置装置は、ステントを径方向に収縮させた状態で患部に運び、患部にてステントを径方向に拡張させることで、ステントを患部に留置させる。
【0003】
また、この種のステントの一例として、ステントの内周および/または外周をグラフトなどの被膜で被覆することも提案されている(例えば、特許文献1など)。
【先行技術文献】
【特許文献】
【0004】
特開2014-217487号公報
【発明の概要】
【発明が解決しようとする課題】
【0005】
骨格の隙間が被覆されたカバードステントは、留置装置の装填時や放出時において、留置装置のシースとの摩擦で被膜に破れ、亀裂、ピンホールなどが生じ、液漏れしやすくなる可能性がある。
【0006】
そこで、本発明は上記の状況に鑑みてなされたものであって、留置装置のシースとの摩擦で被膜に破れ、亀裂、ピンホールなどが生じにくいカバードステントを提供することを目的とする。
【課題を解決するための手段】
【0007】
本発明の一態様は、生体管腔に留置されるカバードステントであって、径方向に拡縮自在及び長軸方向に伸縮自在な筒状の骨格部と、骨格部を筒状に被覆する被覆部と、を備える。被覆部は、薄膜状の構造を有し、骨格部を内周から被覆する第1層と、エレクトロスピニング法で第1層の外周側に積層して形成された不織布状の構造を有し、第1層の外周面と溶着されて骨格部を外周から被覆する第2層と、を有する。第1層は、第2層よりも透液性が低く、第2層は、第1層よりも破断伸度が低く、第1層よりも破断強度が高い。
【発明の効果】
【0008】
本発明の一態様によれば、留置装置のシースとの摩擦で被膜に破れ、亀裂、ピンホールなどが生じにくいカバードステントを提供できる。
【図面の簡単な説明】
【0009】
本実施形態のカバードステントの構成例を示す斜視図である。
本実施形態のカバードステントが生体管腔に留置された使用状態を模式的に示す図である。
拡張状態および収縮状態のカバードステントを模式的に示す図である。
(a)は本実施形態のカバードステントの軸方向に沿った断面を示す図であり、(b)は図4(b)のA-A線断面図である。
本実施形態のカバードステントの断面の部分拡大図である。
【発明を実施するための形態】
【0010】
以下、図面を参照しつつ、実施形態に係るカバードステントの構成例について説明する。なお、図面における各部の形状、寸法等は模式的に示したもので、実際の形状や寸法等を示すものではない。
(【0011】以降は省略されています)
この特許をJ-PlatPat(特許庁公式サイト)で参照する
関連特許
SBカワスミ株式会社
カテーテル
14日前
SBカワスミ株式会社
カバードステント
26日前
SBカワスミ株式会社
胃瘻カテーテルキット及び接続チューブ
10日前
SBカワスミ株式会社
胃瘻カテーテルキット及び接続チューブ
10日前
SBカワスミ株式会社
胃瘻カテーテル、及び、カプセルカバー
10日前
SBカワスミ株式会社
胃瘻カテーテル、及び、カプセルカバー
10日前
SBカワスミ株式会社
管状留置具および管状留置具の製造方法
17日前
SBカワスミ株式会社
ステント接続構造
13日前
個人
健康器具
7か月前
個人
鼾防止用具
7か月前
個人
短下肢装具
2か月前
個人
歯茎みが品
8か月前
個人
嚥下鍛錬装置
3か月前
個人
導電香
8か月前
個人
白内障治療法
7か月前
個人
脈波測定方法
7か月前
個人
洗井間専家。
6か月前
個人
マッサージ機
8か月前
個人
脈波測定方法
8か月前
個人
前腕誘導装置
2か月前
個人
胸骨圧迫補助具
1か月前
個人
汚れ防止シート
14日前
個人
片足歩行支援具
9か月前
個人
アイマスク装置
1か月前
個人
ホバーアイロン
6か月前
個人
矯正椅子
4か月前
個人
歯の修復用材料
3か月前
個人
バッグ式オムツ
3か月前
個人
クリップ
8か月前
個人
歯の保護用シール
4か月前
個人
口内洗浄具
8か月前
個人
哺乳瓶冷まし容器
2か月前
個人
車椅子持ち上げ器
7か月前
三生医薬株式会社
錠剤
7か月前
個人
シャンプー
5か月前
個人
湿布連続貼り機。
1か月前
続きを見る
他の特許を見る