TOP
|
特許
|
意匠
|
商標
特許ウォッチ
Twitter
他の特許を見る
公開番号
2025144499
公報種別
公開特許公報(A)
公開日
2025-10-02
出願番号
2024178375
出願日
2024-10-10
発明の名称
セメンタイトの製造方法
出願人
学校法人福岡工業大学
代理人
個人
,
個人
,
個人
主分類
C21B
13/00 20060101AFI20250925BHJP(鉄冶金)
要約
【課題】炭素析出を抑制して長期間にわたり安定してセメンタイトの生成を行うことができるセメンタイトの製造方法を提供する。
【解決手段】鉄源である酸化鉄としてヘマタイト(Fe
2
O
3
)を反応炉に投入すると共に、反応炉に一酸化炭素と二酸化炭素の混合ガスからなる炭化ガスを供給する。そして、炭素活量をac=1~10となるように調整し、炭化ガスとヘマタイトを還元反応させることで、炭素が析出せずにセメンタイト(Fe
3
C)を効率的に長期間生成することができる。
【選択図】図3(a)
特許請求の範囲
【請求項1】
酸化鉄が投入された反応炉内に、炭素活量が1よりも大きく、10以下である炭化ガスとして、少なくとも一酸化炭素、及び、二酸化炭素を含む混合ガスを供給する工程と、
炭化ガスとして一酸化炭素と二酸化炭素を用いた場合の炭素析出が生じる領域である炭素析出領域を示すFe-C-O系の相安定図における、温度が800℃の直線、炭素活量が1と10の曲線、FeとFeOの相境界線、及び、前記炭素析出領域の境界線で囲まれる領域(但し、炭素活量が1の曲線上、及び、前記炭素析出領域の境界線上は含まない)に入るような加熱条件で、前記酸化鉄を加熱してセメンタイトを生成する工程と、を備える
セメンタイトの製造方法。
続きを表示(約 880 文字)
【請求項2】
酸化鉄が投入された反応炉内に、炭素活量が1よりも大きく、10以下である炭化ガスとして、少なくとも一酸化炭素、及び、二酸化炭素を含む混合ガスを供給する工程と、
炭化ガスとして一酸化炭素と二酸化炭素を用いた場合の炭素析出が生じる領域である炭素析出領域を示すFe-C-O系の相安定図における、温度が800℃の直線、炭素活量が1と10の曲線、及び、FeとFeOの相境界線で囲まれる領域であって、前記炭素析出領域を除く前記領域(但し、炭素活量が1の曲線上、及び、前記炭素析出領域の境界線上は含まない)に入るような加熱条件で、前記酸化鉄を加熱してセメンタイトを生成する工程と、を備える
セメンタイトの製造方法。
【請求項3】
高炉から排出される高炉排ガスに一酸化炭素ガスを追加して、または、高炉から排出される高炉排ガスから二酸化炭素を除外して、前記炭化ガスを生成する工程を備える
請求項1または請求項2に記載のセメンタイトの製造方法。
【請求項4】
前記酸化鉄の粒径が1mm未満である
請求項1または請求項2に記載のセメンタイトの製造方法。
【請求項5】
前記酸化鉄はヘマタイトである
請求項1または請求項2に記載のセメンタイトの製造方法。
【請求項6】
前記酸化鉄として、マグネタイトまたはウスタイトを含み、前記マグネタイトまたは前記ウスタイトを酸化してヘマタイトを生成する工程を有する
請求項1または請求項2に記載のセメンタイトの製造方法。
【請求項7】
前記セメンタイトは、0重量%~20重量%の酸化鉄を含む
請求項1または請求項2に記載のセメンタイトの製造方法。
【請求項8】
前記反応炉は流動層式である
請求項1または請求項2に記載のセメンタイトの製造方法。
【請求項9】
前記酸化鉄の粒径が10μm以上である
請求項8に記載のセメンタイトの製造方法。
発明の詳細な説明
【技術分野】
【0001】
本発明は、セメンタイトの製造方法に関する。詳しくは、炭素析出を抑制して長期間にわたり安定してセメンタイトの生成を行うことができるセメンタイトの製造方法に係るものである。
続きを表示(約 1,500 文字)
【背景技術】
【0002】
従来、我が国における鉄鋼生産は高炉-転炉法を主流として発展してきた。しかし現在の日本の鉄鋼業は、近年のCO
2
排出問題、エネルギー問題、及び資源問題への早急な対応を迫られており、CO
2
排出が少なく、エネルギー消費の少ない電炉への変換が求められている。
【0003】
しかしながら、電炉を中心に鉄鋼製造を行っている欧米とは異なり、我が国では高炉-転炉法による高級鋼の生産を中心に技術開発を行ってきたため、電炉に関する技術蓄積、特に大型電炉による高級鋼の製造技術はなく、高炉-転炉法からの電炉への移行には多くの課題を解決する必要がある。
【0004】
電炉による製鋼法の主な鉄原料はスクラップであるが、このスクラップの使用による鉄鋼製造の大きな課題として、スクラップの繰り返し使用によるCuなどの不純物の蓄積がある。そのため、自動車用鋼板などの高級鋼を電炉で製造することは困難であり、電炉による高級鋼の製造には直接還元鉄(DRI)やセメンタイト(Fe
3
C)などの不純物が少ない鉄源を併用し、不純物濃度を低下させる必要がある。
【0005】
前述した鉄源のうちセメンタイトは、不純物が少ないだけでなくエネルギー消費が少なく、また、非発火性のため貯蔵、及び搬送に際してのコストがかからないという利点がある。従って、セメンタイトは電炉による鉄鋼製造において理想的な鉄源とされており、セメンタイトの工業生産のための研究開発が進められている。
【0006】
従来、セメンタイトのパイロットプラント操業での原料としては、メタンを主体とする天然ガスが用いられてきた。しかし、日本国内では天然ガスは産出せず、そのほとんどを輸入に依存しており、セメンタイトの工業的生産の還元原料として天然ガスを用いることはコスト的に非常に不利となる。
【0007】
この点、例えば特許文献1には、水蒸気や酸素含有ガス(空気や酸素ガス)、二酸化炭素ガス、或いはこれら混合ガスからなる還元ガスの存在下で、酸化鉄含有物質と炭素質還元剤を固体接触させた状態で、所定の温度条件下で加熱し、酸化鉄の一部が還元されることによりセメンタイトを生成する製造方法が開示されている。
【先行技術文献】
【特許文献】
【0008】
特開2012-57202号公報
【発明の概要】
【発明が解決しようとする課題】
【0009】
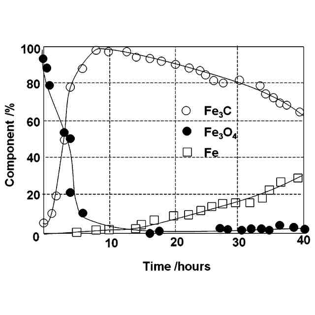
ところで、セメンタイトは熱力学的に不安定な準安定物質であるため、セメンタイトの生成に用いられる還元ガスの炭素活量(ac)は1より大きく設定する必要がある。このことは、必然的にセメンタイトの製造過程において、常に炭素が析出する可能性があることを示しているが、前記特許文献1に開示の製造方法をはじめ、これまでのセメンタイトの製造においては、セメンタイトの生成速度を早めるために高炭素活量(例えば、ac=2000以上)の還元ガスが使用されていた。
【0010】
このように高炭素活量の還元ガスを使用すると、セメンタイトは早期に生成される一方で、炭素析出も早まる。そして、一旦炭素が析出するとセメンタイトの生成が中断されると共に、既に生成されたセメンタイトの分解も生じるため、その後の操業が困難な状況となり、長期間安定してセメンタイトを生成することができないという課題がある。
(【0011】以降は省略されています)
この特許をJ-PlatPat(特許庁公式サイト)で参照する
関連特許
学校法人福岡工業大学
検体測定装置、及び検体測定方法
29日前
個人
バイオ水素製鉄方法
3か月前
日本製鉄株式会社
転炉精錬方法
8か月前
日本製鉄株式会社
転炉精錬方法
2か月前
NTN株式会社
焼入れ方法
1か月前
日本製鉄株式会社
溶鋼の製造方法
4か月前
日本製鉄株式会社
溶鉄の製造方法
3か月前
日本製鉄株式会社
溶鉄の製造方法
1か月前
富士電子工業株式会社
焼入れ装置
4か月前
中外炉工業株式会社
連続式熱処理炉
6か月前
バイオメッド バレー ディスカバリーズ,インコーポレイティド
C21H22Cl2N4O2の結晶形態
5か月前
中外炉工業株式会社
前処理装置
5か月前
株式会社不二越
熱処理システム
2か月前
日本製鉄株式会社
溶鋼の脱窒処理方法
1か月前
日本製鉄株式会社
溶銑の予備処理方法
5か月前
大同特殊鋼株式会社
浸炭部材の製造方法
5か月前
高周波熱錬株式会社
熱処理方法及び熱処理装置
1か月前
高周波熱錬株式会社
熱処理方法及び熱処理装置
4か月前
東京窯業株式会社
溶鋼処理用の浸漬管
5か月前
日本製鉄株式会社
脱りん方法
6か月前
バイオメッド バレー ディスカバリーズ,インコーポレイティド
結晶性C21H22Cl2N4O2マロン酸塩
2か月前
JFEスチール株式会社
高炉の原料装入方法
3か月前
大同特殊鋼株式会社
熱処理設備
4か月前
JFEスチール株式会社
高炉の原料装入方法
4か月前
日本製鉄株式会社
高炉の操業方法
6か月前
日本製鉄株式会社
高炉の冷却構造
3か月前
日本製鉄株式会社
高炉の操業方法
7か月前
日本製鉄株式会社
高炉の操業方法
6か月前
出光興産株式会社
熱処理油
3か月前
日本製鉄株式会社
鋼の製造方法
5か月前
富士電子工業株式会社
クランクシャフト支持装置
6か月前
日本製鉄株式会社
鋼の製造方法
7か月前
日本製鉄株式会社
鋼の製造方法
3か月前
出光興産株式会社
熱処理油
3か月前
大同特殊鋼株式会社
雰囲気熱処理炉
3か月前
出光興産株式会社
熱処理油
1か月前
続きを見る
他の特許を見る