TOP
|
特許
|
意匠
|
商標
特許ウォッチ
Twitter
他の特許を見る
10個以上の画像は省略されています。
公開番号
2025144488
公報種別
公開特許公報(A)
公開日
2025-10-02
出願番号
2024123041,2024043774
出願日
2024-07-30,2024-03-19
発明の名称
水中設備のメンテナンス方法
出願人
水ing株式会社
,
株式会社富士技研
代理人
個人
,
個人
主分類
E02B
5/00 20060101AFI20250925BHJP(水工;基礎;土砂の移送)
要約
【課題】水中設備の上部にある障害物に干渉しないで水中設備を囲むように止水機構を設置できる水中設備のメンテナンス方法を提供する。
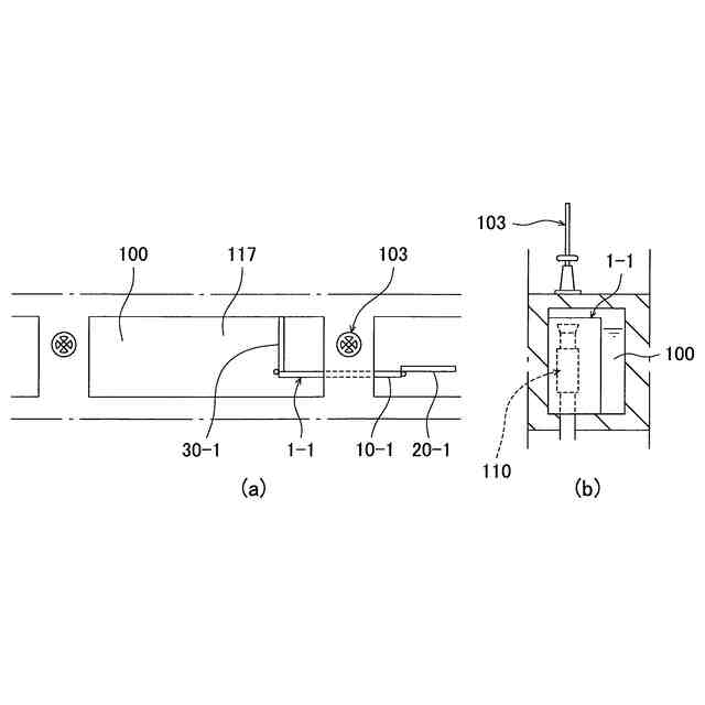
【解決手段】止水構造1-1は背面板10-1と側面板20-1,30-1とを有するコの字型構造である。側面板20-1は背面板10-1に回転自在に接続されている。止水構造1-1を水中設備110の上部を除く位置から水路100内に降下した後、側面板20-1を回転させて開いた状態で止水機構1-1を水中設備110側に向けて移動して水中設備110を囲える位置に配置し、側面板20-1を逆方向に回転させて閉じ、側面板20-1,30-1の先端辺を側壁面100bに当接させ、側面板20-1,30-1と背面板10-1の下辺を水底面100aに当接させる。止水構造1-1と側壁面100bと水底面100aによって囲まれた閉鎖領域S1内の水を排出したドライ空間内で水中設備110をメンテナンスする。
【選択図】図8
特許請求の範囲
【請求項1】
水路内に設置される水中設備の周囲を止水構造によって囲み、囲んだ領域をドライ空間として前記水中設備のメンテナンスを行う水中設備のメンテナンス方法において、
前記水中設備は前記水路の側壁面から水路内に露出しており、
前記止水構造は、背面板と、前記背面板の左右両側辺に取り付けられる一対の側面板と、前記背面板と前記一対の側面板の底面を覆う底面板とを有し、且つ前記一対の側面板の内の少なくとも何れか一方が前記背面板に回転自在に接続されている箱型構造であり、
前記止水構造を前記水中設備の上部を除く位置から前記水路内に降下させた後、
前記止水構造の前記水中設備側にある側面板を回転させて開いた状態で当該止水機構を前記水中設備側に向けて移動して当該水中設備を囲える位置に配置し、
前記開いていた側面板を逆方向に回転させて閉じ、
前記一対の側面板および前記底面板の先端辺を前記水路の側壁面に当接させ、
前記止水構造の一対の側面板と底面板と背面板および前記水路の側壁面とによって囲まれた閉鎖領域内の水を排出することでドライ空間を形成し、
前記ドライ空間内で前記水中設備をメンテナンスすることを特徴とする水中設備のメンテナンス方法。
続きを表示(約 700 文字)
【請求項2】
水路内に設置される水中設備の周囲を止水構造によって囲み、囲んだ領域をドライ空間として前記水中設備のメンテナンスを行う水中設備のメンテナンス方法において、
前記水中設備は前記水路の側壁面または前記水路の水底面から水路内に露出しており、
前記止水構造は、背面板と、前記背面板の左右両側辺に取り付けられる一対の側面板とを有し、且つ前記一対の側面板の内の少なくとも何れか一方が前記背面板に回転自在に接続されているコの字型構造であり、
前記止水構造を前記水中設備の上部を除く位置から前記水路内に降下させた後、
前記止水構造の前記水中設備側にある側面板を回転させて開いた状態で当該止水機構を前記水中設備側に向けて移動して当該水中設備を囲える位置に配置し、
前記開いていた側面板を逆方向に回転させて閉じ、
前記一対の側面板の先端辺を前記水路の側壁面に当接させ、
さらに前記一対の側面板と前記背面板の下辺を前記水路の水底面に当接させ、
前記止水構造の一対の側面板と背面板および前記水路の側壁面と水底面によって囲まれた閉鎖領域内の水を排出することでドライ空間を形成し、
前記ドライ空間内で前記水中設備をメンテナンスすることを特徴とする水中設備のメンテナンス方法。
【請求項3】
前記閉鎖領域内の水の排出を行う前に、
前記止水構造と前記水路の側壁面及び/又は水底面間の止水性を向上させる方向に前記止水構造を押圧手段を用いて押圧した状態にすることを特徴とする請求項1又は2に記載の水中設備のメンテナンス方法。
発明の詳細な説明
【技術分野】
【0001】
本発明は、水中の所定の領域を止水(水の無いドライ空間)して当該領域内に露出させた設備をメンテナンス可能とする水中設備のメンテナンス方法に関するものである。
続きを表示(約 2,500 文字)
【背景技術】
【0002】
従来、下水処理場などにおいて、常時流水がある水路中にある機器等(以下「水中設備」ともいう)のメンテナンスを行う工法として、当該水路全体の流れを止めないでメンテナンスを行う不断水工法が用いられている。不断水工法は、例えば、止水板(角落し)を用いて水路の前記水中設備の上流側と下流側の部分を塞いでその間の水を排水し、前記水中設備を露出させてメンテナンスを行い、一方前記メンテナンス中は前記止水板によって塞いだ水路よりも上流側の水路の水を仮設配管によってバイパスさせて前記塞いだ水路よりも下流側の水路に流したり、または前記止水板によって塞いだ水路よりも上流側の水路の水を仮設水中ポンプによってバイパスさせて前記塞いだ水路よりも下流側の水路に流したりすることで断水させない工法である。
【0003】
しかし上記従来の不断水工法の場合、止水板などを設置するにあたり、一時的に水路への水の流入を停止する必要があるため、水処理への影響が懸念されることから、設置時間の制約が生じる。また止水板などの設置期間中に仮設配管や仮設水中ポンプの詰まり、故障のリスクがあるため、常時監視する維持管理体制が必要になる。
【0004】
上記課題を解消する技術として、特許文献1に示すような止水箱を用いる不断水工法が知られている。特許文献1の図5や図7には、水中設備であるゲート(G)を、水路に投入した封水タンク(11,32)で覆ってその内部の水をポンプ(39)などによって排水することでドライ空間とし、ゲート(G)をメンテナンスすることが開示されている。この不断水工法によれば、封水タンク(11,32)が水路全体を塞がないので、水路の水の流れを断水させない。
【先行技術文献】
【特許文献】
【0005】
特開2001-226945号公報
【発明の概要】
【発明が解決しようとする課題】
【0006】
しかし、水中設備を設置した水路の上部に水中設備を操作する各種機器や配管や天井などの障害物があるような場合は、当該水中設備の真上側から水路内に上記封水タンク(11,32)などを挿入することができない。
【0007】
本発明は上述の点に鑑みてなされたものでありその目的は、水中設備の上部に障害物があるなどしても、当該障害物に干渉することなく水中設備を囲むように止水機構を設置することができる水中設備のメンテナンス方法を提供することにある。
【課題を解決するための手段】
【0008】
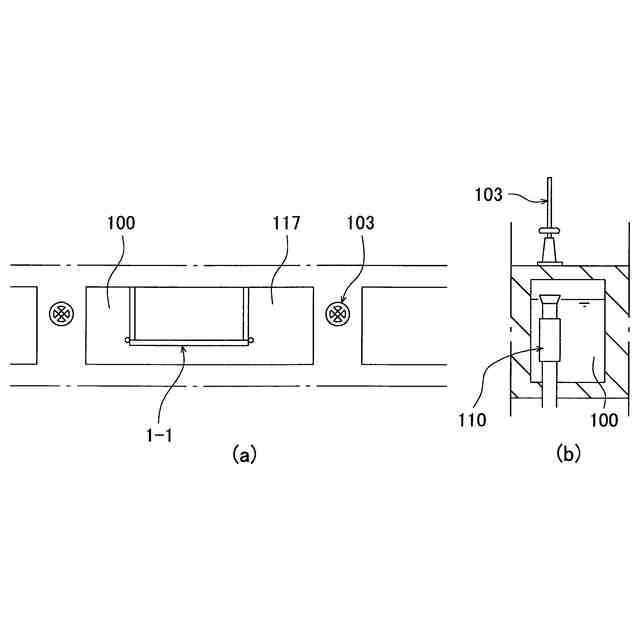
本発明に用いる水中設備の止水構造は、水路内に設置される水中設備の周囲を囲み、囲んだ領域をドライ空間として前記水中設備のメンテナンスを行わせる止水構造において、前記止水構造は、前記水路の一方の側壁面から所定寸法離間して設置される背面板と、前記背面板の左右両側辺に取り付けられてそれらの先端辺を前記水路の一方の側壁面に当接させる一対の側面板とを有するコの字型構造、または、前記水路の一方の側壁面から所定寸法離間して設置される背面板と、前記背面板の左右両側辺に取り付けられてそれらの先端辺を前記水路の一方の側壁面に当接させる一対の側面板と、前記背面板と前記一対の側面板の底面を覆う底面板とを有する箱型構造であり、前記一対の側面板の内の少なくとも何れか一方の側面板が前記背面板に回転自在に接続されていることが好ましい。
本止水構造によれば、水中設備の上部に障害物があって、止水構造が水中設備の上部から水路内に挿入できないような場合であっても、上記障害物がない場所から水路内に止水構造を挿入し、止水構造の水中設備側にある側面板を開いた状態で水路内を水中設備に対向する位置まで移動し、開いていた側面板を閉じることで水中設備を容易に囲むことができる。即ち、水中設備の上部に障害物があったとしても、当該障害物に干渉することなく水中設備を囲むように止水機構を設置することができる。そして上記囲まれた閉鎖領域内の水を排出することで形成されたドライ空間内で水中設備のメンテナンスを行うことができる。
上記止水機構は、常時流水のある水路での流水を止めることなく、水中設備をメンテナンスすることができるので、止水機構を設置してメンテナンスを行う工事期間中も用水を使用することができ、かつ、止水機構の設置も容易に行えるので工費を削減することができる。もちろん上記止水機構は、流水のない水路においても使用できる。水路には河川も含み、また海岸付近に形成される水路なども含まれる。
上記止水機構は、下水処理場などの水処理施設のように、常時流水のある断水不可能な水路で水中設備(例えば下水処理場に設置される汚泥引抜弁や流入ゲート)をメンテナンス(設備更新や部品交換や点検や清掃や塗装の塗替えなど)するような場合に用いて特に好適である。
【0009】
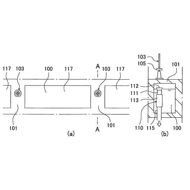
また本発明に用いる水中設備の止水構造は、上記構成に加え、一端が前記側面板に取り付けられ、他端が前記水路の前記側面板を当接させる側壁面に対向する側壁面又は前記水路の上部に設置されている障害物に取り付けられる押圧手段であり、前記押圧手段は、その両端間を伸縮させる伸縮機構を有することが好ましい。
本止水構造によれば、伸縮機構を有する押圧手段によって止水構造を水路の側壁面及び/又は水底面に押し付けることができるので、止水機構による止水作用をより効果的に発揮させることができる。
【0010】
また本発明に用いる水中設備の止水構造は、上記構成に加え、前記止水構造は前記コの字型構造であり、前記一対の側面板間に渡される渡り部材と、前記渡り部材に取り付けられ、前記水路の上部に設置されている障害物を押し上げる押圧手段と、をさらに具備することが好ましい。
本止水構造によれば、渡り部材と押圧手段とによって止水構造が水路の水底面に押し付けられるので、止水機構による止水作用をより効果的に発揮させることができる。
(【0011】以降は省略されています)
この特許をJ-PlatPat(特許庁公式サイト)で参照する
関連特許
水ing株式会社
廃溶液の処理方法
1か月前
水ing株式会社
有機性廃水の処理装置及び高分子凝集剤
4日前
水ing株式会社
浄水用フロック形成装置及びその運転方法
2日前
個人
バケット
23日前
個人
建物の不同沈下の修正方法
1か月前
鹿島建設株式会社
接続方法
3日前
千代田工営株式会社
回転貫入杭
1か月前
株式会社富田製作所
継手部構造
23日前
株式会社大林組
操縦装置
26日前
株式会社郷土開発
傾斜地の切土工法
2日前
株式会社クボタ
作業機
2日前
日立建機株式会社
作業機械
1か月前
日立建機株式会社
作業機械
15日前
ヤンマーホールディングス株式会社
作業機械
1か月前
日立建機株式会社
建設機械
16日前
ヤンマーホールディングス株式会社
作業機械
1か月前
FKS株式会社
擁壁及び擁壁の築造方法
25日前
株式会社三誠
建物の免震構造
1か月前
株式会社次世代一次産業実践所
登山道の施工装置
1か月前
山形新興株式会社
建築物の基礎及び基礎成形型
1か月前
個人
アンカーボルト支持装置
1か月前
日本車輌製造株式会社
杭打機の表示システム
18日前
ナブテスコ株式会社
ドーザブレード駆動機構
15日前
日本車輌製造株式会社
杭打機の制御システム
29日前
株式会社大林組
施工支援装置及び施工支援方法
25日前
株式会社大林組
施工支援装置及び施工支援方法
25日前
株式会社大林組
施工支援装置及び施工支援方法
25日前
日本車輌製造株式会社
建設機械の電源システム
29日前
株式会社大林組
評価支援装置及び評価支援方法
24日前
個人
保護カバー及び保護カバーの取付方法
18日前
株式会社大林組
免震構造及び免震構造の施工方法
18日前
北海道電力株式会社
滞留水への酸素供給方法
1か月前
ヤンマーホールディングス株式会社
作業機械
2日前
大成建設株式会社
推定方法
1か月前
ヤンマーホールディングス株式会社
作業機械
2日前
住友重機械工業株式会社
作業機械の遠隔制御システム
1か月前
続きを見る
他の特許を見る