TOP
|
特許
|
意匠
|
商標
特許ウォッチ
Twitter
他の特許を見る
公開番号
2025144271
公報種別
公開特許公報(A)
公開日
2025-10-02
出願番号
2024043974
出願日
2024-03-19
発明の名称
測定値算出方法、測定値算出プログラム、及び測定値算出装置
出願人
横河電機株式会社
,
横河計測株式会社
代理人
個人
,
個人
,
個人
,
個人
主分類
H03M
1/10 20060101AFI20250925BHJP(基本電子回路)
要約
【課題】オフセットをかけた信号からオフセットを差し引いた値と元の入力信号との間の誤差を低減できる測定値算出方法、測定値算出プログラム、及び測定値算出装置を提供する。
【解決手段】測定値算出方法は、オフセット設定値をアナログ変換してオフセット信号を生成することと、入力信号とオフセット信号とを加算した加算信号を生成することと、加算信号をデジタル変換して加算値を算出することと、オフセット信号をデジタル変換してオフセット変換値を算出することと、加算値にオフセット変換値を加算して測定値を算出することとを含む。
【選択図】図3
特許請求の範囲
【請求項1】
オフセット設定値をアナログ変換してオフセット信号を生成することと、
入力信号と前記オフセット信号とを加算した加算信号を生成することと、
前記加算信号をデジタル変換して加算値を算出することと、
前記オフセット信号をデジタル変換してオフセット変換値を算出することと、
前記加算値と前記オフセット変換値とから測定値を算出することと
を含む、測定値算出方法。
続きを表示(約 1,400 文字)
【請求項2】
前記加算信号又は前記オフセット信号の一方をA/D変換器に入力するスイッチを切り替えて、前記A/D変換器によって前記加算値及び前記オフセット変換値のそれぞれを算出することを更に含む、請求項1に記載の測定値算出方法。
【請求項3】
前記スイッチを切り替える時間を、前記オフセット設定値をアナログ変換するD/A変換器の出力特性と前記加算信号の振幅とに基づいて設定することを更に含む、請求項2に記載の測定値算出方法。
【請求項4】
前記加算信号を第1A/D変換器に入力して前記加算値を算出することと、
前記オフセット信号を第2A/D変換器に入力して前記オフセット変換値を算出することと
を更に含む、請求項1に記載の測定値算出方法。
【請求項5】
オフセット設定値をアナログ変換してオフセット信号を生成することと、
入力信号と前記オフセット信号とを加算した加算信号を生成することと、
前記加算信号をデジタル変換して加算値を算出することと、
前記オフセット信号をデジタル変換してオフセット変換値を算出することと、
前記加算値と前記オフセット変換値とから測定値を算出することと
を測定値算出装置に実行させる、測定値算出プログラム。
【請求項6】
前記加算信号又は前記オフセット信号の一方をA/D変換器に入力するスイッチを切り替えて、前記A/D変換器によって前記加算値及び前記オフセット変換値のそれぞれを算出することを、前記測定値算出装置に更に実行させる、請求項5に記載の測定値算出プログラム。
【請求項7】
前記スイッチを切り替える時間を、前記オフセット設定値をアナログ変換するD/A変換器の出力特性と前記加算信号の振幅とに基づいて設定することを、前記測定値算出装置に更に実行させる、請求項6に記載の測定値算出プログラム。
【請求項8】
前記加算信号を第1A/D変換器に入力して前記加算値を算出することと、
前記オフセット信号を第2A/D変換器に入力して前記オフセット変換値を算出することと
を前記測定値算出装置に更に実行させる、請求項5に記載の測定値算出プログラム。
【請求項9】
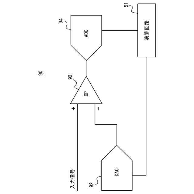
オフセット設定値をアナログ変換してオフセット信号として出力するD/A変換器と、
入力信号と前記オフセット信号とを加算した加算信号を出力する加算回路と、
前記加算信号をデジタル変換して加算値を算出する第1A/D変換器と、
前記加算値と、前記オフセット信号をデジタル変換したオフセット変換値とから測定値を算出する演算回路と
を備える、測定値算出装置。
【請求項10】
前記加算回路又は前記D/A変換器の一方を前記第1A/D変換器に接続するように切り替えるスイッチを更に備え、
前記第1A/D変換器は、
前記加算回路を前記第1A/D変換器に接続するように前記スイッチが切り替えられた場合に前記加算信号をデジタル変換して前記加算値を算出し、
前記D/A変換器を前記第1A/D変換器に接続するように前記スイッチが切り替えられた場合に前記オフセット信号をデジタル変換して前記オフセット変換値を算出する、
請求項9に記載の測定値算出装置。
(【請求項11】以降は省略されています)
発明の詳細な説明
【技術分野】
【0001】
本開示は、測定値算出方法、測定値算出プログラム、及び測定値算出装置に関する。
続きを表示(約 1,600 文字)
【背景技術】
【0002】
従来、D/A変換器の出力を加算器に入力して加算器にオフセットをかける回路が知られている(例えば特許文献1参照)。
【先行技術文献】
【特許文献】
【0003】
実開昭57-168075号公報
【発明の概要】
【発明が解決しようとする課題】
【0004】
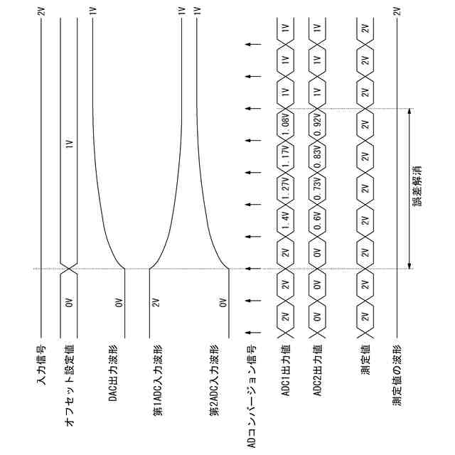
入力信号にオフセットをかけた後で、オフセットをかけた信号からオフセットを差し引いて元の入力信号に対応する値を算出することがある。D/A変換器を用いて入力信号にオフセットをかける場合、D/A変換器の出力の遅延によって、オフセットの設定が反映されるまでの遅延時間が生じる。その結果、オフセットをかけた信号からオフセットを差し引いて算出した値と元の入力信号との間に誤差が生じる。
【0005】
本開示は、上述の点に鑑みてなされたものであり、オフセットをかけた信号からオフセットを差し引いた値と元の入力信号との間の誤差を低減できる測定値算出方法、測定値算出プログラム、及び測定値算出装置を提供することを目的とする。
【課題を解決するための手段】
【0006】
幾つかの実施形態に係る(1)測定値算出方法は、オフセット設定値をアナログ変換してオフセット信号を生成することと、入力信号と前記オフセット信号とを加算した加算信号を生成することと、前記加算信号をデジタル変換して加算値を算出することと、前記オフセット信号をデジタル変換してオフセット変換値を算出することと、前記加算値と前記オフセット変換値とから測定値を算出することとを含む。オフセット変換値を用いて測定値を算出することによって、オフセット設定値を変更したときのD/A変換器の出力応答の遅延にかかわらず、測定値の誤差が低減される。
【0007】
(2)上記(1)の測定値算出方法は、前記加算信号又は前記オフセット信号の一方をA/D変換器に入力するスイッチを切り替えて、前記A/D変換器によって前記加算値及び前記オフセット変換値のそれぞれを算出することを更に含んでよい。スイッチによってオフセット変換値の算出を実現することによって、装置のコストが抑制され得る。
【0008】
(3)上記(2)の測定値算出方法は、前記スイッチを切り替える時間を、前記オフセット設定値をアナログ変換するD/A変換器の出力特性と前記加算信号の振幅とに基づいて設定することを更に含んでよい。スイッチの切替時間が設定されることによって、測定値の誤差が低減される。
【0009】
(4)上記(1)の測定値算出方法は、前記加算信号を第1A/D変換器に入力して前記加算値を算出することと、前記オフセット信号を第2A/D変換器に入力して前記オフセット変換値を算出することとを更に含んでよい。2つのA/D変換器が用いられることによって、加算値とオフセット変換値とが同じ時刻の出力波形に基づいて算出される。その結果、測定値の誤差が低減される。
【0010】
幾つかの実施形態に係る(5)測定値算出プログラムは、オフセット設定値をアナログ変換してオフセット信号を生成することと、入力信号と前記オフセット信号とを加算した加算信号を生成することと、前記加算信号をデジタル変換して加算値を算出することと、前記オフセット信号をデジタル変換してオフセット変換値を算出することと、前記加算値と前記オフセット変換値とから測定値を算出することとを測定値算出装置に実行させる。オフセット変換値を用いて測定値を算出することによって、オフセット設定値を変更したときのD/A変換器の出力応答の遅延にかかわらず、測定値の誤差が低減される。
(【0011】以降は省略されています)
この特許をJ-PlatPat(特許庁公式サイト)で参照する
関連特許
横河電機株式会社
磁気コア
29日前
横河電機株式会社
適応方法及び情報処理装置
1か月前
横河電機株式会社
細胞穿刺装置及び顕微鏡システム
1か月前
横河電機株式会社
細胞穿刺装置及び顕微鏡システム
1か月前
横河電機株式会社
クランプ式電流計及び電流測定方法
23日前
横河電機株式会社
測定装置、測定方法、及び、プログラム
16日前
横河電機株式会社
更新されたエイリアス情報のフィルタ処理
4日前
横河電機株式会社
センタリングデバイスおよび流量計ユニット
15日前
横河電機株式会社
情報処理装置、表示方法および表示プログラム
15日前
横河電機株式会社
情報生成装置、情報生成システムおよび情報生成方法
23日前
横河電機株式会社
回路モジュール、細胞穿刺装置、及び顕微鏡システム
1か月前
横河電機株式会社
記録計、バックアップ方法及びバックアッププログラム
15日前
横河電機株式会社
固体電解質組成物、固体電解質膜、積層体、電池、固体電解質組成物の製造方法
29日前
横河電機株式会社
液体サンプルバルブ、ガスクロマトグラフ装置、洗浄方法、および洗浄プログラム
18日前
横河電機株式会社
設備を保守するための装置、方法、およびプログラム
25日前
エイブリック株式会社
増幅器
1か月前
エイブリック株式会社
増幅器
1か月前
エイブリック株式会社
増幅回路
1か月前
日本電波工業株式会社
圧電振動片
1か月前
日本電波工業株式会社
水晶振動子
15日前
株式会社半導体エネルギー研究所
駆動回路
1か月前
台灣晶技股ふん有限公司
水晶発振器
23日前
京セラ株式会社
差動信号フィルタデバイス
2日前
京セラ株式会社
差動信号フィルタデバイス
2日前
台灣晶技股ふん有限公司
水晶発振素子
23日前
TDK株式会社
電子部品
1か月前
TDK株式会社
電子部品
1か月前
ローム株式会社
自己診断システム
1か月前
住友電気工業株式会社
高周波増幅器
2か月前
三菱電機株式会社
高周波増幅器モジュール
26日前
株式会社村田製作所
弾性波フィルタ
2か月前
国立大学法人東北大学
弾性表面波デバイス
15日前
日清紡マイクロデバイス株式会社
演算増幅器
1か月前
エイブリック株式会社
電流制限回路及び電流制限装置
1か月前
エイブリック株式会社
出力制御回路及び電圧出力回路
1か月前
台灣晶技股ふん有限公司
発振装置
25日前
続きを見る
他の特許を見る