TOP
|
特許
|
意匠
|
商標
特許ウォッチ
Twitter
他の特許を見る
10個以上の画像は省略されています。
公開番号
2025144265
公報種別
公開特許公報(A)
公開日
2025-10-02
出願番号
2024043962
出願日
2024-03-19
発明の名称
トイレ個室管理システムおよびトイレ個室管理方法
出願人
TOTO株式会社
代理人
弁理士法人iX
主分類
A47K
17/00 20060101AFI20250925BHJP(家具;家庭用品または家庭用設備;コーヒーひき;香辛料ひき;真空掃除機一般)
要約
【課題】トイレ個室の使用用途の管理を行うことができるトイレ個室管理システムを提供する。
【解決手段】大便器が設けられるトイレ個室の使用状況を管理するトイレ個室管理システムであって、前記トイレ個室への入退室を検知する人体検知部と、前記トイレ個室に設けられ、排泄物を検知する排泄検知部と、前記排泄検知部の検知結果に基づいて、前記トイレ個室内の使用者の使用状況を判定する制御部と、を備え、前記制御部は、前記人体検知部が使用者を検知した場合に、前記排泄検知部による排泄物の検知に基づいて、前記トイレ個室の使用状況を判定することを特徴とするトイレ個室管理システム。
【選択図】図2
特許請求の範囲
【請求項1】
大便器が設けられるトイレ個室の使用状況を管理するトイレ個室管理システムであって、
前記トイレ個室への入退室を検知する人体検知部と、
前記トイレ個室に設けられ、排泄物を検知する排泄検知部と、
前記排泄検知部の検知結果に基づいて、前記トイレ個室内の使用者の使用状況を判定する制御部と、
を備え、
前記制御部は、
前記人体検知部が使用者を検知した場合に、前記排泄検知部による排泄物の検知に基づいて、前記トイレ個室の使用状況を判定することを特徴とするトイレ個室管理システム。
続きを表示(約 1,300 文字)
【請求項2】
前記制御部は、排泄物の検知がない状態が所定時間継続しているか否かに基づいて、前記トイレ個室の使用状況を判定することを特徴とする請求項1に記載のトイレ個室管理システム。
【請求項3】
前記制御部は、排泄物の検知がある状態からない状態に切り替わってから所定時間が経過するまでの間に排泄物の検知がない場合には前記トイレ個室の長時間使用と判定することを特徴とする請求項2に記載のトイレ個室管理システム。
【請求項4】
前記制御部は、前記人体検知部が使用者を検知してから所定時間が経過するまでの間に排泄物の検知がない場合には前記トイレ個室の長時間使用と判定することを特徴とする請求項2に記載のトイレ個室管理システム。
【請求項5】
前記制御部は、前記トイレ個室が長時間使用されていると判定している間に、排泄物の検知があった場合には長時間使用の判定を取り消すことを特徴とする請求項3または4に記載のトイレ個室管理システム。
【請求項6】
前記所定時間は、前記トイレ個室の管理者が任意の値に設定可能であることを特徴とする請求項2に記載のトイレ個室管理システム。
【請求項7】
前記トイレ個室の使用状況を報知する報知部をさらに備えることを特徴とする請求項1に記載のトイレ個室管理システム。
【請求項8】
前記排泄検知部は、臭気センサであり、
前記臭気センサが検知した臭気が臭気閾値以上の場合には、排泄物の検知があると判定され、
前記臭気センサが検知した臭気が臭気閾値未満の場合には、排泄物の検知がないと判定されることを特徴とする請求項1に記載のトイレ個室管理システム。
【請求項9】
大便器が設けられるトイレ個室の使用状況を管理するトイレ個室管理システムであって、
前記トイレ個室を使用する使用者を検知する人体検知部と、
前記トイレ個室に設けられ、排泄物を検知する排泄検知部と、
前記排泄検知部の検知結果に基づいて、前記トイレ個室内の使用者の使用状況を判定するとともに、前記トイレ個室の使用状況を記憶する記憶部を有する制御部と、
前記制御部と通信可能であり前記トイレ個室の使用状況を報知する報知部と、
を備え、
前記使用状況は、前記トイレ個室を使用した使用者の人数および排泄をした使用者の人数を有し、
前記制御部は、前記トイレ個室を使用した使用者の中で排泄をした使用者の割合を算出し、
前記報知部は、前記排泄をした使用者の割合を報知することを特徴とするトイレ個室管理システム。
【請求項10】
前記使用状況は、排泄物の検知がない状態が所定時間継続しているとして前記トイレ個室の長時間使用と判定した人数を有し、
前記制御部は、排泄をした使用者の中で前記トイレ個室を長時間使用した使用者の割合を算出し、
前記報知部は、前記トイレ個室を長時間使用した使用者の割合を報知することを特徴とする請求項9に記載のトイレ個室管理システム。
(【請求項11】以降は省略されています)
発明の詳細な説明
【技術分野】
【0001】
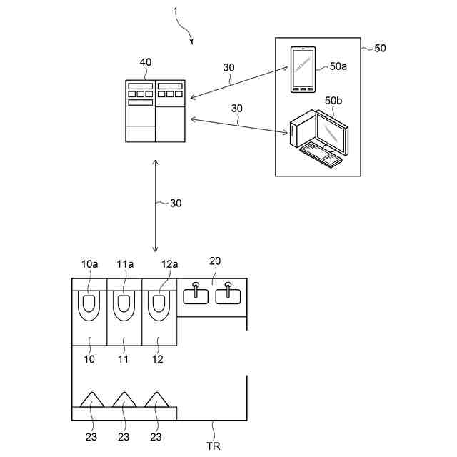
本発明の態様は、一般的にトイレ個室管理システムおよびトイレ個室管理方法に関する。
続きを表示(約 1,100 文字)
【背景技術】
【0002】
トイレ個室の使用を検知して、トイレ個室を使用している使用者に長時間使用を報知する管理システムが知られている。(例えば、特許文献1)。
【先行技術文献】
【特許文献】
【0003】
特開2018-185701号公報
【発明の概要】
【発明が解決しようとする課題】
【0004】
特許文献1による管理システムは、トイレ個室の使用をしている使用者が、排泄をするためにトイレ個室を使用しているのか、それとも排泄をせずに休憩のためにトイレ個室を使用しているのかを見分けることができない。そのため、トイレ個室の管理者は、トイレ個室の使用用途を明確に把握することができないおそれがある。
【0005】
本発明の態様は、かかる課題の認識に基づいてなされたものであり、トイレ個室の使用用途の管理を行うことができるトイレ個室管理システムおよびトイレ個室管理方法を提供することを目的とする。
【課題を解決するための手段】
【0006】
第1の発明は、大便器が設けられるトイレ個室の使用状況を管理するトイレ個室管理システムであって、前記トイレ個室への入退室を検知する人体検知部と、前記トイレ個室に設けられ、排泄物を検知する排泄検知部と、前記排泄検知部の検知結果に基づいて、前記トイレ個室内の使用者の使用状況を判定する制御部と、を備え、前記制御部は、前記人体検知部が使用者を検知した場合に、前記排泄検知部による排泄物の検知に基づいて、前記トイレ個室の使用状況を判定することを特徴とするトイレ個室管理システムである。
【0007】
このトイレ個室管理システムによれば、排泄検知部による排泄物の検知により、トイレ個室の使用状況を判別することができる。
【0008】
第2の発明は、第1の発明において、前記制御部は、排泄物の検知がない状態が所定時間継続しているか否かに基づいて、前記トイレ個室の使用状況を判定することを特徴とするトイレ個室管理システムである。
【0009】
このトイレ個室管理システムによれば、使用者が排泄行為をしている状態でトイレ個室を長時間使用しているのか、排泄をしておらず休憩のためにトイレ個室を長時間使用しているのかを判別することができる。
【0010】
第3の発明は、第2の発明において、前記制御部は、排泄物の検知がある状態からない状態に切り替わってから所定時間が経過するまでの間に排泄物の検知がない場合には前記トイレ個室の長時間使用と判定することを特徴とするトイレ個室管理システムである。
(【0011】以降は省略されています)
この特許をJ-PlatPat(特許庁公式サイト)で参照する
関連特許
TOTO株式会社
浴室
1か月前
TOTO株式会社
浴室
1か月前
TOTO株式会社
洗面器
8日前
TOTO株式会社
洗面器
8日前
TOTO株式会社
便器装置
1か月前
TOTO株式会社
水栓装置
22日前
TOTO株式会社
吐水装置
2日前
TOTO株式会社
吐水装置
2日前
TOTO株式会社
複合材料
23日前
TOTO株式会社
水栓装置
22日前
TOTO株式会社
水栓装置
22日前
TOTO株式会社
構造部材
2日前
TOTO株式会社
水栓装置
22日前
TOTO株式会社
水栓装置
22日前
TOTO株式会社
水栓装置
22日前
TOTO株式会社
水栓装置
22日前
TOTO株式会社
吐水装置
2日前
TOTO株式会社
水栓装置
22日前
TOTO株式会社
構造部材
2日前
TOTO株式会社
便座装置
1か月前
TOTO株式会社
衛生陶器
1か月前
TOTO株式会社
衛生陶器
1か月前
TOTO株式会社
水栓装置
22日前
TOTO株式会社
水洗大便器
1か月前
TOTO株式会社
排水管継手
1か月前
TOTO株式会社
排水管継手
1か月前
TOTO株式会社
水洗大便器
1か月前
TOTO株式会社
トイレ装置
1か月前
TOTO株式会社
トイレ装置
1か月前
TOTO株式会社
トイレ装置
1か月前
TOTO株式会社
水洗大便器
1日前
TOTO株式会社
水洗大便器
1か月前
TOTO株式会社
水洗大便器
1か月前
TOTO株式会社
水洗大便器
1か月前
TOTO株式会社
水洗大便器
1か月前
TOTO株式会社
水洗大便器
1日前
続きを見る
他の特許を見る