TOP
|
特許
|
意匠
|
商標
特許ウォッチ
Twitter
他の特許を見る
10個以上の画像は省略されています。
公開番号
2025143902
公報種別
公開特許公報(A)
公開日
2025-10-02
出願番号
2024043406
出願日
2024-03-19
発明の名称
高速沈殿装置及び高速沈殿装置の製造方法
出願人
三菱化工機株式会社
代理人
弁理士法人磯野国際特許商標事務所
主分類
B01D
21/02 20060101AFI20250925BHJP(物理的または化学的方法または装置一般)
要約
【課題】建設期間を短縮できるとともに、建設コストを低減できる高速沈殿装置及び高速沈殿装置の製造方法を提供する。
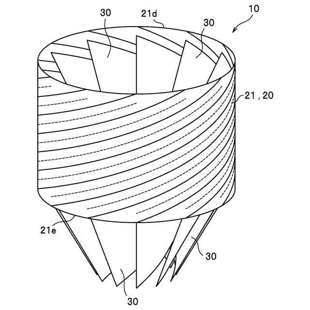
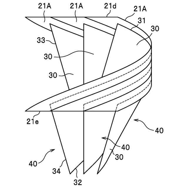
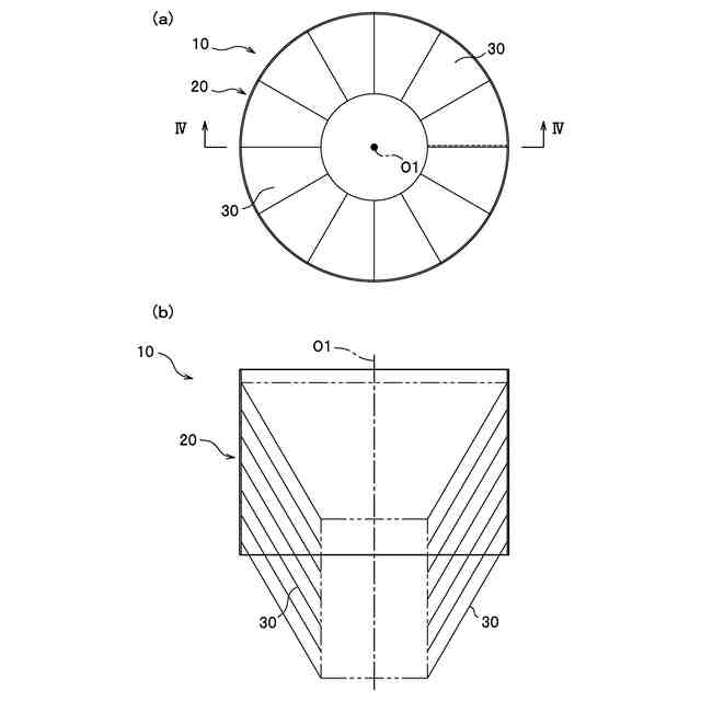
【解決手段】高速沈殿装置1は、シリンダ20の内周面に複数のプレート30が取り付けられたセパレータ10を備える。シリンダ20は、帯状部材21を複数連結し円筒状を形成することにより構成され、セパレータ10は、帯状部材21の内面に取り付けられた螺旋形状プレート30を有するブレードユニット40を複数連結することによりシリンダ20の内周面を螺旋形状プレート30が巻回するように各螺旋形状プレート30が取り付けられる。各ブレードユニット40の帯状部材21同士を鉛直方向に順次連結することにより、円筒状のシリンダ20が組み立てられ、各螺旋形状プレート30がシリンダ20の内周面を螺旋形状に巻回するように取り付けられたセパレータ10が組み立てられる。
【選択図】図1
特許請求の範囲
【請求項1】
シリンダの内周面に複数のプレートが取り付けられたセパレータを備えた高速沈殿装置であって、
前記シリンダは、帯状部材を複数連結し円筒状を形成することにより構成され、
前記セパレータは、前記帯状部材と、該帯状部材の内面に取り付けられた螺旋形状プレートと、を有して構成されるブレードユニットを複数連結することにより前記シリンダの内周面を螺旋形状に巻回するように前記各螺旋形状プレートが取り付けられる構造を備えており、
前記各ブレードユニットの前記帯状部材同士を鉛直方向に順次連結することにより、円筒状の前記シリンダが組み立てられるとともに、前記各螺旋形状プレートが前記シリンダの内周面を螺旋形状に巻回するように取り付けられた前記セパレータが組み立てられることを特徴とする高速沈殿装置。
続きを表示(約 1,200 文字)
【請求項2】
前記帯状部材同士を連結する連結部材を備えていることを特徴とする請求項1に記載の高速沈殿装置。
【請求項3】
前記シリンダの上部外周部には、前記各螺旋形状プレートにより固液分離された沈殿処理液を排出するための上部排出部が設けられていることを特徴とする請求項1または請求項2に記載の高速沈殿装置。
【請求項4】
前記セパレータを収容する円筒状の外筒を備えていることを特徴とする請求項1に記載の高速沈殿装置。
【請求項5】
前記セパレータは前記外筒内に回転可能に収容されていることを特徴とする請求項4に記載の高速沈殿装置。
【請求項6】
前記シリンダの上部外周部には、前記各螺旋形状プレートに沿って浮上した物質を排出するための浮上物質排出部が設けられていることを特徴とする請求項1に記載の高速沈殿装置。
【請求項7】
シリンダの内周面に複数のプレートが取り付けられたセパレータを備えた高速沈殿装置の製造方法であって、
前記シリンダは、帯状部材を複数連結し円筒状を形成することにより構成され、
前記セパレータは、前記帯状部材と、該帯状部材の内面に取り付けられた螺旋形状プレートと、を有して構成されるブレードユニットを複数連結することにより前記シリンダの内周面を螺旋形状に巻回するように前記各螺旋形状プレートが取り付けられる構造を備えており、
前記帯状部材を円筒形成治具の内周部に螺旋形状に固定する工程と、前記帯状部材に対して前記螺旋形状プレートを取り付ける工程とを含むブレードユニット形成工程と、
前記ブレードユニット形成工程により形成した複数の前記ブレードユニットの前記帯状部材同士を鉛直方向に順次連結することにより、円筒状の前記シリンダを組み立てるとともに、前記各螺旋形状プレートが前記シリンダの内周面を螺旋形状に巻回するように取り付けられた前記セパレータを組み立てるセパレータ組立工程と、を備えることを特徴とする高速沈殿装置の製造方法。
【請求項8】
前記セパレータは、前記帯状部材同士を連結する連結部材を備えており、
前記ブレードユニット形成工程が、前記帯状部材に前記連結部材を取り付ける連結部材取付工程を含むことを特徴とする請求項7に記載の高速沈殿装置の製造方法。
【請求項9】
前記セパレータ組立工程は、前記シリンダの上部外周部に、前記各螺旋形状プレートにより固液分離された沈殿処理液を排出するための上部排出部を設ける上部排出部設置工程を含むことを特徴とする請求項7または請求項8に記載の高速沈殿装置の製造方法。
【請求項10】
前記セパレータを収容する円筒状の外筒を備え、
前記セパレータ組立工程により組み立てられた前記セパレータを前記外筒内に組み付ける組み付け工程を含むことを特徴とする請求項7に記載の高速沈殿装置の製造方法。
(【請求項11】以降は省略されています)
発明の詳細な説明
【技術分野】
【0001】
本発明は、高速沈殿装置及び高速沈殿装置の製造方法に関する。
続きを表示(約 1,400 文字)
【背景技術】
【0002】
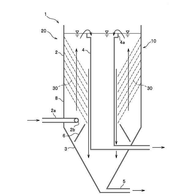
従来、下水処理場、浄水場、産業排水処理設備の沈殿濃縮装置として、シリンダの外周面に螺旋状のプレートを設けたセパレータを沈殿槽の内部に配置し、沈殿(固液分離)の高速化を実現した高速沈殿装置が知られている(例えば、特許文献1参照)。
一方、シリンダの内周面に螺旋状のプレートを設けたセパレータを有する高速沈殿装置も知られている(例えば、特許文献2参照)。
【0003】
一般的に、セパレータを構成する螺旋状のプレートを、樹脂と繊維とを含む複合体である繊維強化プラスチック(FRP)により形成すると、破損や損傷を生じる可能性がある。このため、螺旋状のプレートの破損や損傷を未然に防止するための方策として、高速沈殿装置を建設する現地において、円筒状のシリンダに対して螺旋状のプレートを1枚ずつ取り付けてセパレータを組み立てる作業を行っている。
【先行技術文献】
【特許文献】
【0004】
特許第3291626号公報
英国特許出願公開第2531804号明細書
【発明の概要】
【発明が解決しようとする課題】
【0005】
従来の高速沈殿装置は、高速沈殿装置を建設する現地において、螺旋状のプレートをシリンダに1枚ずつ取り付けてセパレータを組み立てる必要があるため、高速沈殿装置の建設期間が長くなるとともに、建設コストが嵩むという問題があった。
【0006】
本発明は、前記した問題である、製造工程及び製造工場から建設する現地までの輸送工程における破損や損傷の問題を解決し、建設期間を短縮できるとともに、建設コストを低減できる高速沈殿装置及び高速沈殿装置の製造方法を提供することを課題とする。
【課題を解決するための手段】
【0007】
前記課題を解決するため本発明の高速沈殿装置は、シリンダの内周面に複数のプレートが取り付けられたセパレータを備えている。前記シリンダは、帯状部材を複数連結し円筒状を形成することにより構成され、前記セパレータは、前記帯状部材と、該帯状部材の内面に取り付けられた螺旋形状プレートと、を有して構成されるブレードユニットを複数連結することにより前記シリンダの内周面を螺旋形状に巻回するように前記各螺旋形状プレートが取り付けられる構造を備えている。
【0008】
そして、高速沈殿装置は、前記各ブレードユニットの前記帯状部材同士を鉛直方向に順次連結することにより、円筒状の前記シリンダが組み立てられるとともに、前記各螺旋形状プレートが前記シリンダの内周面を螺旋形状に巻回するように取り付けられた前記セパレータが組み立てられる。
【0009】
ここで、螺旋形状とは、円筒の内周面の周方向に回りながら、上下方向に角度を有するように軌跡を描く形状のことを意味する。
【0010】
本発明の高速沈殿装置では、帯状部材の内面に螺旋形状プレートが取り付けられたブレードユニットを複数組用意し、各ブレードユニットの帯状部材同士を鉛直方向に順次連結することにより、円筒状のシリンダを組み立てることができるとともに、各螺旋形状プレートがシリンダの内周面を螺旋形状に巻回するように取り付けられたセパレータを組み立てることができる。
(【0011】以降は省略されています)
この特許をJ-PlatPat(特許庁公式サイト)で参照する
関連特許
三菱化工機株式会社
電界ろ過装置及び電界ろ過装置のろ材の製造方法
3日前
三菱化工機株式会社
遠心分離装置および分離板
1か月前
株式会社西部技研
除湿装置
1か月前
株式会社日本触媒
ドロー溶質
24日前
日本バイリーン株式会社
フィルタ
9日前
サンノプコ株式会社
消泡剤
22日前
東レ株式会社
中空糸膜モジュール
1か月前
東レ株式会社
遠心ポッティング方法
16日前
トヨタ自動車株式会社
濾過装置
10日前
個人
気液混合装置
22日前
松岡紙業 株式会社
油吸着体の製造方法
24日前
大和ハウス工業株式会社
反応装置
1か月前
東芝ライテック株式会社
光照射装置
10日前
富士電機株式会社
ガス処理システム
19日前
株式会社フクハラ
圧縮空気圧回路ユニット
22日前
本田技研工業株式会社
ガス回収装置
1か月前
大陽日酸株式会社
CO2の回収方法
1か月前
株式会社明電舎
成膜装置
19日前
日本化薬株式会社
直鎖ブテン製造用触媒及びその使用
16日前
本田技研工業株式会社
二酸化炭素回収装置
1か月前
本田技研工業株式会社
二酸化炭素回収装置
1か月前
本田技研工業株式会社
二酸化炭素回収装置
1か月前
本田技研工業株式会社
二酸化炭素回収装置
1か月前
本田技研工業株式会社
二酸化炭素回収装置
1か月前
ノリタケ株式会社
触媒材料およびその利用
1か月前
本田技研工業株式会社
二酸化炭素回収装置
1か月前
ノリタケ株式会社
触媒材料およびその利用
1か月前
本田技研工業株式会社
二酸化炭素回収装置
1か月前
ノリタケ株式会社
触媒材料およびその利用
1か月前
個人
フッ化炭素糸物にフッ素をコーティングした浄水手段
22日前
日東電工株式会社
吸着材
1か月前
株式会社プロテリアル
触媒複合物および触媒前駆体複合物
1か月前
Planet Savers株式会社
気体濃縮装置
1か月前
三浦工業株式会社
撹拌装置
19日前
東京応化工業株式会社
ろ過処理方法、及び多孔質膜
1か月前
いであ株式会社
PFAS除去用バイオ炭の製造方法
11日前
続きを見る
他の特許を見る