TOP
|
特許
|
意匠
|
商標
特許ウォッチ
Twitter
他の特許を見る
10個以上の画像は省略されています。
公開番号
2025148588
公報種別
公開特許公報(A)
公開日
2025-10-07
出願番号
2025123094,2024563004
出願日
2025-07-23,2023-12-08
発明の名称
遠心分離装置および分離板
出願人
三菱化工機株式会社
代理人
個人
主分類
B04B
1/08 20060101AFI20250930BHJP(物理的または化学的工程を行なうための遠心装置または機械)
要約
【課題】遠心分離装置および分離板を提供する。
【解決手段】回転容器の内部に積層方向に所定の間隔を空けて積層された複数の分離板12を有し、被処理流体に含まれる比重が異なる成分を遠心力により分離する遠心分離装置であって、分離板に凸部12A及び凹部からなると共に、分離板12の円錐面14の母線に沿って線分状に形成され、円錐面14の下部縁部14Aから円錐面14の上部縁部14D側に向けて形成される凹凸パターン15と、分離板12の円錐面14の表面側に設けられ、円錐面14の母線に沿うと共に、順次積層された他の分離板12-2との間に前記所定の間隔Dを保つための短冊状の間隙片16と、を有してなると共に、周方向で隣り合う設けられる間隙片間に、凹凸パターン15を形成する第1凸部12A-1と、第1凸部12A-1に隣接する第2凸部12A-2となす角度(α1)が10度以下で形成されている。
【選択図】図2
特許請求の範囲
【請求項1】
回転容器と、中空筒状の円錐台形状に形成され、前記回転容器の内部にて、積層方向に所定の間隔を空けて積層された複数の分離板と、を有し、被処理流体に含まれる比重が異なる成分を遠心力により分離する遠心分離装置であって、
前記分離板は、
円錐面の表面側に突出して設けられ、前記円錐面の母線に沿うと共に、積層された他の分離板との間に、前記所定の間隔を保つための短冊状の間隙片と、
前記分離板の円錐面の母線に沿うと共に前記円錐面の下部縁部と上部縁部との間にわたって線分状に形成される凸部及び凹部が、前記円錐面の周方向で隣り合う前記間隙片間に形成される凹凸パターンと、
を含み、
前記凹凸パターンにおいて、隣り合う凸部と凸部とでなす角度が10度以下で形成されている、ことを特徴とする遠心分離装置。
続きを表示(約 790 文字)
【請求項2】
前記複数の分離板が積層された状態で、前記積層下部の間隙片と積層上部の間隙片との間で積層される領域が、
前記積層領域における前記積層下部の分離板の表面と積層上部の他の分離板との裏面とで整流領域を形成していることを特徴とする請求項1記載の遠心分離装置。
【請求項3】
前記円錐面の上部縁部と前記凹凸パターンの上端領域との間に、円周方向に連続した帯状の平坦面領域を形成している、ことを特徴とする請求項1又は2記載の遠心分離装置。
【請求項4】
前記円錐面の頂部近傍に切欠き部を有する、ことを特徴とする請求項1又は2記載の遠心分離装置。
【請求項5】
前記円錐面の下部縁部に、切欠き状の通液孔を有することを特徴とする請求項1又は2記載の遠心分離装置。
【請求項6】
遠心力により分離された比重が異なる成分を外部に排出する排出部を有することを特徴とする請求項1又は2記載の遠心分離装置。
【請求項7】
回転容器の内部に、積層方向に所定の間隔を空けて複数枚積層され、前記回転容器内に導入される被処理流体に含まれる比重が異なる成分を遠心力により分離する中空筒状の円錐台形状を有する分離板であって、
円錐面の表面側に突出して設けられ、前記円錐面の母線に沿うと共に、積層された他の分離板との間に、前記所定の間隔を保つための短冊状の間隙片と、
前記分離板の円錐面の母線に沿うと共に前記円錐面の下部縁部と上部縁部との間にわたって線分状に形成される凸部及び凹部が、前記円錐面の周方向で隣り合う前記間隙片間に形成される凹凸パターンと、
を含み、
前記凹凸パターンにおいて、隣り合う凸部と凸部とでなす角度が10度以下で形成されていることを特徴とする分離板。
発明の詳細な説明
【技術分野】
【0001】
本発明は、被処理流体中の比重の異なる成分を分離する分離板型の遠心分離装置およびそのような遠心分離装置に用いられる分離板に関する。
続きを表示(約 2,300 文字)
【背景技術】
【0002】
遠心分離装置は、回転軸の方向に、短冊状の間隙片により所定間隔の分離空隙を空けて多数積層された中空円錐台形状の分離板が設けられ、上記分離空隙に流入した被処理流体が分離板の中心方向に向かって流れる際に、比重の異なる成分が遠心沈降によって分離板の外周方向に移動することにより分離されるようになっている(例えば、特許文献1参照。)。
【先行技術文献】
【特許文献】
【0003】
特開2002-336734号公報
【発明の概要】
【発明が解決しようとする課題】
【0004】
上記のような分離板型の遠心分離装置で分離能力を向上させるためには、分離板の枚数を多くしたり、外径を大きくしたりすることが考えられるが、何れも装置の大型化を招くことになる。
【0005】
本発明は、上記の点に鑑み、遠心分離装置の大型化などを招くことなく、分離能力を向上させられることができる遠心分離装置および分離板を提供することを目的とする。
【課題を解決するための手段】
【0006】
この目的を達成するために、第1の本発明の遠心分離装置は、
回転容器と、中空筒状の円錐台形状に形成され、前記回転容器の内部にて、積層方向に所定の間隔を空けて積層された複数の分離板と、を有し、被処理流体に含まれる比重が異なる成分を遠心力により分離する遠心分離装置であって、
前記分離板は、円錐面の表面側に突出して設けられ、前記円錐面の母線に沿うと共に、積層された他の分離板との間に、前記所定の間隔を保つための短冊状の間隙片と、
前記分離板の円錐面の母線に沿うと共に前記円錐面の下部縁部と上部縁部との間にわたって線分状に形成される凸部及び凹部が、前記円錐面の周方向で隣り合う前記間隙片間に形成される凹凸パターンと、を含み、
前記凹凸パターンにおいて、隣り合う凸部と凸部とでなす角度が10度以下で形成されている、ことを特徴とする。
【0007】
第2の本発明の分離板は、回転容器の内部に、積層方向に所定の間隔を空けて複数枚積層され、前記回転容器内に導入される被処理流体に含まれる比重が異なる成分を遠心力により分離する中空筒状の円錐台形状を有する分離板であって、
円錐面の表面側に突出して設けられ、前記円錐面の母線に沿うと共に、積層された他の分離板との間に、前記所定の間隔を保つための短冊状の間隙片と、
前記分離板の円錐面の母線に沿うと共に前記円錐面の下部縁部と上部縁部との間にわたって線分状に形成される凸部及び凹部が、前記円錐面の周方向で隣り合う前記間隙片間に形成される凹凸パターンと、
を含み、
前記凹凸パターンにおいて、隣り合う凸部と凸部とでなす角度が10度以下で形成されていることを特徴とする。
【発明の効果】
【0008】
本発明によれば、分離板の円錐面の表面に所定間隔を持って設けられた短冊状の間隙片の間に、円錐面の母線に沿って線分状に形成された凹凸パターンからなる領域を設けることにより、導入された原液が整流され、複数枚積層された分離板間の間隙を上昇して流れていくうちに原液の分離能力が向上する。
【図面の簡単な説明】
【0009】
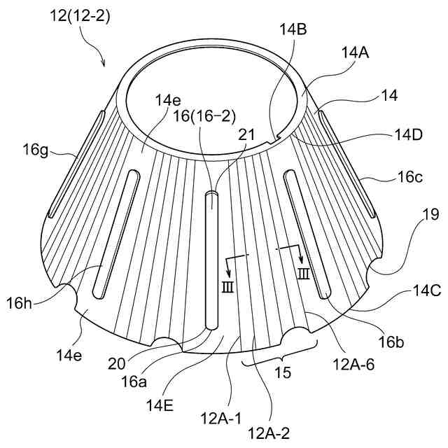
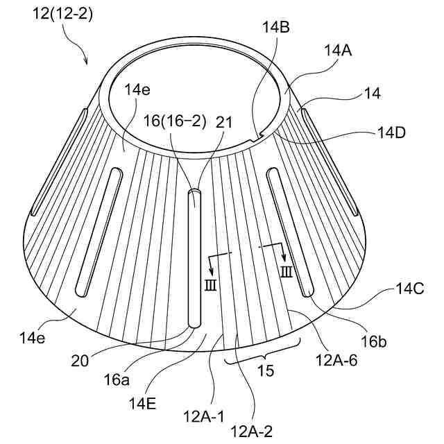
本発明の実施形態の遠心分離装置の要部の正面断面図である。
第一実施形態の分離板の斜視概略図である。
第一実施形態の分離板の積層の一例を示す図2のIII-III矢視断面図で、さらに断面状態での分離板の積層状態を示す図である。
第一実施形態の分離板の平面図である。
第一実施形態の分離板の断面図である。
第二実施形態の分離板の斜視概略図である。
第三実施形態の分離板の斜視概略図である。
第三実施形態の分離板の平面図である。
分離板の流れ状態を示す斜視概略図である。
図9のXa、Xbに示す分離板間の流線イメージ流れ図である。
第四実施形態の分離板を示す部分拡大平面図である。
図11のXII-XII線拡大断面図で、さらに断面状態での分離板の積層状態を示す図である。
第五実施形態の分離板を示す部分拡大平面図である。
(a)は図13のXIVa-XIVa線拡大断面図で、さらに断面状態での分離板の積層状態を示し、(b)は図13のXIVb-XIVb線拡大断面図で、さらに断面状態での分離板の積層状態を示し、(c)は図13のXIVc-XIVc線拡大断面図で、さらに断面状態での分離板の積層状態を示す図、である。
第六実施形態の分離板の平面図である。
図15にて一点鎖線にて囲んだ矩形領域の拡大平面図である。
第七実施形態の分離板の平面図である。
図17にて一点鎖線にて囲んだ矩形領域の拡大平面図である。
第一実施形態乃至第七実施形態の分離板における凸部と凹部とからなる凹凸パターンの実施形態を示す。
【発明を実施するための形態】
【0010】
以下、本発明の一実施形態について説明する。
なお、本実施形態は本発明の一実施形態に過ぎず、何等限定解釈されるものではなく、本発明の範囲内で適宜設計変更可能である。また、複数の実施形態を組み合わせることができる。
「第一実施形態」
(【0011】以降は省略されています)
この特許をJ-PlatPat(特許庁公式サイト)で参照する
関連特許
巴工業株式会社
遠心分離装置
3か月前
トミー工業株式会社
遠心分離機
3か月前
トミー工業株式会社
連続式遠心分離用ロータ
2か月前
鋭澤實業股分有限公司
集塵装置
3日前
東京濾器株式会社
オイルセパレータ
4か月前
有限会社ケイ・シン
固液分離装置
3日前
ワン チンフン
可変機構を備える遠心分離機
4か月前
住友金属鉱山株式会社
遠心分離装置の運転方法、遠心分離装置およびプログラム
3か月前
三菱化工機株式会社
遠心分離装置および分離板
2か月前
あおい精機株式会社
遠心分離装置及び遠心分離方法
3か月前
株式会社ヨシダ鉄工
サイクロン式固液分離装置及びサイクロン式固液分離装置の残渣収容排出方法
1か月前
中国科学院過程工程研究所
循環風量適応制御高効率除塵装置
3日前
ジーイーエー メカニカル イクイップメント ゲゼルシャフト ミット ベシュレンクテル ハフツング
遠心分離機及び遠心分離機を作動させる方法
20日前
東京応化工業株式会社
レジスト組成物、レジストパターン形成方法、化合物、及び酸発生剤
2か月前
東京応化工業株式会社
レジスト組成物、レジストパターン形成方法、化合物、及び酸発生剤
2か月前
ベーアーエスエフ・エスエー
α,β-エチレン性不飽和カルボン酸塩を調製するための触媒法
2か月前
株式会社プロテイン・エクスプレス
抗SARS-CoV-2単ドメイン抗体
1か月前
中外製薬株式会社
抗CD137抗原結合分子およびその使用
2か月前
中外製薬株式会社
癌の治療に用いるための抗CD137抗原結合分子
3か月前
他の特許を見る