TOP
|
特許
|
意匠
|
商標
特許ウォッチ
Twitter
他の特許を見る
公開番号
2025135494
公報種別
公開特許公報(A)
公開日
2025-09-18
出願番号
2024033387
出願日
2024-03-05
発明の名称
連続式遠心分離用ロータ
出願人
トミー工業株式会社
代理人
個人
主分類
B04B
1/02 20060101AFI20250910BHJP(物理的または化学的工程を行なうための遠心装置または機械)
要約
【課題】気泡の発生し難い連続式遠心分離用ロータを提供する。
【解決手段】駆動モータによって回転するロータボディ2と、前記ロータボディ2の回転中に前記ロータボディ2の内部に試料を送る注入パイプ5と、前記ロータボディ2の回転中に分離された上澄液を前記ロータボディ2の外部に排出する排液器6と、排液路10を備えた連続式遠心分離用ロータにおいて、上記排液器6が、周端部に一定幅のスリット状間隙αを有し、該スリット状間隙α及び上記排液路10に連通する排液溝βが中央部に形成された、円板形状の部材である連続式遠心分離用ロータ1とした。
【選択図】図6
特許請求の範囲
【請求項1】
駆動モータによって回転するロータボディと、前記ロータボディの回転中に前記ロータボディの内部に試料を送る送液機構と、前記ロータボディの回転中に分離された上澄液を前記ロータボディの外部に排出する排液機構を備えた連続式遠心分離用ロータにおいて、上記排液機構が、上記ロータボディと共に回転するコア体に形成された分離した上澄液が流入する排液溜めと、該排液溜めに停止状態で配置された排液器と、該排液器に連通する排液路からなり、上記排液器が、周端部に一定幅のスリット状間隙を有し、該スリット状間隙及び上記排液路に連通する排液溝が中央部に形成された、円板形状の部材であることを特徴とする、連続式遠心分離用ロータ。
続きを表示(約 350 文字)
【請求項2】
上記排液器が、多数の円板をスペーサを介して積層し、前記円板間に前記スペーサの厚みに相当する上記一定幅のスリット状間隙を形成したものであることを特徴とする、請求項1に記載の連続式遠心分離用ロータ。
【請求項3】
上記排液器のスリット状間隙が、多段に形成されていることを特徴とする、請求項1又は2に記載の連続式遠心分離用ロータ。
【請求項4】
上記排液器のスリット状間隙が、0.2~1.5mmの幅の間隙に形成されていること特徴とする、請求項1又は2に記載の連続式遠心分離用ロータ。
【請求項5】
上記排液器のスリット状間隙が、周端から5mm以上内方に亘る周端部に形成されていることを特徴とする、請求項1又は2に記載の連続式遠心分離用ロータ。
発明の詳細な説明
【技術分野】
【0001】
本発明は、試料を機外から注入し、遠心分離した上澄液を機外で回収する連続遠心分離操作において使用される連続式遠心分離用ロータに関するものである。
続きを表示(約 2,700 文字)
【背景技術】
【0002】
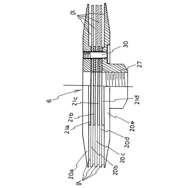
連続した遠心分離操作は、例えば特許文献1、また特許文献2に記載された連続式遠心分離用ロータ(本明細書においては、単に「連続ロータ」とも言う)を用いて行われている。これらの連続ロータの従来例を、図7に示すと共に、該従来の連続ロータにおいて使用されている排液器の横断面を、図8に示す。
【0003】
図7において、連続ロ-タ100は、主にロ-タボディ101、コア体102、排液器103、遮断ピ-ス104、及び排液器103や遮断ピ-ス104等を支持する支持具105からなり、この支持具105が図示していない遠心分離機本体に固定されることにより、排液器103や遮断ピ-ス104等の部品は非回転状態で遠心分離機本体に固定される。一方、ロ-タボディ101とコア体102はリッド106により一体となるよう構成されており、ロータボディ101下面に設けられた軸穴101aに遠心分離機本体に設けられた駆動モータにより回転される駆動軸(図示せず)が係合し、これによりロ-タボディ101とコア体102は回転され、供給された試料に遠心力を付与する。試料タンク200に連結された試料の注入パイプ107の下端周辺は、コア体102に設けられた穴102aに非接触状態で挿入され、回転するロータボディ101の内部に試料を供給する。
【0004】
次に、上記した連続ロータ100を使用した試料の遠心分離操作について、簡単に説明する。試料は注入パイプ107を介して機外の試料タンク200から注入され、ロ-タボディ101とコア体102で形成された遠心分離空間Aに入る。この遠心分離空間Aにて試料が遠心分離され、更に連続的に試料が注入パイプ107から入れられると、徐々に半径方向内側に位置する質量の小さな物質(上澄液)は更に半径方向内側に位置するようになり、最終的には、コア体102に形成された通路102bを経て排液溜めBに入る。排液溜めBに入った上澄液は排液器103のポンプ作用によって汲み上げられ、注入パイプ107の外側に同心状に設けられた排液路108を経て、排出パイプ109を介して機外に設けられた上澄液タンク300に貯留される。非回転部分である上記排液器103や遮断ピ-ス104等の部品と、上記回転部分であるロ-タボディ101とコア体102との間は、コア体102上部に設けられたシ-ル液溜めCに配置された遮断ピース104及び該シ-ル液溜めCに注入されたシール液体によりシールされており、連続ロータの内部空間と外部空間とは完全にシールされている。
【0005】
上記従来の連続ロータ100において使用されている上記排液器103の構造を、図8を用いて説明する。排液器103は、周壁に開口103aを有する渦巻き型の溝103bが内部に複数形成された円板形状の部材であり、その中心において上記溝103bの内壁の開口103cが、注入パイプ107の外側に同心状に設けられた排液路108と連通した構成とされている。そして、上記したようにコア体102に形成された排液溜めBに入った上澄液は、コア体102と共に高速で排液器103の周囲において回転している状態となり、該回転によるエネルギーにより、排液器103の周壁に形された開口103aから溝103b内に上澄液が吸い込まれる状態で流入し、連通した排液路108を経て上澄液が連続ロ-タ外に排出され、機外に設置された上澄液タンク300に貯留されていた。
【先行技術文献】
【特許文献】
【0006】
実公昭45-6375号公報
特開昭57-91758号公報
【発明の概要】
【発明が解決しようとする課題】
【0007】
ここで、上記した従来の連続ロータ100にあっては、排液溜めBにおいてコア体102と共に高速で回転している上澄液を、停止している排液器103に形成された開口103aを介して吸引するものであるので、上澄液に急激な運動エネルギーの変化を複雑に与えることとなり、この開口103aの部分においてキャビテーションにより気泡が発生し易く、処理する試料によっては発生する気泡によって排出路108等が詰まり、連続運転に支障が生じる場合があった。
【0008】
本発明は、上述した背景技術が有する課題に鑑み成されたものでものであって、その目的は、気泡の発生し難い連続式遠心分離用ロータを提供することにある。
【課題を解決するための手段】
【0009】
上記した目的を達成するため、本発明は、次の〔1〕~〔5〕に記載した連続式遠心分離用ロータとした。
〔1〕駆動モータによって回転するロータボディと、前記ロータボディの回転中に前記ロータボディの内部に試料を送る送液機構と、前記ロータボディの回転中に分離された上澄液を前記ロータボディの外部に排出する排液機構を備えた連続式遠心分離用ロータにおいて、上記排液機構が、上記ロータボディと共に回転するコア体に形成された分離した上澄液が流入する排液溜めと、該排液溜めに停止状態で配置された排液器と、該排液器に連通する排液路からなり、上記排液器が、周端部に一定幅のスリット状間隙を有し、該スリット状間隙及び上記排液路に連通する排液溝が中央部に形成された、円板形状の部材であることを特徴とする、連続式遠心分離用ロータ。
〔2〕上記排液器が、多数の円板をスペーサを介して積層し、前記円板間に前記スペーサの厚みに相当する上記一定幅のスリット状間隙を形成したものであることを特徴とする、上記〔1〕に記載の連続式遠心分離用ロータ。
〔3〕上記排液器のスリット状間隙が、多段に形成されていることを特徴とする、上記〔1〕又は〔2〕に記載の連続式遠心分離用ロータ。
〔4〕上記排液器のスリット状間隙が、0.2~1.5mmの幅の間隙に形成されていること特徴とする、上記〔1〕~〔3〕のいずれかに記載の連続式遠心分離用ロータ。
〔5〕上記排液器のスリット状間隙が、周端から5mm以上内方に亘る周端部に形成されていることを特徴とする、上記〔1〕~〔4〕のいずれかに記載の連続式遠心分離用ロータ。
【発明の効果】
【0010】
上記した本発明に係る連続式遠心分離用ロータによれば、ロータボディにおいて分離した上澄液を、キャビテーションを起こさせることなく機外に排出することができ、気泡の発生し難い連続式遠心分離用ロータとなる。
【図面の簡単な説明】
(【0011】以降は省略されています)
この特許をJ-PlatPat(特許庁公式サイト)で参照する
関連特許
巴工業株式会社
遠心分離装置
3か月前
トミー工業株式会社
遠心分離機
3か月前
トミー工業株式会社
連続式遠心分離用ロータ
2か月前
鋭澤實業股分有限公司
集塵装置
4日前
有限会社ケイ・シン
固液分離装置
4日前
ワン チンフン
可変機構を備える遠心分離機
4か月前
住友金属鉱山株式会社
遠心分離装置の運転方法、遠心分離装置およびプログラム
3か月前
三菱化工機株式会社
遠心分離装置および分離板
2か月前
あおい精機株式会社
遠心分離装置及び遠心分離方法
3か月前
株式会社ヨシダ鉄工
サイクロン式固液分離装置及びサイクロン式固液分離装置の残渣収容排出方法
1か月前
中国科学院過程工程研究所
循環風量適応制御高効率除塵装置
4日前
ジーイーエー メカニカル イクイップメント ゲゼルシャフト ミット ベシュレンクテル ハフツング
遠心分離機及び遠心分離機を作動させる方法
21日前
東京応化工業株式会社
レジスト組成物、レジストパターン形成方法、化合物、及び酸発生剤
2か月前
東京応化工業株式会社
レジスト組成物、レジストパターン形成方法、化合物、及び酸発生剤
2か月前
ベーアーエスエフ・エスエー
α,β-エチレン性不飽和カルボン酸塩を調製するための触媒法
2か月前
株式会社プロテイン・エクスプレス
抗SARS-CoV-2単ドメイン抗体
1か月前
中外製薬株式会社
抗CD137抗原結合分子およびその使用
2か月前
中外製薬株式会社
癌の治療に用いるための抗CD137抗原結合分子
3か月前
他の特許を見る