TOP
|
特許
|
意匠
|
商標
特許ウォッチ
Twitter
他の特許を見る
公開番号
2025108863
公報種別
公開特許公報(A)
公開日
2025-07-24
出願番号
2024002333
出願日
2024-01-11
発明の名称
オイルセパレータ
出願人
東京濾器株式会社
代理人
弁理士法人一色国際特許事務所
主分類
B04C
5/04 20060101AFI20250716BHJP(物理的または化学的工程を行なうための遠心装置または機械)
要約
【課題】ミスト状オイルを含む処理対象ガスからオイルを分離する効率が高いオイルセパレータを提供する。
【解決手段】ミスト状オイルを含むガスからオイルを分離するオイルセパレータであって、
軸方向に延びる筒状に形成された側壁を有し、前記側壁内の第1空間及び前記側壁外の第2空間が内部に形成された筐体であって、前記第1空間と前記第2空間とを連通させる連通孔が形成されるとともに前記第1空間及び前記第2空間の境界を形成する隔壁、を有する筐体と、前記筐体に接続され、前記第1空間へ前記側壁の周方向に前記ガスを噴射し、前記軸方向視において前記ガスを前記周方向に回転させる噴射部と、前記連通孔に設けられて前記第1空間と前記第2空間とを連通する流路の開閉を行い、前記第2空間内の圧力に対する前記第1空間内の圧力が高いほど前記流路の開度を大きくする弁体と、前記流路に対向して配置され、通気性を有して前記オイルを捕集する捕集体と、を備えるオイルセパレータ。
【選択図】図3
特許請求の範囲
【請求項1】
ミスト状オイルを含むガスからオイルを分離するオイルセパレータであって、
軸方向に延びる筒状に形成された側壁を有し、前記側壁内の第1空間及び前記側壁外の第2空間が内部に形成された筐体であって、前記第1空間と前記第2空間とを連通させる連通孔が形成されるとともに前記第1空間及び前記第2空間の境界を形成する隔壁、を有する筐体と、
前記筐体に接続され、前記第1空間へ前記側壁の周方向に前記ガスを噴射し、前記軸方向視において前記ガスを前記周方向に回転させる噴射部と、
前記連通孔に設けられて前記第1空間と前記第2空間とを連通する流路の開閉を行い、前記第2空間内の圧力に対する前記第1空間内の圧力が高いほど前記流路の開度を大きくする弁体と、
前記流路に対向して配置され、通気性を有して前記オイルを捕集する捕集体と、
を備えるオイルセパレータ。
続きを表示(約 770 文字)
【請求項2】
前記捕集体は前記流路に対向するように配置された、
請求項1に記載のオイルセパレータ。
【請求項3】
前記弁体が前記連通孔を覆うように、かつ、前記弁体を前記第1空間内の圧力に抗して付勢する付勢部材をさらに備えた、
請求項1に記載のオイルセパレータ。
【請求項4】
前記弁体は、前記軸方向に延びて前記第1空間に突出する筒状部を有する、
請求項1に記載のオイルセパレータ。
【請求項5】
前記噴射部は、高圧流体の噴射と共に前記ガスを吸引することにより、前記ガスを前記第1空間へ噴射する、
請求項1に記載のオイルセパレータ。
【請求項6】
前記筐体から排出された前記オイルが流入する第3空間を内部に形成したオイルドレーンをさらに備え、
前記オイルドレーンは、前記第3空間から前記ガスを前記噴射部へ供給する、
請求項1に記載のオイルセパレータ。
【請求項7】
前記筐体は、前記連通孔が形成された前記軸方向の一端部、及び、前記一端部に対して前記軸方向反対側の他端部を有し、
前記噴射部は前記一端部に接続され、
前記オイルドレーンは、前記他端部を包囲する、
請求項6に記載のオイルセパレータ。
【請求項8】
前記第2空間と前記第3空間とを連通する誘導路がさらに形成された、
請求項6または7に記載のオイルセパレータ。
【請求項9】
前記誘導路に設置された逆止弁をさらに備え、
前記逆止弁は、前記第3空間内の圧力が前記第2空間内の圧力以上の大きさである場合には前記誘導路を閉止する、
請求項8に記載のオイルセパレータ。
発明の詳細な説明
【技術分野】
【0001】
本発明は、オイルセパレータに関する。
続きを表示(約 1,700 文字)
【背景技術】
【0002】
処理対象ガスに含まれるミスト状オイルをガスから分離するオイルセパレータが知られている(特許文献1)。
【先行技術文献】
【特許文献】
【0003】
国際公開2009/037496号公報
【発明の概要】
【発明が解決しようとする課題】
【0004】
しかしながら、特許文献1に記載のオイルセパレータは、ミスト状オイルを含む処理対象ガスからオイルを分離する効率である分離効率が低い。
【0005】
そこで、本発明は、このような事情に鑑みてなされたものであり、分離効率が高いオイルセパレータを提供することを目的とする。
【課題を解決するための手段】
【0006】
以上の課題を解決するために、一態様として、軸方向に延びる筒状に形成された側壁を有し、前記側壁内の第1空間及び前記側壁外の第2空間が内部に形成された筐体であって、前記第1空間と前記第2空間とを連通させる連通孔が形成されるとともに前記第1空間及び前記第2空間の境界を形成する隔壁、を有する筐体と、前記筐体に接続され、前記第1空間へ前記側壁の周方向に前記ガスを噴射し、前記軸方向視において前記ガスを前記周方向に回転させる噴射部と、前記連通孔に設けられて前記第1空間と前記第2空間とを連通させる流路の開閉を行い、前記第2空間内の圧力に対する前記第1空間内の圧力が高いほど前記流路の開度を大きくする弁体と、前記流路に対向して配置され、通気性を有して前記オイルを捕集する捕集体と、を備えるオイルセパレータが提供される。
【発明の効果】
【0007】
本発明によれば、ミスト状オイルを含む処理対象ガスからオイルを分離する効率が高い。
【図面の簡単な説明】
【0008】
閉鎖型クランクケース換気システム1を示す概略図である。
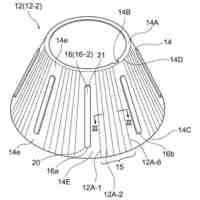
オイルセパレータ2の斜視図である。
オイルセパレータ2の鉛直断面を示す斜視図である。
(a)オイルセパレータ2の垂直断面図と、(b)(a)図におけるb部の拡大図である。
図4におけるV-V断面図である。
オイルセパレータ2における、噴射部を通る鉛直面による断面図である。
図6におけるVII部の拡大図である。
図4におけるVIII-VIII断面図である。
【発明を実施するための形態】
【0009】
以下、図面を参照して、本発明の実施形態について説明する。但し、以下に述べる実施形態には、本発明を実施するために技術的に好ましい種々の限定が付されているが、本発明の範囲を以下の実施形態及び図示例に限定するものではない。
【0010】
<閉鎖型クランクケース換気システムの概要>
図1は、閉鎖型クランクケース換気システム1(以下、換気システム1とする。)の概略図である。換気システム1は、オイルセパレータ2と、圧縮空気流路3と、排気ガス流路4と、オイル流路5と、ブリーザーパイプ6とを備える。オイルセパレータ2は、エンジン7から排出されたブローバイガス(ミスト状オイルを含有する)を処理し、オイルを分離する。圧縮空気流路3は、ターボチャージャー10で圧縮された空気をオイルセパレータ2へと供給する。排気ガス流路4は、エンジン7から排出されたブローバイガスをオイルセパレータ2へと供給する。オイル流路5は、オイルセパレータ2にて分離されたオイルをエンジン7へと戻す。ブリーザーパイプ6は、オイルセパレータ2から排出された処理後のブローバイガスを、エンジン7の吸気側流路8に還元する。具体的には、吸気側流路8におけるエアフィルタ9とターボチャージャー10とを接続する部分に還元される。還元された処理後のブローバイガスは、エアフィルタ9からの新鮮な空気と混合され、ターボチャージャー10で圧縮される。その後、チャージクーラー11で冷却されて、エンジン7に供給される。
(【0011】以降は省略されています)
この特許をJ-PlatPat(特許庁公式サイト)で参照する
関連特許
東京濾器株式会社
二酸化炭素吸着剤
4日前
東京濾器株式会社
オイルセパレータ
3か月前
巴工業株式会社
遠心分離装置
2か月前
個人
脱水システム及び脱水方法
4か月前
トミー工業株式会社
遠心分離機
2か月前
トミー工業株式会社
連続式遠心分離用ロータ
1か月前
東京濾器株式会社
オイルセパレータ
3か月前
東邦瓦斯株式会社
液状異物除去装置
4か月前
TMTマシナリー株式会社
繊維屑回収装置、及び仮撚加工機
5か月前
株式会社アーステクニカ
分離システム及び測定方法
4か月前
ワン チンフン
可変機構を備える遠心分離機
2か月前
住友金属鉱山株式会社
遠心分離装置の運転方法、遠心分離装置およびプログラム
2か月前
三菱化工機株式会社
遠心分離装置および分離板
24日前
株式会社ヨシダ鉄工
サイクロン式固液分離装置及びサイクロン式固液分離装置の残渣収容排出方法
5か月前
エフ ホフマン-ラ ロッシュ アクチェン ゲゼルシャフト
インサート、遠心分離機、分析機器
5か月前
あおい精機株式会社
遠心分離装置及び遠心分離方法
1か月前
株式会社ヨシダ鉄工
サイクロン式固液分離装置及びサイクロン式固液分離装置の残渣収容排出方法
16日前
東京応化工業株式会社
レジスト組成物、レジストパターン形成方法、化合物、及び酸発生剤
1か月前
東京応化工業株式会社
レジスト組成物、レジストパターン形成方法、化合物、及び酸発生剤
1か月前
武田薬品工業株式会社
切断高分子量キニノーゲンを検出するイムノアッセイ
5か月前
ベーアーエスエフ・エスエー
α,β-エチレン性不飽和カルボン酸塩を調製するための触媒法
1か月前
株式会社プロテイン・エクスプレス
抗SARS-CoV-2単ドメイン抗体
16日前
中外製薬株式会社
抗CD137抗原結合分子およびその使用
1か月前
中外製薬株式会社
癌の治療に用いるための抗CD137抗原結合分子
2か月前
他の特許を見る