TOP
|
特許
|
意匠
|
商標
特許ウォッチ
Twitter
他の特許を見る
10個以上の画像は省略されています。
公開番号
2025080773
公報種別
公開特許公報(A)
公開日
2025-05-26
出願番号
2024198262
出願日
2024-11-13
発明の名称
インサート、遠心分離機、分析機器
出願人
エフ ホフマン-ラ ロッシュ アクチェン ゲゼルシャフト
代理人
弁理士法人朝日奈特許事務所
主分類
B04B
15/00 20060101AFI20250519BHJP(物理的または化学的工程を行なうための遠心装置または機械)
要約
【課題】遠心分離機のロータ部材に意図せずに接触する任意の過剰なサンプル又は他の物質又はその流出物を収集し、遠心分離機の洗浄可能性を向上させることができるようにする、及び/又は除染を単純化する遠心分離機のインサートを提供する。
【解決手段】遠心分離機50のリングセグメント形状の隙間51は、遠心分離機50のロータ部材52とステータ部材53との間に形成され、ロータ部材52から遠心力で放出される流体を収集するように構成され、遠心分離機50から取り外し可能にリングセグメント形状の隙間51に挿入されるように構成されたインサート。
【選択図】図2
特許請求の範囲
【請求項1】
遠心分離機(50)のリングセグメント形状の隙間(51)に取り外し可能に挿入されるように構成されたインサート(1)であって、
前記リングセグメント形状の隙間(51)は、前記遠心分離機(50)のロータ部材(52)とステータ部材(53)との間に形成され、
前記インサート(1)は、前記ロータ部材(52)から遠心力で放出される流体を収集するように構成されている、インサート(1)。
続きを表示(約 1,400 文字)
【請求項2】
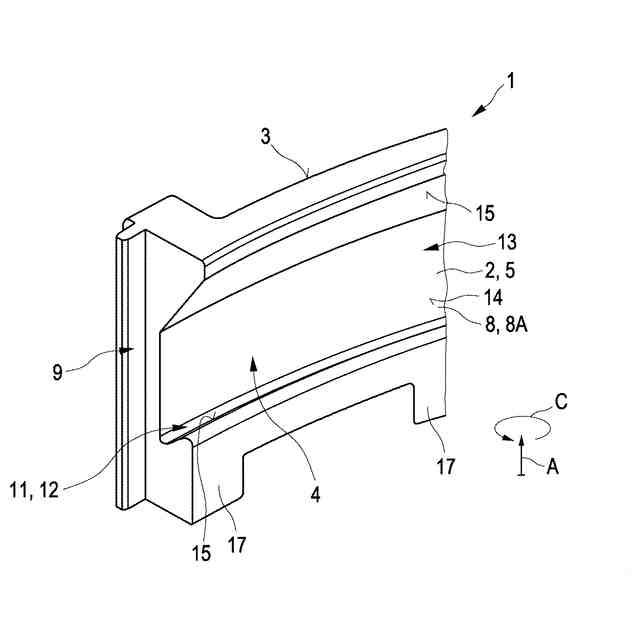
前記インサート(1)は、第1の端部(6)及び第2の端部(7)を有するリングセグメント(5)の形状を有し、
前記第1の端部(6)と前記第2の端部(7)とは、前記インサート(1)の周方向(C)に沿って互いに逆に、特に対向して、配置されることを特徴とする、請求項1に記載のインサート(1)。
【請求項3】
前記インサート(1)が少なくとも2つのリングセグメント(8,8A,8B)を有し、リングセグメントのそれぞれが前記インサート(1)の周方向(C)に沿って部分的に延在し、特に全てのリングセグメント(8,8A,8B)が等しいラジアン(L)を有し、
前記リングセグメント(8,8A,8B)が互いに着脱可能に接続されることを特徴とする、請求項1又は2に記載のインサート(1)。
【請求項4】
前記リングセグメント(8,8A,8B)は、該リングセグメント(8,8A,8B)を互いに着脱可能に接続するための、特に舌部-溝型の、相補的な接続輪郭部(9)を有し、特に、前記相補的な接続輪郭部(9)が前記インサート(1)のラビリンスシール(10)を形成することを特徴とする、請求項3に記載のインサート(1)。
【請求項5】
前記リングセグメント(8,8A,8B)は、磁気相互作用によって互いに着脱可能に接続可能であることを特徴とする、請求項3又は4に記載のインサート(1)。
【請求項6】
前記インサート(1)は、放出される流体のためのリザーバ(12)を形成する樋部(11)を有し、
前記樋部(11)は、少なくとも部分的に前記インサート(1)の周方向(C)に沿って延在することを特徴とする、請求項1から5のいずれか一項に記載のインサート(1)。
【請求項7】
前記インサート(1)は、放出される流体を収集するための溝(13)を有し、
前記溝(13)は、少なくとも部分的に前記インサート(1)の周方向(C)に沿って延在することを特徴とする、請求項1から6のいずれか一項に記載のインサート(1)。
【請求項8】
前記溝(13)は、前記インサート(1)の軸方向(A)に沿って延在する中央領域(14)を有し、
前記溝(13)は、前記軸方向(A)に沿って互いに対向するとともに前記中央領域(14)に合流する2つの肩領域(15)を有することを特徴とする、請求項7に記載のインサート(1)。
【請求項9】
前記インサート(1)は、前記インサート(1)の軸方向(A)に沿って互いに反対側に配置される2つの端面(16)を有し、
前記端面(16)の少なくとも一方は、前記軸方向(A)に沿って突出するとともに前記周方向(C)に沿って、特に等距離で、互いに離隔した複数のスペーサ部(17)を有することを特徴とする、請求項1から8のいずれか一項に記載のインサート(1)。
【請求項10】
前記インサート(1)は、特にその径方向外側部(3)に、前記ステータ部材(53)と着脱可能に係合するための、特にフック(19)を形成する、係合部(18)を有し、
特に、前記係合部(18)は、前記インサート(1)の第1の端部(6)及び第2の端部(7)にそれぞれ配置されることを特徴とする、請求項1から9のいずれか一項に記載のインサート(1)。
(【請求項11】以降は省略されています)
発明の詳細な説明
【技術分野】
【0001】
本発明は、遠心分離機のリングセグメント形状の隙間に取り外し可能に挿入されるように構成されたインサートに関する。更に、本発明は、そのようなインサートを有する遠心分離機、並びにそのような遠心分離機を有する分析機器に関する。
続きを表示(約 2,800 文字)
【背景技術】
【0002】
一般に、遠心分離機は、特に検査室環境内でサンプルを処理するために使用される。この遠心分離機において、遠心分離機のロータ部材に意図せずに接触する任意の過剰なサンプル又は他の物質又はその流出物は、遠心分離機が動作されるときにロータ部材から径方向に放出され、したがって遠心分離機のステータ部材を汚染する場合がある。
【発明の概要】
【0003】
本発明の目的は、特に検査室の遠心分離機のリングセグメント形状の隙間に取り外し可能に挿入されるように構成されたインサートを提供し、そのようなインサートを有する遠心分離機を提供し、そのような遠心分離機を備える分析機器を提供して、洗浄可能性を向上させることができるようにする、及び/又は除染を単純化することである。
【0004】
この目的は、独立請求項の主題によって解決される。好ましい実施形態が従属請求項の主題である。
【0005】
本発明に係るインサートは、遠心分離機のリングセグメント形状の隙間に取り外し可能に挿入されるように構成されている。好ましくは、前記遠心分離機は検査室環境内で使用され得る。遠心分離機は、ロータ部材とステータ部材とを有する。ロータ部材とステータ部材との間には、リングセグメント形状の隙間が形成される。特に、リングセグメント形状の隙間は、ロータ部材を取り囲み、ステータ部材によって取り囲まれる。リングセグメント形状の隙間は、ロータ部材の回転軸からロータ部材の外周よりも径方向に離れて配置され得る。ステータ部材は、回転軸からリングセグメント形状の隙間よりも径方向に離れて配置され得る。本文脈において、「リングセグメント」は、その周方向の周りに360°にわたって延びる閉じられたリングセグメント、又はその周方向の周りに360°未満にわたって延びる開いたリングセグメントであり得る。本発明に係るインサートは、ロータ部材から遠心力で放出される流体、特にサンプルの流出物又は過剰なサンプルを収集するように構成されている。好ましくは、流体は液体である又は液体を有する。当然のことながら、インサートは、これに加えて又は代えて、固体、例えば液体中に懸濁された粒子又は沈降物、又はロータ部材から遠心力で放出されるそのような懸濁物の乾燥から生じる固体を収集するように構成され得る。したがって、インサートは、特にロータ部材が回転軸の周りで回転されるときに、ロータ部材から遠心力で放出される任意の物質に対してステータ部材を少なくとも部分的に遮蔽することができる。インサートは、リングセグメント形状の隙間に取り外し可能に挿入されるように構成されているため、ロータ部材から遠心力で放出される流体及び/又は固体の収集後に、インサートがリングセグメント形状の隙間から取り外され得る。したがって、インサートをリングセグメント形状の隙間から取り外すことによって、特にステータ部材及び/又はリングセグメント形状の隙間の洗浄及び/又は除染を更に必要とせずに、インサートによって収集された前記流体及び/又は固体を遠心分離機から除去することができる。
【0006】
本発明の一実施形態によれば、インサートはリングセグメントの形状を有する。インサートは、閉じたリングの形状を有してもよく、装着方向に沿ってリングセグメント形状の隙間に取り外し可能に挿入されるようになっていてもよく、装着方向は、特に回転軸と略平行に延びる。好ましくは、リングセグメントの形状は、第1の端部及び第2の端部を有する。言い換えれば、インサートは、開いたリングセグメントの形状を有することができる。特に、第1の端部及び第2の端部は、インサートの周方向に沿って互いに逆に配置される。第1及び第2の端部は、周方向に沿って互いに対向して配置され得る。第1の端部と第2の端部とが周方向に沿って互いに対向している場合、リングセグメント形状のインサートは、周方向に沿って180°を超えて360°未満で延在することができる。好ましくは、リングセグメント形状のインサートは、周方向に沿って200°~300°、最も好ましくは220°~280°延在する。開放したリングセグメントの形状を有するインサートは、遠心分離機のリングセグメント形状の隙間内に特に容易に装着され得る。特に、開いたリング形状のインサートは、リングセグメント形状の隙間に接線方向で及び/又は周方向で取り外し可能に挿入され得る。
【0007】
本発明の他の実施形態によれば、インサートは、少なくとも2つのリングセグメント、特に開放した又は部分的なリングセグメントを備える。リングセグメントのそれぞれは、インサートの周方向に部分的に沿って延在する。好ましくは、インサートの全てのリングセグメントは等しいラジアンを有する。インサートの全てのリングセグメントは、実質的に類似又は等しい形状のポリマー本体を備えてもよい。この場合、リングセグメントは互いに着脱可能に接続される。したがって、インサートは、リングセグメント形状の隙間に挿入して、リングセグメント形状の隙間からパーツごとに取り外すことができる。換言すると:インサートのリングセグメントは、インサートをリングセグメント形状の隙間に挿入するために、リングセグメント形状の隙間内に次々に別々に配置及び/又は相互接続され得る。
【0008】
本発明の他の実施形態によれば、インサートのリングセグメントは、リングセグメントを互いに着脱可能に接続するための相補的な接続輪郭部を有する。接続輪郭部は、舌部-溝型となり得る。相補的な輪郭部は、インサートのラビリンスシールを形成することができる。ラビリンスシールは、インサートによって収集される流体が接続輪郭部間の継ぎ目を通じて特にステータ部材上へと径方向で流れること又は外側に移動することを妨げることができる。
【0009】
本発明の他の実施形態によれば、リングセグメントは、磁気相互作用によって互いに着脱可能に接続される。この場合、周方向で隣接する2つのリングセグメントはそれぞれ磁性要素を有してもよい。前記磁性要素の少なくとも1つを永久磁石とすることができる。前記磁性要素の他の1つは、強磁性要素となることができ、及び/又は強磁性材料から形成され得る。磁性要素は、リングセグメントの材料、特にポリマー材料中に埋め込むことができる。磁気相互作用による接続は、かなり低い装着力でインサートをバーツごとに装着できるようにする。
【0010】
互いに着脱可能に接続されると、リングセグメント間に径方向及び/又は軸方向及び/又は周方向の遊びが存在する場合がある。
(【0011】以降は省略されています)
この特許をJ-PlatPat(特許庁公式サイト)で参照する
関連特許
巴工業株式会社
遠心分離装置
2か月前
トミー工業株式会社
遠心分離機
2か月前
トミー工業株式会社
連続式遠心分離用ロータ
1か月前
東京濾器株式会社
オイルセパレータ
3か月前
ワン チンフン
可変機構を備える遠心分離機
3か月前
住友金属鉱山株式会社
遠心分離装置の運転方法、遠心分離装置およびプログラム
2か月前
三菱化工機株式会社
遠心分離装置および分離板
26日前
あおい精機株式会社
遠心分離装置及び遠心分離方法
1か月前
株式会社ヨシダ鉄工
サイクロン式固液分離装置及びサイクロン式固液分離装置の残渣収容排出方法
18日前
東京応化工業株式会社
レジスト組成物、レジストパターン形成方法、化合物、及び酸発生剤
1か月前
東京応化工業株式会社
レジスト組成物、レジストパターン形成方法、化合物、及び酸発生剤
1か月前
ベーアーエスエフ・エスエー
α,β-エチレン性不飽和カルボン酸塩を調製するための触媒法
1か月前
株式会社プロテイン・エクスプレス
抗SARS-CoV-2単ドメイン抗体
18日前
中外製薬株式会社
抗CD137抗原結合分子およびその使用
1か月前
中外製薬株式会社
癌の治療に用いるための抗CD137抗原結合分子
2か月前
他の特許を見る