TOP
|
特許
|
意匠
|
商標
特許ウォッチ
Twitter
他の特許を見る
公開番号
2025119930
公報種別
公開特許公報(A)
公開日
2025-08-15
出願番号
2024015065
出願日
2024-02-02
発明の名称
遠心分離装置
出願人
巴工業株式会社
代理人
個人
主分類
B04B
1/20 20060101AFI20250807BHJP(物理的または化学的工程を行なうための遠心装置または機械)
要約
【課題】シンプルな構成でギアボックスの過負荷防止を実現した遠心分離装置を提供する。
【解決手段】本発明の遠心分離装置は、ボウル、スクリューコンベア、ギアボックス、およびトルク制御装置を備えた遠心分離装置において、前記トルク制御装置は、前記ギアボックスのシャフトに固定接続したトルクアームと、遠心分離実行時は該トルクアームを保持して前記ギアボックスのシャフトが回転しないようにすると共に、前記ギアボックスに所定トルクの過負荷が発生すると前記シャフトの保持を解除して回転を許し、前記差速の発生を停止させるトルクレバーと、を備え、前記トルクアームと前記ギアボックスのシャフトとの接続部において、前記シャフトの外周面と該外周面を囲うベアリングとの間にブッシングを嵌合し、前記トルクアームと前記シャフトを該ブッシングで接続して一体に回転可能にした構成である。
【選択図】図1
特許請求の範囲
【請求項1】
回転して内部の処理液を固液分離するボウルと、前記ボウルと相対的な差速で回転し前記ボウル内の固形物を排出口に向けて搬送するスクリューコンベアと、前記ボウルと前記スクリューコンベアに前記差速を発生させるギアボックスと、前記ギアボックスのトルク制御装置と、を備えた遠心分離装置において、
前記トルク制御装置は、前記ギアボックスのシャフトに固定接続したトルクアームと、遠心分離実行時は該トルクアームを保持して前記ギアボックスのシャフトが回転しないようにすると共に、前記ギアボックスに所定トルクの過負荷が発生すると前記シャフトの保持を解除して回転を許し、前記差速の発生を停止させるトルクレバーと、を備え、
前記トルクアームと前記ギアボックスのシャフトとの接続部において、
前記シャフトの外周面と該外周面を囲うベアリングとの間にブッシングを嵌合し、前記トルクアームと前記シャフトを該ブッシングで接続して一体に回転可能にしたことを特徴とする遠心分離装置。
続きを表示(約 140 文字)
【請求項2】
前記ブッシングは、軸方向に沿って先端から基端側に拡径するテーパー部を備え、
前記シャフトの外周面と該外周面を囲うベアリングとの間に先端から軸方向に嵌合して前記ベアリングにテーパー部を密着させていることを特徴とする請求項1に記載の遠心分離装置。
発明の詳細な説明
【技術分野】
【0001】
本発明は、固形物を含む処理液を固液分離する遠心分離装置に関し、特に、ボウルとスクリューコンベアの差速を形成するギアボックスのトルク制御に関する。
続きを表示(約 2,400 文字)
【背景技術】
【0002】
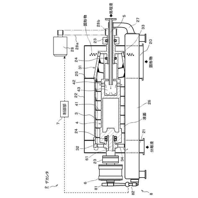
固形物を含む処理液を固液分離する装置として、デカンタと称される遠心分離装置が知られている。図8は、デカンタの基本構造を、概略的に示している。横型のデカンタ1は、水平軸廻りに回転するボウル11とスクリューコンベア12を備えている。なお、図示は省略するが、ボウル11とスクリューコンベア12が鉛直軸廻りに回転する竪型のデカンタも知られている。
【0003】
回転して内部の処理液を固液分離するボウル11は、一端側又は両端が円錐形状に形成された円筒形状体で構成されている。スクリューコンベア12は、ボウル11内で固液分離された固形物を搬送するスクリュー羽根12aを備える回転式搬送手段である。スクリューコンベア12は、回転中心軸線に沿って空洞になっており、処理液の供給ノズル13が、スクリューコンベア12と接触しないように僅かなクリアランスをもって挿入されている。供給ノズル13の先端から吐出される処理液は、スクリューコンベア12内の処理液室に供給され、遠心力の作用によって供給孔14から吐出され、ボウル11内に供給される。
【0004】
このような構成において、固形物を含む処理液を連続的にボウル11内に供給すると共に、ボウル11を所定の回転数で回転させると、遠心力の作用によりボウル11内にて処理液が固形相と液相とに分離される。固形物は、スクリューコンベア12によってボウル11の一端側に向けて搬送され、円錐形状となっている部分で液相から離脱し、固形物出口15を介して排出される。一方、液相(分離液)は、反対側の分離液出口16から溢流して排出される。
【0005】
ボウル11とスクリューコンベア12が同速で回転するとボウル11内の固形物を搬送できないので、ボウル11とスクリューコンベア12をギアボックスで連結して差速を発生させる。一般的には、モーターでボウル11を回転させ、ギアボックスを介してスクリューコンベア12を回転させる。スクリューコンベア12は、ギア比の設定等に対応する速度(差速)で回転する。係る構成の場合、ボウル11内の固形物の状態によってスクリューコンベア12の搬送トルクが増大すると、ギアボックスに過負荷が生じて内部のギアが破損等するおそれがある。その対策として、過負荷防止装置を設けることが知られている。しかしながら、既存の過負荷防止装置は、ギアボックスとの連結構造が複雑で部品点数が多いことが指摘されている(特に、特許文献1)。また、ギアボックス内に充填しているオイルが連結部分から漏れるおそれがある。
【先行技術文献】
【特許文献】
【0006】
特許第4808219号公報
中国実用新案登録CN217940513号公報
【発明の概要】
【発明が解決しようとする課題】
【0007】
本発明は、このような事情に基づいてなされたものであり、その目的は、シンプルな構成でギアボックスの過負荷防止を実現した遠心分離装置を提供することにある。
【課題を解決するための手段】
【0008】
本発明の要旨とするところは、以下の通りである。
(1)本発明は、回転して内部の処理液を固液分離するボウルと、前記ボウルと相対的な差速で回転し前記ボウル内の固形物を排出口に向けて搬送するスクリューコンベアと、前記ボウルと前記スクリューコンベアに前記差速を発生させるギアボックスと、前記ギアボックスのトルク制御装置と、を備えた遠心分離装置において、
前記トルク制御装置は、前記ギアボックスのシャフトに固定接続したトルクアームと、遠心分離実行時は該トルクアームを保持して前記ギアボックスのシャフトが回転しないようにすると共に、前記ギアボックスに所定トルクの過負荷が発生すると前記シャフトの保持を解除して回転を許し、前記差速の発生を停止させるトルクレバーと、を備え、
前記トルクアームと前記ギアボックスのシャフトとの接続部において、
前記シャフトの外周面と該外周面を囲うベアリングとの間にブッシングを嵌合し、前記トルクアームと前記シャフトを該ブッシングで接続して一体に回転可能にしたことを特徴とする。
(2)前記ブッシングは、軸方向に沿って先端から基端側に拡径するテーパー部を備え、前記シャフトの外周面と該外周面を囲うベアリングとの間に先端から軸方向に嵌合して前記ベアリングにテーパー部を密着させている。
【発明の効果】
【0009】
本発明によれば、ギアボックスのシャフトに固定接続したトルクアームと、遠心分離実行時は該トルクアームを保持してギアボックスのシャフトが回転しないようにすると共に、ギアボックスに所定トルクの過負荷が発生するとシャフトの保持を解除して回転を許し、差速の発生を停止させるトルクレバーと、を備えるトルク制御装置を設け、トルクアームと前記ギアボックスのシャフトとの接続部において、シャフトの外周面と該外周面を囲うベアリングとの間にブッシングを嵌合し、トルクアームとシャフトを該ブッシングで接続して一体に回転可能にしたことにより、シンプルな構成でギアボックスの過負荷防止を実現することができる。
【0010】
さらにシャフトの外周面と該外周面を囲うベアリングとの間にブッシングを嵌合させたことで、シャフトの回転軸を正常な位置に保持できる。その結果、ギアボックス内のオイルが漏れるのを防ぐことができる。この効果は、ブッシングにテーパー部を設けることで更に高めることができる。
【図面の簡単な説明】
(【0011】以降は省略されています)
この特許をJ-PlatPat(特許庁公式サイト)で参照する
関連特許
巴工業株式会社
遠心分離装置
3か月前
巴工業株式会社
遠心分離装置
3か月前
トミー工業株式会社
遠心分離機
3か月前
トミー工業株式会社
連続式遠心分離用ロータ
2か月前
鋭澤實業股分有限公司
集塵装置
4日前
東京濾器株式会社
オイルセパレータ
4か月前
有限会社ケイ・シン
固液分離装置
4日前
ワン チンフン
可変機構を備える遠心分離機
4か月前
住友金属鉱山株式会社
遠心分離装置の運転方法、遠心分離装置およびプログラム
3か月前
三菱化工機株式会社
遠心分離装置および分離板
2か月前
あおい精機株式会社
遠心分離装置及び遠心分離方法
3か月前
株式会社ヨシダ鉄工
サイクロン式固液分離装置及びサイクロン式固液分離装置の残渣収容排出方法
1か月前
中国科学院過程工程研究所
循環風量適応制御高効率除塵装置
4日前
ジーイーエー メカニカル イクイップメント ゲゼルシャフト ミット ベシュレンクテル ハフツング
遠心分離機及び遠心分離機を作動させる方法
21日前
東京応化工業株式会社
レジスト組成物、レジストパターン形成方法、化合物、及び酸発生剤
2か月前
東京応化工業株式会社
レジスト組成物、レジストパターン形成方法、化合物、及び酸発生剤
2か月前
ベーアーエスエフ・エスエー
α,β-エチレン性不飽和カルボン酸塩を調製するための触媒法
2か月前
株式会社プロテイン・エクスプレス
抗SARS-CoV-2単ドメイン抗体
1か月前
中外製薬株式会社
抗CD137抗原結合分子およびその使用
2か月前
中外製薬株式会社
癌の治療に用いるための抗CD137抗原結合分子
3か月前
他の特許を見る