TOP
|
特許
|
意匠
|
商標
特許ウォッチ
Twitter
他の特許を見る
公開番号
2025178089
公報種別
公開特許公報(A)
公開日
2025-12-05
出願番号
2025008839
出願日
2025-01-22
発明の名称
循環風量適応制御高効率除塵装置
出願人
中国科学院過程工程研究所
,
INSTITUTE OF PROCESS ENGINEERING,CHINESE ACADEMY OF SCIENCES
代理人
弁理士法人R&C
主分類
B04C
3/04 20060101AFI20251128BHJP(物理的または化学的工程を行なうための遠心装置または機械)
要約
【課題】循環風量適応制御高効率除塵装置を提供する。
【解決手段】マルチサイクロンを含み、その内部には複数のチャンバが設けられ、複数のチャンバが併設され、気流方向に平行であり、チャンバの吸気端に入口調節弁5が設けられ、チャンバの排気端に出口調節弁7が設けられ、入口調節弁5に入口アクチュエータ4が電気的に接続され、出口調節弁7に出口調節器が電気的に接続され、風速計2はマルチサイクロンの吸気ダクトに設けられ、吸気ダクト内の排ガスの風速を監視し、風速計2、入口調節器及び出口調節器はすべてコントロールセンター3に電気的に接続され、風速計2は風速データをコントロールセンター3に転送し、ここで、コントロールセンター3は、複数のチャンバの開度をそれぞれ調節するように、得られた風速データに基づいて、入口調節器を介して入口調節弁5を制御し、出口調節器を介して出口調節弁7を制御する。
【選択図】図1
特許請求の範囲
【請求項1】
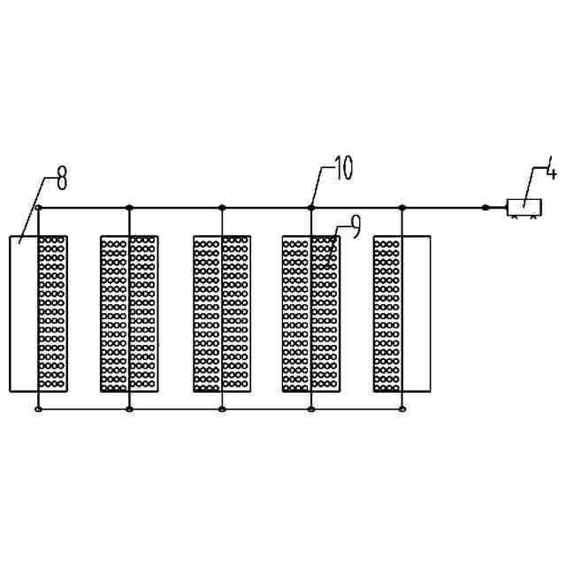
内部に複数のチャンバが設けられ、複数の前記チャンバが併設され、気流方向に平行であり、前記チャンバの吸気端に入口調節弁(5)が設けられ、前記チャンバの排気端に出口調節弁(7)が設けられ、前記入口調節弁(5)に入口アクチュエータ(4)が電気的に接続され、前記出口調節弁(7)に出口調節器が電気的に接続されたマルチサイクロン(1)と、
前記マルチサイクロン(1)の吸気ダクトに設けられ、前記吸気ダクト内の排ガスの風速を監視するための風速計(2)と、
コントロールセンター(3)とを含み、前記風速計(2)、前記入口アクチュエータ(4)及び前記出口調節器はすべて前記コントロールセンター(3)に電気的に接続され、前記風速計(2)は風速データをコントロールセンター(3)に転送し、
ここで、前記コントロールセンター(3)は、複数の前記チャンバの開度をそれぞれ調節するように、得られた風速データに基づいて、前記入口アクチュエータ(4)を介して前記入口調節弁(5)を制御し、出口調節器を介して前記出口調節弁(7)を制御し、前記入口調節弁(5)は、
間隔をあけて設けられ、前記チャンバが間隔と連通し、排ガスが間隔を通って前記チャンバ内に入ることを可能にする複数のバルブプレート(8)と、
スピンドル(10)とを含み、複数の前記バルブプレート(8)の軸線位置には、それぞれ前記スピンドル(10)が設けられ、前記スピンドル(10)は前記バルブプレート(8)を回転駆動するために使用され、前記スピンドル(10)は前記入口アクチュエータ(4)に電気的に接続され、
ここで、両端に位置する前記バルブプレート(8)の内側には、複数のガイド孔(9)からなるガイド孔グループが開設され、
中央に位置する前記バルブプレート(8)の両側にはそれぞれ前記ガイド孔グループが開設され、隣接する2つの前記ガイド孔グループの上の前記ガイド孔(9)は、隣接する2つの前記バルブプレート(8)が当接すると前記チャンバが閉鎖されるように非対称に設けられていること、を特徴とする循環風量適応制御高効率除塵装置。
続きを表示(約 460 文字)
【請求項2】
前記ガイド孔(9)の断面は円形に設定されていること、を特徴とする請求項1に記載の循環風量適応制御高効率除塵装置。
【請求項3】
前記バルブプレート(8)の開孔率は30%~50%であること、を特徴とする請求項1に記載の循環風量適応制御高効率除塵装置。
【請求項4】
前記バルブプレート(8)の長さは2つの前記スピンドル(10)間のシャフト間距離の2倍であること、を特徴とする請求項1に記載の循環風量適応制御高効率除塵装置。
【請求項5】
前記風速計(2)は前記吸気ダクトの直管部にあること、を特徴とする請求項1に記載の循環風量適応制御高効率除塵装置。
【請求項6】
前記風速計(2)の監視端は前記吸気ダクトの軸線上にあること、を特徴とする請求項1に記載の循環風量適応制御高効率除塵装置。
【請求項7】
前記入口調節弁(5)は、前記出口調節弁(7)と同じ構造であること、を特徴とする請求項1に記載の循環風量適応制御高効率除塵装置。
発明の詳細な説明
【技術分野】
【0001】
本発明は冶金業界の除塵技術分野に関し、特に循環風量適応制御高効率除塵装置に関する。
続きを表示(約 2,100 文字)
【背景技術】
【0002】
鉄鋼焼結工程の排ガス量が膨大で、汚染物の対策コストが高い。排ガス循環技術を採用することで、一部の排ガスの循環利用を実現することができ、それによって汚染物処理設備で取り扱う排ガス量を削減し、汚染防止コストを低減することができる。排ガスの循環中に循環排ガス中の粉塵を除去する必要がある。一方、大きな粒子を除去してファンインペラを保護し、摩耗や損傷を減少させ、その除塵効率は80%以上を要求する。一方、微細粉塵が焼結材料表面に戻るのを減少させ、微細粉塵が材料表面の孔道を塞いで生産に影響を与えないようにし、その除塵効率は高ければ高いほどよい。以上の要求を総合して、排ガスの循環において通常マルチサイクロンを選択し、その運行コストが低く、安定してメンテナンスしやすく、設計除塵効率は一般的に80~95%の間にあり、しかも循環排ガスの200℃~350℃の高温に耐えることができ、排ガス循環システムの最適な除塵方案である。
【0003】
マルチサイクロンの除塵効率はろ過風速の影響を受け、設計風速の範囲内では、集塵器サイクロンは高い除塵効率を実現できるが、設計風速より低い範囲内ではサイクロンが微粒子を効率よく捕集できず、除塵効率が低下する。排ガス循環システムは焼結生産の変動の影響を受け、風量の変動が大きいため、マルチサイクロンは長時間効率的な除塵範囲内に安定できず、ファンインペラを損傷しやすく焼結生産に影響を与えやすい。
【0004】
上記の問題に対する一般的な解決策としては、重力除塵+マルチサイクロン除塵、サイクロン集塵器+マルチサイクロン除塵など、複数の集塵器を直列に接続する方法がある。複数の集塵器を直列に接続することで除塵効率をある程度高めることができるが、同時に投資コストが増加し、設置面積が増加する。もう一つのアイデアは、空気や除塵後の循環排ガスを補充することで、入口風量を増やして設計したろ過風速に合わせることである。この解決策は排ガスの循環率を低下させると同時に、循環排ガスの一部の空転をもたらし、エネルギーを浪費する。したがって、循環風量の変動に適応でき、低コストで効率的な除塵装置の開発が急務である。
【発明の概要】
【発明が解決しようとする課題】
【0005】
本発明の目的は、従来技術の問題点を解決するために、循環風量適応制御高効率除塵装置を提供することである。
【課題を解決するための手段】
【0006】
上記目的を達成するため、本発明は、以下のスキームを提供する。本発明は、循環風量適応制御高効率除塵装置を提供し、
内部に複数のチャンバが設けられ、複数の前記チャンバが併設され、気流方向に平行であり、前記チャンバの吸気端に入口調節弁が設けられ、前記チャンバの排気端に出口調節弁が設けられ、前記入口調節弁に入口アクチュエータが電気的に接続され、前記出口調節弁に出口調節器が電気的に接続されたマルチサイクロンと、
前記マルチサイクロンの吸気ダクトに設けられ、前記吸気ダクト内の排ガスの風速を監視するための風速計と、
コントロールセンターとを含み、前記風速計、前記入口調節器及び前記出口調節器はすべて前記コントロールセンターに電気的に接続され、前記風速計は風速データをコントロールセンターに転送し、
ここで、前記コントロールセンターは、複数の前記チャンバの開度をそれぞれ調節するように、得られた風速データに基づいて、前記入口調節器を介して前記入口調節弁を制御し、出口調節器を介して前記出口調節弁を制御する。
【0007】
好ましくは、前記入口調節弁は、
間隔をあけて設けられ、前記チャンバが間隔と連通し、排ガスが間隔を通って前記チャンバ内に入ることを可能にする複数のバルブプレートと、
スピンドルとを含み、複数の前記バルブプレートの軸線位置には、それぞれ前記スピンドルが設けられ、前記回転シャフトは前記バルブプレートを回転駆動するために使用され、前記回転シャフトは前記入口アクチュエータに電気的に接続され、
ここで、
両端に位置する前記バルブプレートの内側には、複数のガイド孔からなるガイド孔グループが開設され、
中央に位置する前記バルブプレートの両側にはそれぞれ前記ガイド孔グループが開設され、隣接する2つの前記ガイド孔グループの上の前記ガイド孔は、隣接する2つの前記バルブプレートが当接すると前記チャンバが閉鎖されるように非対称に設けられている。
【0008】
好ましくは、前記ガイド孔の断面は円形に設定されている。
【0009】
好ましくは、前記バルブプレートの開孔率は30%~50%である。
【0010】
好ましくは、前記バルブプレートの長さは2つの前記スピンドル間のシャフト間距離の2倍である。
(【0011】以降は省略されています)
この特許をJ-PlatPat(特許庁公式サイト)で参照する
関連特許
他の特許を見る