TOP
|
特許
|
意匠
|
商標
特許ウォッチ
Twitter
他の特許を見る
公開番号
2025143702
公報種別
公開特許公報(A)
公開日
2025-10-02
出願番号
2024043069
出願日
2024-03-19
発明の名称
コンベヤベルトの接合構造及びコンベヤベルト
出願人
バンドー化学株式会社
代理人
弁理士法人藤本パートナーズ
主分類
B65G
15/30 20060101AFI20250925BHJP(運搬;包装;貯蔵;薄板状または線条材料の取扱い)
要約
【課題】本発明は、引張強度に優れるコンベヤベルトの接合構造を課題とする。
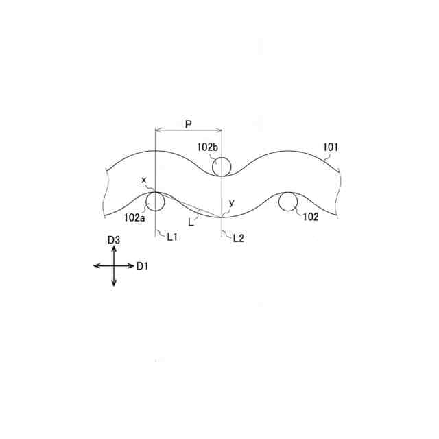
【解決手段】前記接合構造は、オーバーラップ構造であり、ベルト長さ方向に延びる経糸とベルト幅方向に延びる緯糸とで構成された帆布を含む芯体層を備え、ベルト長さ方向と平行し且つベルト幅方向に直交する前記帆布の断面において、隣り合う前記緯糸の中心を通り且つ前記帆布の厚み方向に延びる2つの直線で領域を区画し、一方の前記緯糸で曲げられて形成された前記経糸の第1の湾曲部の前記厚み方向における最も内側に位置する点と、他方の前記緯糸で曲げられて形成された前記経糸の第2の湾曲部の前記厚み方向における最も外側に位置する点とを結ぶ線分の長さをDとし、前記緯糸のピッチをPとしたときに、D/P×100により算出される前記経糸の伸長率が2.20%以上である。
【選択図】図1
特許請求の範囲
【請求項1】
コンベヤベルトの接合構造であって、
前記接合構造は、帆布を含む帯状部材の端部領域どうしが接合された接合領域を前記コンベヤベルトに形成し、前記接合領域における前記帆布の積層数が前記コンベヤベルトにおける前記接合領域以外の非接合領域における前記帆布の積層数よりも多くなるように前記帯状部材の前記帆布どうしがベルト厚み方向に重ね合わせられた状態で接合されたオーバーラップ構造であり、
前記帆布は、ベルト長さ方向に延びる経糸と、ベルト幅方向に延びる緯糸とで構成された織物であり、
前記ベルト長さ方向と平行し且つ前記ベルト幅方向に直交する前記帆布の断面において、隣り合う前記緯糸の中心を通り且つ前記帆布の厚み方向に延びる2つの直線で領域を区画し、一方の前記緯糸で曲げられて形成された前記経糸の第1の湾曲部の前記厚み方向における最も内側に位置する点と、他方の前記緯糸で曲げられて形成された前記経糸の第2の湾曲部の前記厚み方向における最も外側に位置する点とを結ぶ線分の長さをDとし、前記緯糸のピッチをPとしたときに、D/P×100により算出される前記経糸の伸長率が2.20%以上である、コンベヤベルトの接合構造。
続きを表示(約 280 文字)
【請求項2】
前記経糸がポリエステル系繊維で形成されている、請求項1に記載のコンベヤベルトの接合構造。
【請求項3】
前記経糸の繊度が2,000dtex以上5,000dtex以下であり、
前記緯糸の繊度が1,500dtex以上3,000dtex以下である、請求項1又は2に記載のコンベヤベルトの接合構造。
【請求項4】
前記緯糸の密度が5cmあたり15本以上30本以下である、請求項1又は2に記載のコンベヤベルトの接合構造。
【請求項5】
請求項1又は2に記載の接合構造を備える、コンベヤベルト。
発明の詳細な説明
【技術分野】
【0001】
本発明は、コンベヤベルトの接合構造、及び該接合構造を備えるコンベヤベルトに関する。
続きを表示(約 1,800 文字)
【背景技術】
【0002】
一般に、搬送装置に組み込まれたコンベヤベルトは、1または複数の帯状部材の端部どうしが接合されて一つにつながった無端状とされている。コンベヤベルトの接合構造としては、突合せ(ステップ)構造、オーバーラップ構造、及びフィンガー構造などが知られている(特許文献1)。
【0003】
搬送装置において駆動プーリ及び従動プーリに巻きかけられて走行するコンベヤベルトには、常時、長さ方向における張力が作用する。よって、コンベヤベルトの接合構造の設計においては、長さ方向における引張強度が考慮される。
【0004】
例えば、突合せ構造は、各帯状部材が備える帆布の端部どうしを対向させた状態で接合された構造である。突合せ構造における帆布の積層数は、接合前の帯状部材における帆布の積層数と同じとされる。かかる突合せ構造は、引張強度は低いものの、プーリにおける屈曲性に優れるため、低負荷、高安全率の用途に好適とされている。従来、コンベヤベルトにおける突合せ構造からなる接合領域は、帆布の積層数をNとした場合の該接合領域以外の非接合領域に対する引張強度の比率がN/(N+1)%程度となることが知られており、積層数2の場合は、非接合領域に対する接合領域の引張強度の比率が50%程度となる。
【0005】
一方、オーバーラップ構造は、各帯状部材が備える帆布どうしをベルト厚み方向に重ね合わせた状態で接合された構造である。オーバーラップ構造における帆布の積層数は、接合前の帯状部材における帆布の積層数よりも多くされる。かかるオーバーラップ構造は、プーリにおける屈曲性に劣るものの、引張強度が高いため、高負荷、低安全率の用途に好適とされている。従来、コンベヤベルトにおけるオーバーラップ構造からなる接合領域は、帆布の積層数に依存せず、該接合領域以外の非接合領域に対して、引張強度において大差なく、約100%と認識されている。
【先行技術文献】
【特許文献】
【0006】
特開2012-232843号公報
【発明の概要】
【発明が解決しようとする課題】
【0007】
しかしながら、本発明者らは、オーバーラップ構造で形成された接合領域であっても、接合領域の引張強度が非接合領域に対して大きく低下する場合があるという知見を得た。例えば、コンベヤベルトの仕様によって、接合領域における引張強度が不十分となるおそれがある。また、接合時の条件によって、接合領域における引張強度が不十分となるおそれがある。
【0008】
上記事情に鑑み、本発明は、引張強度に優れるコンベヤベルトの接合構造、及び接合領域における引張強度に優れるコンベヤベルトを提供することを課題とする。
【課題を解決するための手段】
【0009】
本発明に係るコンベヤベルトの接合構造は、帆布を含む帯状部材の端部領域どうしが接合された接合領域を前記コンベヤベルトに形成し、前記接合領域における前記帆布の積層数が前記コンベヤベルトにおける前記接合領域以外の非接合領域における前記帆布の積層数よりも多くなるように前記帯状部材の前記帆布どうしがベルト厚み方向に重ね合わせられた状態で接合されたオーバーラップ構造であり、
前記帆布は、ベルト長さ方向に延びる経糸と、ベルト幅方向に延びる緯糸とで構成された織物であり、
前記ベルト長さ方向と平行し且つ前記ベルト幅方向に直交する前記帆布の断面において、隣り合う前記緯糸の中心を通り且つ前記帆布の厚み方向に延びる2つの直線で領域を区画し、一方の前記緯糸で曲げられて形成された前記経糸の第1の湾曲部の前記厚み方向における最も内側に位置する点と、他方の前記緯糸で曲げられて形成された前記経糸の第2の湾曲部の前記厚み方向における最も外側に位置する点とを結ぶ線分の長さをDとし、前記緯糸のピッチをPとしたときに、D/P×100により算出される前記経糸の伸長率が2.20%以上である。
【0010】
かかる接合構造は、上記経糸が2.20%以上の伸長率の分、長さ方向に伸縮して張力を吸収し得るため、引張強度に優れるものとなる。
(【0011】以降は省略されています)
この特許をJ-PlatPat(特許庁公式サイト)で参照する
関連特許
バンドー化学株式会社
リザーブタンク
1か月前
バンドー化学株式会社
パイプコンベヤベルト
5日前
バンドー化学株式会社
ワイパーブレードラバー
4日前
バンドー化学株式会社
ワイパーブレードラバー
4日前
バンドー化学株式会社
ワイパーブレードラバー
4日前
バンドー化学株式会社
コンベヤベルトの接合構造及びコンベヤベルト
5日前
バンドー化学株式会社
摩擦伝動ベルト用ゴム組成物、及び摩擦伝動ベルト
4日前
バンドー化学株式会社
粘着フィルム及び粘着フィルムの製造方法
1か月前
個人
箱
12か月前
個人
ゴミ箱
11か月前
個人
収容箱
2か月前
個人
コンベア
4か月前
個人
段ボール箱
6か月前
個人
容器
8か月前
個人
ゴミ収集器
6か月前
個人
段ボール箱
6か月前
個人
楽ちんハンド
4か月前
個人
土嚢運搬器具
7か月前
個人
バンド
1か月前
個人
角筒状構造体
4か月前
個人
パウチ補助具
11か月前
個人
宅配システム
6か月前
個人
閉塞装置
9か月前
個人
コード類収納具
7か月前
個人
お薬の締結装置
5か月前
個人
廃棄物収容容器
2か月前
個人
包装容器
18日前
個人
ゴミ処理機
8か月前
個人
把手付米袋
3か月前
個人
蓋閉止構造
3か月前
株式会社和気
包装用箱
8か月前
個人
蓋閉止構造
3か月前
株式会社コロナ
梱包材
4か月前
個人
貯蔵サイロ
6か月前
個人
積み重ね用補助具
2か月前
個人
袋入り即席麺
6か月前
続きを見る
他の特許を見る