TOP
|
特許
|
意匠
|
商標
特許ウォッチ
Twitter
他の特許を見る
公開番号
2025146123
公報種別
公開特許公報(A)
公開日
2025-10-03
出願番号
2024046741
出願日
2024-03-22
発明の名称
ワイパーブレードラバー
出願人
バンドー化学株式会社
,
株式会社デンソー
,
株式会社デンソーワイパシステムズ
代理人
弁理士法人前田特許事務所
主分類
B60S
1/38 20060101AFI20250926BHJP(車両一般)
要約
【課題】払拭性及び耐久性が優れるワイパーブレードラバーを提供する。
【解決手段】ワイパーブレードラバー10は、他部材の表面に接触して摺動する接触摺動部121を含む接触摺動部121の表層がグラファイトコート層121bで構成されているとともに、グラファイトコート層121bの厚さが3μm以上7μm以下であり、かつ、グラファイトコート層121bの表面の算術平均高さが1.5μm以下である。
【選択図】図1
特許請求の範囲
【請求項1】
他部材の表面に接触して摺動する接触摺動部を含むワイパーブレードラバーであって、
前記接触摺動部の表層がグラファイトコート層で構成されているとともに、前記グラファイトコート層の厚さが3μm以上7μm以下であり、かつ、前記グラファイトコート層の表面の算術平均高さが1.5μm以下であるワイパーブレードラバー。
続きを表示(約 370 文字)
【請求項2】
請求項1に記載されたワイパーブレードラバーにおいて、
前記グラファイトコート層の厚さの表面の算術平均高さに対する比が3.5以上6以下であるワイパーブレードラバー。
【請求項3】
請求項1に記載されたワイパーブレードラバーにおいて、
前記グラファイトコート層は、グラファイトがバインダーを介して結合した薄膜層で構成されているワイパーブレードラバー。
【請求項4】
請求項3に記載されたワイパーブレードラバーにおいて、
前記バインダーが熱硬化性樹脂であるワイパーブレードラバー。
【請求項5】
請求項1に記載されたワイパーブレードラバーにおいて、
前記グラファイトコート層を除いた部分が架橋ゴム組成物で形成されているワイパーブレードラバー。
発明の詳細な説明
【技術分野】
【0001】
本発明は、ワイパーブレードラバーに関する。
続きを表示(約 1,300 文字)
【背景技術】
【0002】
自動車用のワイパーブレードラバーとして、フロントガラスとの接触摺動部であるリップ部がグラファイトコート層で被覆されたものが知られている。例えば特許文献1には、リップ部がポリウレタン樹脂をバインダーとするグラファイトコート層で被覆されたワイパーブレードラバーが開示されている。
【先行技術文献】
【特許文献】
【0003】
特許第3821634号公報
【発明の概要】
【発明が解決しようとする課題】
【0004】
本発明の課題は、払拭性及び耐久性が優れるワイパーブレードラバーを提供することである。
【課題を解決するための手段】
【0005】
本発明は、他部材の表面に接触して摺動する接触摺動部を含むワイパーブレードラバーであって、前記接触摺動部の表層がグラファイトコート層で構成されているとともに、前記グラファイトコート層の厚さが3μm以上7μm以下であり、かつ、前記グラファイトコート層の表面の算術平均高さが1.5μm以下である。
【発明の効果】
【0006】
本発明によれば、接触摺動部の表層を構成するグラファイトコート層の厚さが3μm以上7μm以下及び表面の算術平均高さが1.5μm以下であることにより、優れた払拭性及び耐久性を得ることができる。
【図面の簡単な説明】
【0007】
実施形態に係るワイパーブレードラバーの一片の斜視図である
実施形態に係るワイパーブレードラバーの製造方法についての第1の説明図である。
実施形態に係るワイパーブレードラバーの製造方法についての第2の説明図である。
実施形態に係るワイパーブレードラバーの製造方法についての第3の説明図である。
【発明を実施するための形態】
【0008】
以下、実施形態について詳細に説明する。
【0009】
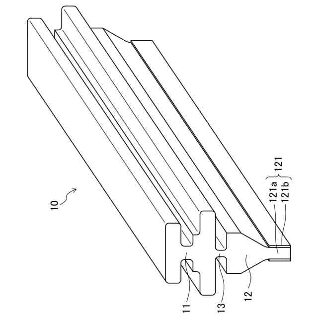
図1は、実施形態に係るワイパーブレードラバー10を示す。このワイパーブレードラバー10は、概略平板状の細長いゴム部品であって、幅方向の一方側に取付保持部11が設けられているとともに、幅方向の他方側にリップ部12が設けられており、かつ、それらの取付保持部11及びリップ部12を繋ぐようにネック部13が設けられている。リップ部12におけるネック部13側とは反対側の薄肉状部分は、接触摺動部121に構成されている。この接触摺動部121は、厚さ方向の中央部分の本体部121aと、その本体部121aの両側のそれぞれを被覆するグラファイトコート層121bとを有する。したがって、接触摺動部121は、その両側の表層がグラファイトコート層121bで構成されている。
【0010】
実施形態に係るワイパーブレードラバー10は、取付保持部11が例えば自動車のフロントガラスの下側に設けられたワイパー駆動部のバーティブラに取り付け保持され、ワイパー駆動部が駆動したとき、リップ部12がネック部13を支点として傾倒するとともに接触摺動部121が他部材であるフロントガラスの表面に接触して摺動することにより雨等を払拭する。
(【0011】以降は省略されています)
この特許をJ-PlatPat(特許庁公式サイト)で参照する
関連特許
バンドー化学株式会社
ワイパーブレードラバー及びその製造方法
2日前
バンドー化学株式会社
伝動ベルト
4日前
バンドー化学株式会社
2アーム式オートテンショナ用ストッパ、それを備えた2アーム式オートテンショナ、及び2アーム式オートテンショナ用ストッパの成形方法
2日前
個人
タイヤレバー
4か月前
個人
前輪キャスター
3か月前
個人
上部一体型自動車
1か月前
個人
ルーフ付きトライク
3か月前
個人
空間形成装置
1か月前
個人
タイヤ脱落防止構造
3か月前
日本精機株式会社
表示装置
3か月前
個人
マスタシリンダ
2か月前
日本精機株式会社
表示装置
4か月前
個人
車両通過構造物
4か月前
日本精機株式会社
表示装置
4か月前
日本精機株式会社
表示装置
4か月前
日本精機株式会社
照明装置
26日前
個人
乗合路線バスの客室装置
4か月前
個人
常設収納型サンバイザー
1か月前
株式会社豊田自動織機
産業車両
26日前
株式会社豊田自動織機
産業車両
3か月前
株式会社ニフコ
照明装置
3か月前
日本精機株式会社
車載表示装置
1か月前
日本精機株式会社
車載表示装置
2か月前
個人
回転窓ワイパー装置
1か月前
個人
円湾曲ホイール及び球体輪
4か月前
日本精機株式会社
車室演出装置
3か月前
個人
音声ガイド、音声サービス
4か月前
株式会社ニフコ
収納装置
2か月前
日本精機株式会社
車載表示装置
1か月前
日本精機株式会社
画像投映装置
1か月前
日本精機株式会社
車載表示装置
1か月前
日本無線株式会社
取付金具
4か月前
日本精機株式会社
車両用報知装置
1か月前
日本精機株式会社
車両用投影装置
2か月前
極東開発工業株式会社
車両
4か月前
日本精機株式会社
車両用表示装置
3か月前
続きを見る
他の特許を見る